Компрессор Краз-6510, 65055
Компрессор поршневого типа, непрямоточный, двухцилиндровый, одноступенчатый, приводится в действие с помощью ремня от шкива вентилятора. Компрессор предназначен для питания пневмосистемы автомобиля сжатым воздухом.
Технические параметры компрессора Краз-65055, 6510
Число цилиндров — 2
Диаметр цилиндров, мм — 72
Ход поршня, мм — 38
Рабочий объем, см3 — 310
Частота вращения, мин1 — 2200
Подача компрессора при 2000 мин»1 и противодавлении 0,75 МПа (7,5 кгс/см2), л/мин — 320
Масса, кг — 19
Для снятия компрессора отпустить болтнатяжитель натяжного устройства и снять ремень. Отвернуть штуцеры и отсоединить трубопроводы, отсоединить воздухопровод подвода воздуха. Отвернуть болты крепления и снять компрессор с автомобиля.
Разборка компрессора Краз-6510, 65101, 65055

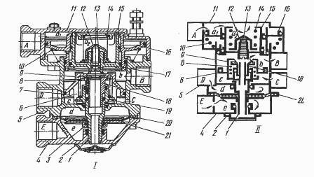
Рис. 47. Компрессор Краз-65055, 6510
1-шкив; 2-гайка; 3-шпонка; 4-цилиндр; 5-поршень с шатуном в сборе; 6-плита; 7-головка компрессора; 8-картер; 9-крышка задняя; 10-пружина уплотнителя крышки; 11, 14-подшипники; 12-крышка транспортная; 13-коленчатый вал; 15-крышка передняя
Разборку компрессора проводить в следующем порядке:
Закрепить компрессор в тисках.
Расшплинтовать и отвернуть гайку 2 с шайбой крепления (рис.47) шкива. Снять шкив 1 с помощью пресса и выбить сегментную шпонку из паза.
Вывернуть пробки нагнетательных клапанов, извлечь пружины и клапаны. Квадратным ключом 10×10 мм вывернуть седла клапанов.
Отвернуть гайки шпилек крепления головки компрессора, и осторожно, предварительно отделив прокладку, снять головку 7 блока.
Вынуть из гнезда в блоке пружины и впускные клапаны.
Отвернуть болты и снять патрубок подвода воздуха.
Расшплинтовать и отвернуть гайки болтов крепления крышек шатунов. Снять крышки и вынуть поршни 5 с шатунами из блока цилиндров. Закрепить крышки шатуна. Шатун, крышку и шатунные болты не разукомплектовывать.
Снять поршневые кольца, выбить палец и отсоединить поршни от шатунов.
Отвернуть болты и снять переднюю 15 и заднюю 9 крышки картера.
Вынуть уплотнитель задней крышки с пружиной.
Выбить коленчатый вал 13 из картера 8, с передним подшипником 14 через гнездо переднего подшипника в блоке и с помощью пресса снять передний подшипник с коленчатого вала.
Извлечь стопорное кольцо заднего подшипника и выпрессовать задний подшипник из блока.
Извлечь манжету из гнезда передней крышки.
Отсоединить блок цилиндров от картера 8, отвернуть гайки шпилек, осторожно отделив прокладку.
Детали компрессора промыть, продуть сжатым воздухом и проверить их техническое состояние.
Ускорительный тормозной клапан Краз-6510, 65055
Ускорительный клапан (рис.48) предназначен для подачи сжатого воздуха и затормаживания колес среднего моста при торможении автомобиля рабочей тормозной системой.

Рис. 48. Ускорительный клапан тормозов Краз-65101, 65055
1 — верхний корпус; 2 — поршень; 3, 4 — кольца уплотнительные; 5 — корпус клапана; 6 — пружина; 7 — нижний корпус; 8 — атмосферный вывод; 9 — направляющий колпачок; 10 — упорное кольцо; 11 — выпускной клапан
Вывод А соединен с выводом В перепускного двухмагистрального клапана; С — с выводом четырехконтурного защитного клапана; В — с полостями тормозных камер среднего моста.
Работа ускорительного клапана тормозов Краз-6510, 65055
При отсутствии давления воздуха в выводе А поршень 2 находится в крайнем верхнем положении, впускной клапан 11 закрыт под действием усилия пружины 6, а полости тормозных камер среднего моста сообщены с атмосферой через вывод 8.
При торможении автомобиля рабочей тормозной системой давление сжатого воздуха от верхней и нижней секций тормозного крана подводится через перепускной двухмагистральный клапан 23 к выводу А ускорительного клапана.
Поршень 2 перемещается вниз и перекрывает отверстие, сообщающееся с атмосферой, и открывает клапан 11.
Сжатый воздух, проходя от четырехконтурного защитного клапана через вывод С и открытый клапан 11, заполняет полости тормозных камер среднего моста, подсоединенных к выводу В — происходит торможение.
При отсутствии торможения сжатый воздух из полости над поршнем 2 через двухмагистральный перепускной клапан и атмосферный вывод двухсекционного тормозного крана выпускается в атмосферу.
Поршень 2, перемещаясь вверх, открывает сообщение с атмосферой вывода В, а впускной клапан 11 под действием усилия пружины 6 закрывается и разобщает выводы С и В — автомобиль растормаживается.
Клапан тормозов перепускной двухмагистральный Краз-65101, 65055
Один клапан предназначен для обеспечения подачи сжатого воздуха к ускорительному клапану от двух независимых магистралей секций двухсекционного тормозного крана одновременно или от каждой в отдельности.

Рис. 49. Двухмагистральный перепускной тормозной клапан Краз-65055, 6510
1 — корпус; 2 — мембрана; 3 — крышка; А — к ускорительному клапану; В — к полостям тормозных камер; С — к пневматическому крану
Работа двухмагистрального перепускного клапана
При подводе воздуха к полостям А и С от секций тормозного крана мембрана 2, занимая промежуточное положение, обеспечивает пропуск воздуха в полость В.
В случае снижения давления воздуха в одной из подводящих магистралей мембрана перекрывает поврежденную магистраль (А или С) и обеспечивает поступление воздуха в полость В от исправной магистрали.
Второй клапан 23 расположен на выходе из ресивера контура потребителей и имеет аналогичное значение.
Тормозной кран Краз-6510, 65055 обратного действия с ручным управлением
Предназначен для управления тормозной системой прицепа. Кран (рис.50) установлен на каркасе сиденья водителя с левой стороны.

Рис. 50. Кран тормозной Краз-6510, 65055 обратного действия с ручным управлением
1, 16, 39 — кольцо упорное; 2, 3, 13, 20, 29 — пружина; 4, — шайба опорная; 5, 14, 28 — кольцо О.-образное; 6 — корпус клапана; 7, 8, 10, 19, 24, 25, 26, 34, 36, 41, 42 — шайба; 9 — тарелка пружины; 11 — кольцо клапана; 12 — поршень; 15, 33 — направляющая; 17 — шток; 18 — колпачок направляющий; 21 — рукоятка; 22 — крышка; 23, 30, 40 — штифт; 27 — винт; 31 — кольцо; 32 — ролик; 35 — корпус крана в сборе; 37 — втулка; 38 — стопор; 43 — корпус
К выводу А постоянно подводится сжатый воздух от ресивера контура потребителей через разобщительный кран. В исходном положении сжатый воздух из вывода А через накладное отверстие в корпусе и сверление в поршне 12 проходит в вывод С и далее к клапану управления тормозной системой прицепа с двухпроводным приводом.
При этом сжатый воздух к головке типа «Палм» управляющей магистрали не поступает. При перемещении рукоятки 21 в верхнее положение полости А и С разобщаются.
В этом положении рукоятки 21 сжатый воздух от клапана управления тормозной системой прицепа с двухпроводным приводом поступает к соединительной головке типа «Палм» управляющей магистрали — происходит торможение прицепа (полуприцепа).
Для растормаживания прицепа рукоятку 21 тормозного крана установить в исходное нижнее положение.
Управление тормозной системой прицепа осуществляется с помощью крана управления, установленного с левой стороны каркаса сиденья водителя.
Кран обратного действия, управляет пневматическими тормозными аппаратами, работающими на выпуске воздуха.
Для снятия крана отсоединить трубопроводы и отвернуть гайки болтов крепления.
Разборку тормозного крана Краз-6510, 65055 обратного действия с ручным управлением производить в следующем порядке:
Отвернуть винты крепления и снять крышку 22 (см. рис.50) в сборе с рукояткой 21, снять пружину 20.
Поднять шток 17, вынуть штифт, снять шайбу 19 и колпачок 18 направляющей.
Сжав пружины, снять упорное кольцо, вынуть шток 17 в сборе с направляющей штока 15 и пружиной 13.
Вынуть поршень 12 в сборе и разобрать его, сняв упорное кольцо и вынув пружину, упорную шайбу, клапан 6 и кольцо клапана.
После разборки детали обезжирить и промыть в горячей воде.
Сборку тормозного крана производить в последовательности, обратной разборке, в условиях, исключающих попадание пыли и грязи с учетом следующего:
— Перед сборкой трущиеся поверхности деталей крана смазать тонким слоем смазки.
— Повреждение резиновых деталей при сборке не допускается.
Клапан управления тормозами прицепа Краз-65055, 6510 с двухпроводным приводом
Управление тормозами прицепа (полуприцепа) осуществляется с помощью клапана управления тормозами прицепа с двухпроводным приводом.
Клапан управления тормозами прицепа с двухпроводным приводом имеет 5 выводов. Вывод А (рис.51) соединен с нижней секцией тормозного крана, вывод С — с воздушным ресивером прицепа, вывод D — с краном управления стояночной тормозной системы прицепа, вывод В — с соединительной головкой управляющей магистрали двухпроводного привода тормозов прицепа и выводом А клапана управления тормозами прицепа с однопроводным приводом, вывод Е — с верхней секцией тормозного крана рабочих тормозов.

Рис. 51. Клапан управления тормозами прицепа Краз-65101, 6510, 65055 с двухпроводным приводом
1 — нижний поршень; 2 — выпускное отверстие; 3 — гайка; 4 — нижний корпус; 5 — средний корпус; 6 — средний поршень; 7 — уплотнительное кольцо; 8 — пружина клапана; 9 — тарелка пружины; 10 — пружина верхнего большого поршня; 11 — верхний корпус; 12 — тарелка пружины; 13 — регулировочный винт; 14 — пружина верхнего малого поршня; 15 — верхний малый поршень; 16 — верхний большой поршень; 17 — упорное кольцо; 18 — клапан; 19 — упорное кольцо; 20 — диафрагма; 21 — шайба диафрагмы, I — исходное положение; II — положение при рабочем торможении
При рабочем торможении сжатый воздух от соответствующей секции тормозного крана подводится к выводам А и Е клапана. Сжатый воздух, подведенный к выводу А, перемещает поршни 15 и 16 вниз, сжимая при этом пружину 10, упирается седлом поршня 15 в клапан 18, разобщая полость «В» с атмосферой, и открывает его, сообщая полость «с» с полостью «В».
При этом сжатый воздух проходит в управляющую магистраль прицепа и затормаживает его с интенсивностью, пропорциональной давлению воздуха, подведенному к полости А клапана.
В случае выхода из строя контура рабочих тормозов переднего и среднего мостов, управление тормозами прицепа будет осуществляться от контура тормозов заднего моста через вывод Е.
При отпущенной педали тормоза давление в полостях «d» и «с» одинаковое, клапан 18 сообщает полость «с» с полостью «В», происходит торможение прицепа.
При стояночном или запасном торможении сжатый воздух из вывода D выходит в атмосферу через кран управления стояночной тормозной системой.
Поршень 6 вследствие разности давлений в полостях «с» и «d» перемещается вверх вместе с клапаном 18. Клапан упирается в седло малого поршня 15 и сообщает полость «с» с полостью «В». Сжатый воздух поступает в управляющую магистраль прицепа (полуприцепа) и затормаживает его.
Возможные неисправности в пневмосистеме автомобиля Краз-6510, 65101, 65055
При определении возможных неисправностей в пневмосистеме прежде всего необходимо найти неисправный контур и установить в нем причину, вызвавшую отклонения от нормальной работы пневмопривода.
На аварийное падение давления воздуха в ресиверах контуров тормозов указывают контрольные лампочки на панели приборов. Утечка воздуха в трубопроводах и соединениях проверяется на слух или с помощью мыльной пены, наносимой кистью на проверяемое соединение.
Падение давления сжатого воздуха в ресиверах тормозов при неработающем компрессоре не должно быть более 0,05 МПа (0,5 кгс/см2) от значения нижнего предела, определяемого регулятором давления, в течение: 30 минут при свободном положении органа управления; 15 минут после полного приведения в действие органов управления тормозного привода.
Для устранения утечек воздуха в соединениях допускается применение герметиков.
Регулятор давления воздуха должен обеспечить выключение компрессора при достижении давления, равного 0,8 МПа (8 кгс/см2), и включение компрессора при давлении 0,65 МПа (6,5 кгс/см2).
Тормозная система должна обеспечивать давление воздуха 0,65 — 0,8 МПа (6,5 — 8,0 кгс/см2) в управляющей магистрали двухпроводного привода прицепа.
При плавном приложении усилия к тормозной педали должно обеспечиваться плавное нарастание давления в каждом из контуров рабочих тормозов.
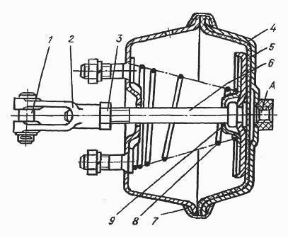
Тормозные камеры Краз-6510, 65055
Тормозные камеры предназначены для передачи усилия на регулировочные рычаги и приведения в действие тормозных механизмов колес передней оси. Устройство тормозной камеры колес передней оси показано на рис.52.

Рис. 52. Камера тормозная Краз-6510, 65055
1 — палец; 2 — вилка; 3 — гайка; 4 — крышка; 5 — мембрана; 6 — шток; 7 — хомут; 8 — пружина; 9 — стакан; А — вывод
Снятие и разборка тормозной камеры Краз-6510, Краз-65101, 65055
Для снятия тормозной камеры отсоединить шланг подвода воздуха, расшплинтовать и вынуть палец 1 (см. рис.52), отвернуть гайки крепления тормозной камеры к кронштейну и снять камеру.
Отвернуть на полтора-два оборота гайку 3, затем вывернуть вилку 2 и гайку 3. Отвернуть гайки болтов хомута 7 и снять хомут. Снять крышку 4, извлечь мембрану 5, пружину 8, стакан 9, шток 6 в сборе с диском.
Сборку и установку камеры производить в последовательности, обратной разборке.
Гайки хомута 7 затянуть моментом силы 0,6 — 1,2 Нм (0,06 — 0,12 кг/см). Гайку 3 — моментом силы 65 — 80 Нм (6,5 — 8 кг/см).
Собранную тормозную камеру испытать на герметичность при давлении воздуха 0,735 МПа (7,35 кгс/см2). При указанном давлении утечка воздуха не должна превышать 4 см3/мин. Произвести несколько раз впуск и выпуск сжатым воздухом из камеры.
При заполнении воздухом тормозной камеры через вывод А шток 6 должен выдвигаться, а при выпуске воздуха — четко возвращаться в исходное положение. Перемещение штока должно быть свободным, без заеданий.
Влагомаслоотделитель с регулятором давления Краз-6510, 65055
Влагомаслоотделитель с регулятором давления предназначен для выделения влаги из сжатого воздуха, автоматического ее слива, а также для регулирования давления сжатого воздуха в заданных пределах. Устройство влагомаслоотделителя показано на рис.53.

Рис. 53. Влагомаслоотделитель Краз-6510, 65101, 65055
1,12 — болт; 2 — планка; 3 — кронштейн; 4, 13, 30 — гайка; 5 — кольцо; 6 — трубка; 7 — кольцо; 8 — пробка; 9 — крышка; 10, 29 — шайба; 11 — пыльник; 14 — болт регулировочный; 15 — шайба; 16 — пружина; 17 — клапан; 18 — корпус наружный; 19 — влагомаслоотделитель с регулятором давления; 20 — О-образное кольцо; 21 — поршень; 22 — кольцо; 23 — шток; 24 — шайба; 25 — пружина; 26 — окно; 27 -клапан; 28 — корпус клапана; 31 — конус; 32 — клапан; 33 — упор; 34 — пружина; 35 — гильза; 36 — пружина; 37 — пружина; 38 — тарелка пружины; 39 — корпус внутренний, 40 — уплотнитель; 41 — О-образное кольцо; 42 — О- образное кольцо; 43 — поршень; 44 — О-образное кольцо; 45 — прокладка
Разборка влагомаслоотделителя с регулятором давления
Для снятия его отсоединить воздухопроводы и отвернуть болты крепления.
Вывернуть четыре болта 12 и снять крышку 9.
Снять прокладку 45 и О-образное кольцо 44.
Снять тарелку пружины 38.
Последовательно вынуть пружины 36, 37, гильзу 35, пружину 34, упор 33, клапан 32.
Снять поршень 43 с кольцами 41, 42.
Снять уплотнитель 40.
Снять внутренний корпус 39 из наружного корпуса 18.
Отвернуть гайку 30.
Последовательно вынуть из корпуса 18: кольцо 20, поршень 21, кольцо 22, шток 23, шайбу 24, пружину 25; окно 26, клапан 27, корпус клапана 28.
После разборки детали необходимо обезжирить и промыть в горячей воде.
Сборку необходимо производить в последовательности, обратной разборке, в условиях, исключающих попадание пыли и грязи, с учетом следующего:
— перед сборкой следует смазать трущиеся поверхности деталей тонким слоем смазки;
— поврежденные резиновые детали заменить новыми.
Защитный четырехконтурный тормозной клапан Краз-6510, 65055
Защитный четырехконтурный клапан тормозов (рис.54) предназначен для разделения контуров пневмопривода и автоматического отключения поврежденного контура с целью сохранения и поддержания заданного давления в исправных контурах.

Рис. 54. Защитный четырехконтурный клапан системы тормоза Краз-6510, 65055
1 — корпус; 2 — шплинт-проволока; 3 — шайба; 4 — клапан; 5 — втулка; 6 — седло; 7 — О-образное кольцо; 8 — поршень; 9 — прокладка; 10 — пружина; 11 — крышка; 12 — болт; 13 — шайба уплотнительная; 14 — шайба регулировочная; 15 — поршень; 16 — пружина клапана; 17 — направляющая
Техническая характеристика четырехконтурного клапана
Конструктивный тип клапана — поршневой
Рабочее давление, МПа (кгс/см2) — 0,65-0,8 (6,5 — 8,0)
Давление начала наполнения через дроссель контуров потребителей, МПа (кгс/см2) — 0,25 (2,5)
Давление открытия клапанов рабочих контуров, МПа (кгс/см2) — 0,55 (5,5)
Давление, поддерживаемое компрессором в исправных контурах при неисправности любого контура, МПа (кгс/см2), не менее — 0,68 (6,8)
Давление закрытия клапанов, МПа (кгс/см ), не менее — 0,5
Снятие четырехконтурного защитного клапана с автомобиля производится в такой последовательности:
— Отвернуть накидные гайки трубок всех четырех контуров.
— Отвернуть и снять клапан с ресивера.
Вымыть клапан в дизельном топливе или в керосине и продуть сжатым воздухом. Произвести наружный осмотр клапана, повреждение резьбы не допускается.
Разборка четырехконтурного защитного клапана тормозов производится в такой последовательности:
Зажать клапан в тисках или другом приспособлении.
Отвернуть болт 12 и снять крышку 11.
Снять четыре пружины 10.
Вынуть четыре поршня 8 и 15.
Осмотреть кольца 7 поршней.
Осмотреть седла 6 клапанов.
Поврежденные кольца 7 заменить новыми, поврежденные (растресканные) седла 6 заменить. Сборку клапана произвести в порядке, обратном разборке.
