Передняя подвеска автомобиля Краз-255, 257
Чаще всего неисправностями передней подвески вызывающими необходимость проведения текущего ремонта, являются:
— погнутость балки передней оси;
— износ посадочных мест под шкворни в балке;
— износ шкворней и втулок;
— поломка листов рессор и обрыв центровых болтов;
— износ шеек под подшипниками на поворотных цапфах;
— разрушение резиновых подушек рессор;
— отказ в работе амортизаторов.
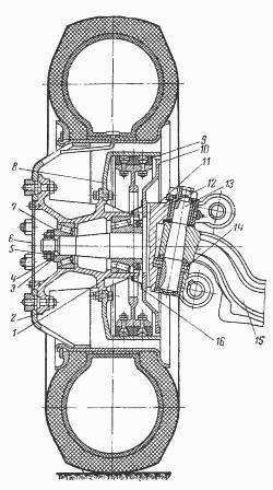
Снятие и разборка передней подвески Краз
Переднюю ось (подвеску) в сборе с рессорами, рулевыми тягами и ступицами снимают в следующей последовательности:

Рис. 11. Передняя подвеска Краз-255, 257
1 —-рама автомобиля; 2 — передний кронштейн рессоры; 3— амортизатор; 4 — задний кронштейн рессоры; 5 — подушка рессоры; 6 — крышка заднего кронштейна: 7 — рессора; 8 — стремянки; 9 — накладка рессоры; 10— крышка переднего кронштейна
Снять крышки 6 и 10 (рис. 11) передних рессор.
Отвернуть гайки шаровых пальцев и отъединить продольные рулевые тяги от ведущего рычага рулевого механизма и двуплечего рычага усилителя рулевого управления.
Отъединить и снять амортизаторы 3. Отъединить воздушные тормозные шланги.
Поднять раму автомобиля подъемным устройством на высоту, позволяющую выкатить переднюю ось в сборе. Поставить под переднюю часть рамы козлы. Снять колеса со ступиц.
Порядок разборки передней оси Краз
Отъединить стремянки 8 и снять рессоры 7. Снять продольные и поперечные рулевые тяги. Отвернуть гайки крепления поворотных рычагов и снять поворотные рычаги рулевой трапеции.

Рис. 12. Передняя ось и ступица переднего колеса Краз-255, 257
1— внутренний подшипник ступицы; 2 — ступица; 3—гайка; 4 — замковая шайба; 5 —контргайка; в — крышка ступицы; 7 — наружный подшипник ступицы; 8 — тормозной барабан; 9 — тормозная колодка; 10 — тормозной диск; 11 — сальник; 12 — поворотная цапфа; 13 — шкворень поворотной цапфы; 14 — упорный подшипник поворотной цапфы; 15—балка передней оси; 16 — маслоотражатель
Снять крышки 6 (рис. 12) ступиц и отвернуть контргайки 5. Снять шайбы контргаек, замковые шайбы 4 и отвернуть гайки 3.
Снять ступицы 2 в сборе с тормозными барабанами 8. При необходимости снять тормозные барабаны.
Отъединить и снять тормозные цилиндры и регулировочные рычаги.
Снять тормозные колодки, предварительно освободив их от стяжных пружин и сняв стопоры осей
Снять тормозные диски, предварительно отвернув болты их крепления. Выпрессовать шкворни, предварительно отвернув гайки.
Снять поворотные цапфы 12.
Ремонт деталей передней подвески Краз
Балку передней оси (подвеску) следует править в холодном состоянии под прессом. Стрела прогиба балки в горизонтальной плоскости на длине между серединами площадок рессор допускается не более +3 мм.
Изношенные отверстия оси под головку центрового болта рессоры заваривают и сверлят новые диаметром 21 мм.
При длительной эксплуатации возможен износ отверстий под шкворни в балке моста Краз.
Износ может наступить и раньше, если в период эксплуатации нет должного контроля за степенью затяжки гаек шкворней. Такой износ восстанавливают ремонтом отверстия в балке и установкой нового шкворня и втулок.
Как правило, изношенные детали шкворневой группы подлежат замене.
Характерными дефектами поворотных цапф подвески являются:
— износ отверстий под втулки шкворня, износ шеек под подшипниками ступицы, износ отверстий под рычаги рулевой трапеции и срыв резьбы на хвостовике.
Втулки шкворня поворотной цапфы подлежат замене при зазоре в сопряжении со шкворнем более 0,1 мм.
Запрессованные в поворотную цапфу ремонтные втулки обрабатывают и калибруют разверткой до размера, соответствующего подготовленному для замены шкворню.
Порядок выполнения работ:
В одну из шеек поворотной цапфы запрессовать бронзовую втулку, а во вторую установить направляющую втулку.
Износ шпоночного паза в отверстии поворотной цапфы допускается до 12,3 мм по ширине.
Допускается износ внутренних поверхностей ушек поворотных цапф под головку балки передней оси до размера 124,0 мм.
Лопнувшие листы и листы, имеющие трещины, следует заменить.
Перед сборкой рессоры смазать листы графитной смазкой. Допускается для смазки листов применять смесь масел, состоящую из солидола, нигрола и графита.
При сборке рессор Краз выполнять следующие требования:
Головки заклепок крепления чашек не должны выступать над поверхностью листов.
Зазор между плоскостями чашек и листов не должен превышать 1,5 мм;
После затяжки гайки стяжного болта и болтов хомутов резьбу на болтах раскернить.
При нагрузке 2000 кг прогиб рессоры от свободного состояния должен быть в пределах 85±8 мм.
При установке рессоры в кронштейны болты крышек затягивать с выпрямленной рессорой.
Тяги рулевой трапеции Краз-255
Дефектами тяг трапеции могут быть:
— износ шаровых пальцев и их сухарей, поломки пружин сухарей, износ отверстий в рулевых тягах в месте прохода шарового пальца.
Допустимый без ремонта диаметр отверстия под шаровой палец в продольной рулевой тяге — 40,5 мм (номинальный— 38,5 мм).
Погнутости тяг устраняют правкой. Срыв резьбы под наконечники тяг устраняют наплавкой и последующей обработкой под номинальный размер.
Изношенные детали шарниров рулевых тяг, как правило, заменяют новыми.
При сборке тяг рулевой трапеции Краз полости наконечников наполнить солидолом. Сухарь пальца должен свободно перемещаться в отверстии наконечника.
Опорную пяту завернуть до отказа, а затем отвернуть до положения, при котором возможна установка болта опорной пяты. Шаровой палец должен качаться от руки.
При отпущенных стяжных болтах на тягу должны свободно навертываться наконечники.
После сборки и установки рулевых тяг трапецию отрегулировать.
Ступицы передних колес автомобиля Краз
В ступицах после длительной эксплуатации могут появиться трещины на ребрах жесткости или поломка шпилек колес.
Обычно эти дефекты являются следствием систематических перегрузок автомобиля и отсутствием контроля за состоянием крепления передних колес.
При обнаружении этих дефектов ступицу и шпильки немедленно заменить.
Эксплуатировать автомобиль с трещинами в ступицах запрещается.
Сборка передней подвески Краз
Установить и закрепить в поворотных цапфах рычаги рулевой трапеции.
Установить на балку передней оси Краз-255, Краз-257 поворотные цапфы, для чего:
установить шайбу со сферической поверхностью, упорный подшипник 14 (см. рис. 2), регулировочные шайбы толщиной 0,15 и 0,3 мм, шкворень 13 и стальную распорную втулку в верхнюю бобышку поворотной цапфы:
— проверить зазор между верхней бобышкой поворотной цапфы и балкой. Зазор должен быть не более 0,2 мм. При большем зазоре добавить регулировочные шайбы;
— установить уплотнительное кольцо шкворня, защитную шайбу уплотнительного кольца, замковую шайбу гайки, навернуть и затянуть гайку шкворня, отогнуть замковую шайбу на грань гайки;
— установить в нижнюю бобышку поворотной цапфы заглушку и раскернить ее.
Установить продольную рулевую тягу, для чего:
— на шаровые пальцы тяги установить сальники, крышки и пружины сальников;
— соединить шаровые пальцы тяги с поворотными рычагами, затянуть и зашплинтовать гайки шаровых пальцев.
Установить тормозные диски 10 и маслоотражатели 16, тормозные колодки 9, оси тормозных колодок, разжимные кулаки и стяжные пружины колодок.
Собрать и установить ступицы, для чего:
— запрессовать наружные обоймы внутренних подшипников 1, установить в них подшипники и запрессовать сальники 11 ступицы; запрессовать наружные обоймы наружных подшипников 7;
— наполнить внутренние полости ступиц солидолом и смазать подшипники, установить ступицы на оси поворотных цапф;
— установить наружные подшипники 7 и отрегулировать их.
Установить передние колеса и отрегулировать их схождение.
Снятие и разборка задней подвески автомобиля Краз
Для снятия задней подвески с рессорами и ведущими мостами необходимо:
— отъединить промежуточный карданный вал и карданный вал среднего моста Краз;
— отъединить трубопроводы пневматической системы тормозов среднего и заднего мостов и тройника на четвертой поперечине рамы;
— отъединить верхние реактивные штанги от кронштейнов на четвертой поперечине рамы.
Связать освободившиеся концы реактивных штанг проволокой для удобства выкатывания тележки из-под автомобиля;
— отвернуть болты крепления кронштейнов оси балансиров;
— поднять заднюю часть рамы и выкатить заднюю тележку вместе с мостами;
— установить на козлы заднюю часть рамы автомобиля.

Рис. 13. Задняя подвеска автомобиля Краз-255,257
1— рама автомобиля; 2 — ведущие мосты; 3— верхние реактивные штанги; 4 — центровой болт рессоры; 5 — кронштейн реактивной штанги; 6— накладка рессоры; 7— рессора; 8 — нижние реактивные штанги; 9 — кронштейн оси балансиров; 10 — балансир; 11 — стремянка рессоры; 12— гайка стремянки; 13 — пробка; 14 — контргайка балансира; 15 — замковая шайба контргайки; 16 — крышка балансира; 17 — ось балансира; 18 — замковая шайба гайки; 19— ганка балансира; 20 — пробка наконечника реактивной штанги; 21 — амортизационная шайба; 22 и 23 — сухари шарового пальца; 24 — шаровой палец; 25—уплотнитель шарового пальца: 26 — гайка; 27 — уплотнительное кольцо балансира; 28 — упорное кольцо балансира; 29—
стяжная шпилька балансира
Заднюю тележку разбирают в следующей последовательности:
Ослабить стяжные шпильки 29 (рис. 13) щек балансиров и отвернуть гайки стремянок.
Поддерживая ось балансиров подъемным устройством, с тем чтобы она не упала, снять стремянки рессор и рессоры.
Отвернуть гайки шаровых пальцев, снять реактивные штанги и откатить ведущие мосты.
Снять крышки 16 балансиров, отогнуть замковые шайбы 15, отвернуть контргайки 14, снять замковые шайбы 15 и 18, отвернуть гайки 19 и снять балансиры 10.
Для снятия ступиц задних колес необходимо:
— отвернуть гайки крепления колес и снять колеса;
— отвернуть гайки фланцев полуосей, снять пружинные шайбы и при помощи отжимных болтов отделить фланцы, снять прокладки и вынуть полуоси;
— отвернуть контргайки подшипников ступицы, снять замковые шайбы, отвернуть гайки и снять ступицы вместе с тормозными барабанами;
— при необходимости выпрессовать наружные кольца подшипников ступицы.
Для выпрессовки колец подшипников необходимо отвернуть гайки крепления тормозного барабана и отделить тормозной барабан от ступицы, предварительно нанеся метки на барабане и ступице.
Тормозные барабаны и ступицы разукомплектовывать не следует;
— вынуть маслоотражатель и сальник;
— удалить смазку из внутренней полости ступицы и упереть захват съемника в торец снимаемого кольца через имеющиеся в упорном бурте ступицы вырезы;
— вставить в отверстие захвата винт съемника, надеть на него упорную скобу и шайбу и, вращая вороток, выпрессовать кольцо;
— аналогичную операцию повторить и со вторым кольцом.
Возможные неисправности задней подвески Краз:
— поломка и трещины листов рессор;
— износ коренных листов в зоне контакта со сферическими подушками мостов;
— обрыв центрового болта и поломка хомутов;
— срыв резьбы на стремянках и трещины стремянок;
— поломки щек балансиров в зоне отверстий под шпильки;
— ослабление и обрыв болтов крепления кронштейнов оси балансирной подвески;
— износ шарниров реактивных штанг;
— поломка или износ пружинных шайб сухарей шаровых пальцев;
— срыв резьбы на оси подвески;
— трещины кронштейнов оси балансирной подвески;
— поломки кронштейнов реактивных штанг, установленных на четвертой поперечине рамы;
— износ втулок балансиров;
— течь масла через уплотнительные кольца балансиров.
Ремонт и сборка задней подвески автомобилей Краз
Листы рессор, имеющие трещины или выработку от сопрягаемого листа более 1 мм, следует браковать.
При наличии трещин и незначительного износа листы задних рессор могут быть переделаны на более короткие и использованы для сборки рессор.
Листы рессор проверяют на радиус кривизны и при необходимости рихтуют. Изношенные нижние коренные листы меняют местами со вторыми коренными листами.
Стремянки, имеющие трещины или срыв резьбы, заменяют, а трещины накладок рессор заваривают и зачищают. Подкладки рессор, износившиеся на 2/3 своей толщины, заменяют новым.
При сборке рессоры Краз необходимо соблюдать следующие требования:
Прилегание рабочих концов листов обязательно.
Каждую рессору задней подвески после сборки подвергают осадке на подвижных опорах до прогиба 150 мм от свободного состояния (под нагрузкой 20 900 кг). Рессора, подвергнутая осадке, не должна давать остаточных деформаций от нагрузки 7000 кг.
После затяжки гаек резьбовые концы болтов хомутов и центровых болтов раскернить или расклепать.
Хомуты рессор не должны препятствовать свободному перемещению листов во время работы рессоры.
Смещение листов рессоры задней подвески по ширине по отношению к первому листу допускается не более 2,5 мм.
Втулка балансиров, сальники балансиров, шаровые пальцы и сухари реактивных штанг, наконечники реактивных штанг, упругие пружины или резиновые шайбы шаровых пальцев, изношенные в процессе эксплуатации, подлежат замене новыми.
Трещины сварки в местах приварки оси балансирной подвески к кронштейнам подвески не являются браковочным признаком и могут быть устранены дополнительной сваркой в местах трещин.
При сборке балансира задней подвески Краз-255, 257 с осью необходимо соблюдать следующую последовательность:
Установить на ось упорное кольцо балансира, а в выточку упорного кольца — уплотнительное кольцо.
Запрессовать в балансир втулку, используя пресс и специальную оправку.
Ось и втулки балансира смазать автотракторным трансмиссионным маслом н установить балансир на ось.
Установить гайку балансира и затянуть ее так, чтобы балансир проворачивался на оси от небольшого усилия руки без ощутимого продольного люфта.
Установить замковую шайбу так, чтобы ее отверстие совпало со штифтом гайки.
Установить замковую шайбу контргайки выступом в отверстие замковой шайбы гайки.
Затянуть до отказа контргайку и застопорить ее отгибанием края шайбы на грань гайки.
При сборке реактивных штанг задней подвески необходимо выполнить следующие требования:
Гнездо наконечника реактивной штанги перед установкой в него пальца наполнить солидолом.
Между наружным сухарем и пробкой устанавливают упругую пружину или резиновую шайбу.
Пробку ввернуть в гнездо до упора и отвернуть па пол-оборота, затем установить шплинт. В собранной штанге шаровой палец должен вращаться от руки.
Ступицы заднего и среднего мостов Краз могут иметь следующие неисправности:
— Срыв резьбы в отверстиях под шпильки фланца полуоси
— обрыв шпилек полуоси
— обрыв шпилек колес
— износ посадочных мест под подшипник и обойму сальника.
Сломанные шпильки полуоси и шпильки колес заменяют новыми.
Износ резьбы в отверстиях под шпильки полуоси восстанавливают нарезанием резьбы увеличенного ремонтного размера и установкой ремонтных шпилек.
Износ посадочных мест под подшипники и посадочного пояска под кольцо ремонтируют постановкой втулок с последующей обработкой под номинальный размер.
При сборке ступиц необходимо соблюдать следующее:
Упорное кольцо установить так, чтобы отверстие в кольце было совмещено со штифтом, запрессованным в торец суппорта.
Сальник запрессовать в гнездо ступицы большим диаметром обоймы в сторону роликового подшипника.
Перед установкой внутреннюю полость ступицы наполнить солидолом на половину емкости, смазать ролики подшипников солидолом и установить ступицу на кожух полуоси.
Ступицу со шпильками колес, имеющими левую резьбу, устанавливают на левую сторону моста, ступицу со шпильками с правой резьбой — на правую сторону.
После установки ступицы закрепить ее гайкой и отрегулировать затяжку подшипников.
Собирают заднюю подвеску и устанавливают ее в порядке, обратном разборке и снятию.
Моменты затяжки соединений деталей задней подвески следующие:
— гаек шаровых пальцев при установке реактивных штанг 60 кгм;
— гаек болтов крепления кронштейнов реактивных штанг к четвертой поперечине рамы 8—10 кгм
— болтов крепления кронштейнов балансирной подвески к раме 12—14 кгм;
— гаек стремянок рессор (затягивают на разгруженном автомобиле) 60 кгм
Гайки стяжных шпилек балансиров затягивают после установки рессор.

