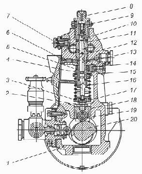
Топливный насос высокого давления ТНВД ЯМЗ-236
Топливный насос высокого давления ТНВД ЯМЗ-236 расположен в развале двигателя между рядами цилиндров и имеет шестеренчатый привод.
Топливный насос многосекционный. Число секций равно шести по числу цилиндров двигателя. Устройство секции насоса высокого давления показано на рис.24.

Рис.24. Секция ТНВД ЯМЗ-236
1–корпус насоса; 2–контргайка; 3–регулировочный болт; 4–втулка поворотная; 5–зубчатый венец; 6–установочный винт; 7–пробка для выпуска воздуха; 8–штуцер; 9–пружина нагнетательного клапана; 10–нагнетательный клапан; 11–корпус нагнетательного клапана; 12–втулка плунжера; 13–плунжер; 14–рейка; 15–тарелка верхняя пружины; 16–пружина толкателя; 17–тарелка нижняя пружины; 18–толкатель; 19–ролик толкателя; 20–кулачковый вал
В корпусе 1 топливного насоса установлены плунжерные пары, нагнетательные клапаны 10 и штуцеры 8, к которым подсоединяются трубопроводы высокого давления.
Нагнетательный клапан и корпус клапана – прецизионная пара, которая может заменяться только комплектно. Прецизионную пару составляют и плунжер 13 с втулкой 12.
Правильное положение втулки плунжера ТНВД ЯМЗ-236 относительно корпуса обеспечивается винтом 6. Плунжер 13 приводится в движение от кулачкового вала 20 через роликовый толкатель 18. В толкатель ввернут регулировочный болт 3, который контрится гайкой 2 и служит для регулировки начала подачи топлива.
Пружина 16 через нижнюю тарелку 17 постоянно прижимает толкатель к кулачку. От проворота толкатель фиксируется сухарем толкателя, который входит в паз на расточке корпуса насоса. Для изменения количества подаваемого топлива плунжер во втулке 12 поворачивается поворотной втулкой 4 с зубчатым венцом 5, входящим в зацепление с рейкой 14.
Регулировка подачи топлива на номинальном режиме каждой секцией топливного насоса высокого давления производится поворотом втулки 4 относительного зубчатого венца 5 при ослабленном винте крепления зубчатого венца.
Работа секции ТНВД ЯМЗ-236
При движении плунжера 13 вниз внутреннее пространство втулки 12 заполняется топливом, и одновременно оно подается насосом низкого давления в подводящий клапан корпуса насоса.
При этом открывается впускное отверстие, и топливо поступает в надплунжерное пространство. При обратном движении плунжера топливо перепускается в топливо подводящий канал до тех пор, пока торцовая кромка плунжера не перекроет впускное отверстие втулки.
При дальнейшем движении плунжера вверх давление в надплунжерном пространстве возрастает. Когда давление достигнет величины, при которой открывается нагнетательный клапан, он приподнимется, и топливо поступит по топливопроводу высокого давления к форсунке.
Движущийся плунжер продолжает сжимать топливо. Когда давление достигнет такой величины, что превысит усилие, создаваемое пружиной форсунки, игла форсунки поднимется и начнется процесс впрыскивания топлива в цилиндр двигателя.
По мере движения плунжера вверх наступает момент, когда кромка плунжера открывает отсечное отверстие на втулке, что вызывает падение давления в топливопроводе.
При этом разгрузочный поясок нагнетательного клапана, погружаясь в корпус 11 под действием пружины 9, увеличивает объем в топливопроводе между форсункой и клапаном. Этим достигается более четкая отсечка подачи топлива.
Количество подаваемого топлива дозируется изменением момента конца подачи при постоянном его начале. При перемещении рейки плунжер топливного насоса высокого давления поворачивается, и регулирующая кромка открывает отверстие втулки раньше или позже, вследствие чего изменяется продолжительность подачи, а, следовательно, и количество подаваемого топлива.
На поверхности плунжера имеется кольцевая канавка, а во втулке плунжера радиальное отверстие для отвода топлива, просочившегося через зазор в плунжерной паре.
Уплотнение между втулкой плунжера и корпусом ТНВД ЯМЗ-236 осуществляется резиновым кольцом. Из полости вокруг втулки плунжера просочившееся топливо отводится в канал, проходящий вдоль корпуса насоса.
Далее из канала топливо поступает через дренажный трубопровод в топливный бак. В нижней части корпуса насоса расположен кулачковый вал.
Топливный насос в сборе с регулятором частоты вращения, муфтой опережения впрыска и топливоподкачивающим насосом изображен на рис. 25.
Кулачковый вал вращается в роликовых конических подшипниках и промежуточной опоре. Осевой люфт кулачкового вала в пределах 0,01…0,07 мм регулируется набором прокладок. Рейка топливного насоса перемещается в направляющих втулках, запрессованных в корпус насоса.
Выступающий из ТНВД ЯМЗ-236 конец рейки защищен втулкой 3 (рис. 25), в которую ввернут винт 2, ограничивающий мощность двигателя в обкаточный период. Винт-ограничитель контрится проволокой и пломбируется.
В верхней части корпуса насоса имеются подводящий и отводящий каналы, по которым топливо поступает к плунжерным парам.
Со стороны регулятора каналы закрыты пробками с уплотнительными резиновыми кольцами. Со стороны муфты опережения впрыска к подводящему каналу присоединяется подводящий топливопровод, а по отводящему через перепускной клапан отводится избыточное количество топлива.
Продольные каналы со стороны подвода топлива соединены поперечным каналом. Отверстие для выпуска воздуха закрыто пробкой 7 (рис 24).

Рис.25. Топливный насос ЯМЗ-236
1–муфта опережения впрыскивания; 2–винт-ограничитель; 3–втулка; 4–топливопровод низкого давления; 5–перепускной клапан; 6–топливопровод высокого давления; 7–топливный насос высокого давления; 8 болт ограничения максимальной частоты вращения; 9–регулятор частоты вращения; 10– рычаг управления регулятором; 11– болт ограничения минимальной частоты вращения; 12–рычаг останова; 13–топливоподкачивающий насос; А– положение рычага при минимальной частоте вращения холостого хода; Б–положение рычага при максимальной частоте вращения холостого хода; В– положение рычага при работе; Г– положение рычага при выключенной подаче
Регулятор частоты вращения топливного насоса ЯМЗ-236
ТНВД ЯМЗ-236 оснащен всережимным механическим регулятором частоты вращения (рис. 26), который, изменяя подачу топлива в зависимости от нагрузки, поддерживает заданную водителем частоту вращения
коленчатого вала двигателя.

Рис.26. Регулятор частоты вращения топливного насоса ЯМЗ-236
1–корректор подачи топлива по наддуву; 2–ось двуплечего рычага; 3–пружина регулятора; 4–двуплечий рычаг; 5–крышка смотрового люка; 6–винт двуплечего рычага; 7–рычаг регулятора; 8–буферная пружина; 9–корпус буферной пружины; 10–регулировочный болт; 11–вал рычага пружины; 12– серьга регулятора; 13–корпус пружины корректора; 14–гайка корректора; 15–пружина корректора; 16–корректор; 17–винт подрегулировки мощности; 18–рычаг рейки; 19–кулиса; 20–пята; 21–грузы регулятора; 22–муфта грузов; 23–ось грузов; 24– державка грузов; 25–ведущая шестерня; 26–сухари; 27–валик державки грузов; 28–стакан; 29–тяга рейки; 30–рычаг пружины; 31–пружина рычага рейки.
Регулятор закреплен на заднем торце топливного насоса ЯМЗ.
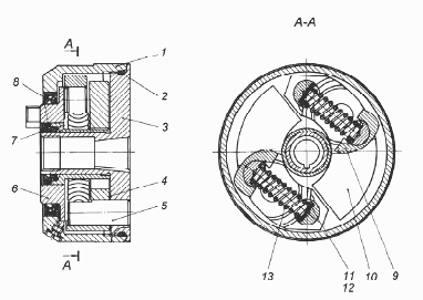
Муфта опережения впрыскивания топлива ТНВД ЯМЗ-236
Муфта опережения впрыскивания топлива (рис. 27) устанавливается на двигатели ЯМЗ-236НЕ,Н,БЕ,Б и предназначена для изменения момента начала подачи топлива в зависимости от частоты вращения коленчатого вала двигателя.
Применение муфты опережения впрыскивания способствует получению наилучшей экономичности на различных скоростных режимах.
Муфта опережения впрыскивания имеет две полумуфты, установленные в корпусе 1: ведущую 6 и ведомую 3. Ведущая полумуфта надета на ступицу ведомой полумуфты и может на ней поворачиваться, а ведомая жестко закреплена на кулачковом валу насоса.
Между полумуфтами расположены два одинаковых груза 10, установленные на осях 5 ведомой полумуфты и две проставки 9, установленные на опорных пальцах ведущей полумуфты.
Между осями 5 и опорными пальцами в распор установлены пружины 13, которые, стремясь увеличить расстояние между ними, поворачивают одну полумуфту относительно другой. В основу работы муфты положен принцип использования центробежных сил грузов.

Рис.27. Муфта опережения впрыскивания топлива ТНВД ЯМЗ-236
1–корпус; 2–кольцо уплотнительное; 3–ведомая полумуфта; 4–шайба; 5–ось груза; 6–ведущая полумуфта; 7,8–манжеты; 9–проставка; 10–груз; 11,12– шайбы регулировочные; 13–пружина
Топливоподкачивающий насос ЯМЗ-236
Топливоподкачивающий насос – поршневого типа.
Топливоподкачивающий насос (рис.28) крепится тремя болтами с левой стороны на корпусе топливного насоса высокого давления и приводится в действие от эксцентрика кулачкового вала через роликовый толкатель.
В корпусе 1 насоса размещены поршень 2, пружина 3 поршня, упирающаяся с одной стороны в поршень, а с другой – в пробку 5, всасывающий 26 и нагнетательный 13 клапаны, прижимаемые к седлам 27 пружинами 14.

Рис.28. Топливоподкачивающий насос ТНВД ЯМЗ-236
1–корпус; 2–поршень; 3–пружина поршня; 4–уплотнительное кольцо; 5, 16–пробки; 6–втулка штока; 7–шток толкателя; 8–толкатель; 9–стопорное кольцо толкателя; 10–сухарь толкатели; 11–ось ролика; 12–ролик; 13–нагнетательный клапан; 14–пружина клапана; 15–уплотнительные шайбы; 17–корпус цилиндра; 18–цилиндр; 19–поршень; 20–шток; 21–рукоятка; 22–защитный колпачок; 23,24,25–уплотнительные всасывающий кольца; 26–клапан; 27– седло клапана
Полость корпуса насоса ТНВД, в которой перемещается поршень, соединена каналами с полостями над всасывающим и под нагнетательным клапанами.
Привод поршня осуществляется толкателем 8 через шток 7. Ролик толкателя вращается на плавающей оси 11, застопоренной двумя сухарями 10 от продольного перемещения.
Одновременно сухари толкателя, перемещаясь в пазах корпуса 1, предохраняют толкатель от разворота. Шток 7 перемещается в направляющей втулке 6, которая ввернута в корпус насоса на специальном клее. Шток и втулка представляют собой прецизионную пару.
Для нагнетания топлива при неработающем двигателе насос оборудуется топливопрокачивающим насосом. Этот насос используется для удаления воздуха из топливной системы перед пуском двигателя, а также для заполнения топливом всей магистрали при техническом уходе за топливной аппаратурой.
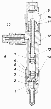
Форсунка двигателя ЯМЗ-236
Форсунка двигателя ЯМЗ-236 – закрытого типа, с многодырчатым распылителем и гидравлическим управлением подъема иглы.
На двигатели устанавливаются форсунки нескольких моделей, имеющие конструктивные и регулировочные отличия.
Модели форсунок двигателей ЯМЗ-236
Все детали форсунки собраны в корпусе 7 (рис. 29). К нижнему торцу корпуса форсунки гайкой 5 присоединяются проставка 3 и распылитель (мод. 335.1112110-50, 335.1112110-70, 204.1112110-50 и 204.1112110-50.01 соответственно).
Взаимное расположение корпуса форсунки, проставки и распылителя определяется штифтами, запрессованными в проставке. Внутри корпуса 1 распылителя находится запорная игла 2. Корпус и игла составляют прецизионную пару. Распылитель имеет пять распыливающих отверстий.
Усилие затяжки пружины 6 (давление начала впрыскивания) регулируется винтом 12, ввернутым в корпус форсунки. Винт фиксируется гайкой 10.
Для форсунок моделей 204-50 и 204-50.01 усилие затяжки пружины 6 регулируется регулировочными шайбами, установленными в корпус форсунки. Топливо подводится к форсунке через штуцер 8 ввернутый в корпус форсунки. В штуцер запрессован стержень фильтра 15.
Топливо, просочившееся через зазор между иглой и корпусом распылителя, отводится из форсунки через полость пружины и отверстия в регулировочном винте и колпачке 9.

Рис.29. Форсунка ЯМЗ модели 267-01
1–корпус распылителя; 2–игла распылителя; 3–проставка; 4–штанга; 5–гайка распылителя; 6–пружина; 7–корпус; 8–штуцер с фильтром; 9–колпак; 10–гайка; 11–шайба; 12–регулировочный винт; 13–тарелка пружины; 14–штифт; 15–щелевой фильтр
Форсунка устанавливается в стакан головки цилиндров. Под торец гайки распылителя подкладывается гофрированная шайба для уплотнения от прорыва газов.
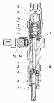
Форсунки ЯМЗ моделей 261-13
Все детали форсунки (рис. 30) собраны в корпусе 2. К нижнему торцу корпуса форсунки гайкой 3 присоединяется корпус 4 распылителя, внутри которого находится запорная игла 5. Игла и корпус распылителя составляют прецизионную пару, которая может заменяться только комплектно.
Распылитель имеет четыре распыливающих отверстия и фиксируется относительно корпуса двумя штифтами 6. Нижний конец штанги 1 упирается в хвостовик иглы распылителя. Сверху на штангу напрессована тарелка 7, в которую упирается пружина 13 форсунки.
Усилие предварительной затяжки пружины регулируется винтом 9, ввернутым в гайку 11 пружины с контргайкой 8. На гайку пружины навернут колпак 10 с уплотнительной шайбой 12.

Рис.30. Форсунка ЯМЗ модели 267-13
1–штанга; 2–корпус; 3–гайка распылителя; 4–корпус распылителя; 5–игла распылителя; 6–штифт; 7–тарелка пружины; 8–контргайка; 9– регулировочный винт; 10–колпак; 11–гайка пружины; 12–шайба; 13–пружина; 14–втулка; 15–штуцер; 16–фильтр;
Топливо к форсунке подводится через штуцер 15, в который установлена втулка 14, поджимающая сетчатый фильтр 16. Топливо, просочившееся между иглой и корпусом распылителя, отводится из форсунки через отверстия в гайке пружины и колпаке.
Форсунка устанавливается в стакан головки цилиндров. Под торец гайки распылителя подкладывается медная гофрированная шайба для уплотнения от прорыва газов. Для уплотнения внутренней полости головки цилиндров на штуцер форсунки надет уплотнитель.
Регулировка форсунок ЯМЗ-236
При обслуживании каждой форсунки двигателя ЯМЗ-236 провести проверку и регулировку в следующем порядке:
Каждую форсунку отрегулируйте на давление начала впрыскивания.
Давление начала впрыскивания форсунок моделей 267-01, 267-11, 261-13 (12) регулируется винтом при снятом колпаке форсунки и отвернутой контргайке. При ввертывании винта давление повышается, при вывертывании — понижается.
Проверить герметичность распылителя по запирающему конусу иглы и отсутствие течей в местах уплотнений линии высокого давления. Для этого создать в форсунке давление топлива на 1…1,5 МПа (10…15 кгс/см2) ниже давления начала впрыскивания.
При этом в течение 15 секунд не должно быть подтекания топлива из распыливающих отверстий; допускается увлажнение носика распылителя без отрыва топлива в виде капли.
Герметичность в местах уплотнений линии высокого давления проверить при выдержке под давлением в течение 2 мин; на верхнем торце гайки распылителя (при установке форсунки под углом 15 к горизонтальной поверхности) не должно образовываться отрывающейся капли топлива.
Подвижность иглы проверить прокачкой топлива через форсунку, отрегулированную на заданное давление начала впрыскивания на опрессовочном стенде, при частоте впрыскивания 30-40 в минуту. Допускается подвижность иглы проверять одновременно с проверкой качества распыливания.
Качество распыливания считается удовлетворительным, если топливо впрыскивается в атмосферу в туманообразном состоянии и равномерно распределяется как по всем струям, так и по поперечному сечению каждой струи.
Начало и конец впрыскивания при этом должны быть четкими. После окончания впрыскивания допускается увлажнение носика распылителя без образования капли.
Впрыскивание топлива у новой форсунки ЯМЗ-236 сопровождается характерным резким звуком. Отсутствие резкого звука у бывших в эксплуатации форсунок не означает снижения качества их работы.
Герметичность уплотнения, соединения и наружных поверхностей полости низкого давления проверять опрессовкой воздухом давлением 0,45-0,05 МПа (4,5-0,5 кгс/см2). Пропуск воздуха в течении 10 секунд не допускается при подводе воздуха со стороны носика распылителя.
Герметичность соединений «распылитель-гайка распылителя» проверять опрессовкой воздухом давлением 0,5-0,1 МПа (5-1 кгс/см2) в течение 10 секунд при подводе воздуха со стороны носика распылителя. Пропуск пузырьков воздуха по резьбе гайки распылителя при погружении ее в дизельное топливо не допускается.
При закоксовке или засорении одного или нескольких распыливающих отверстий распылителя форсунку ЯМЗ-236 разобрать, детали форсунки прочистить и тщательно промыть в профильтрованном дизельном топливе. При не герметичности по запирающему конусу распылитель в сборе подлежит замене. Замена деталей в распылителе не допускается.
Разборка форсунки ЯМЗ-236
Форсунки моделей 267-01, 267-11, 204-50, 261-13(12)
— отвернуть колпак форсунки;
— отвернуть контргайку и вывернуть до упора регулировочный винт;
— отвернуть гайку пружины на полтора – два оборота;
— отвернуть гайку распылителя;
— снять распылитель, предохранив иглу распылителя от выпадания.
Нагар с корпуса распылителя счищать металлической щеткой или шлифовальной шкуркой с зернистостью не грубее «М40». Распыливающие отверстия прочистить стальной проволокой диаметром 0,3 мм.
Применять для чистки внутренних полостей корпуса распылителя и поверхностей иглы твердые материалы и шлифовальную шкурку не допускается.
Перед сборкой распылитель и иглу тщательно промыть в профильтрованном дизельном топливе. Игла должна легко перемещаться: выдвинутая из корпуса распылителя на одну треть длины направляющей, при наклоне распылителя на угол 45 от вертикали, игла должна плавно, без задержек полностью опускаться под действием собственного веса.
Сборку форсунки производить в последовательности обратной разборке. При затяжке гайки разверните распылитель против направления навинчивания гайки до упора в фиксирующие штифты и, придерживая его в этом положении, наверните гайку рукой, после чего гайку окончательно затяните.
Момент затяжки гайки распылителя 60…70 Нм (6…7 кг/см), штуцера форсунки 80…100 Нм (8…10 кг/см). После сборки отрегулировать форсунку на давление начала впрыскивания и проверить качество распыливания топлива и четкость работы распылителя.
