Система охлаждения двигателя ЯМЗ-236 — жидкостная, циркуляционная.
Система охлаждения включает в себя водяной насос, вентилятор, термостаты, дистанционный термометр и радиатор, устанавливаемый на раме машины.
Во время работы двигателя циркуляция охлаждающей жидкости в системе охлаждения создается центробежным насосом.
Из нагнетательного патрубка насоса через каналы в крышке шестерен распределения жидкость под давлением поступает в водяную рубашку левого ряда цилиндров и правого ряда блока цилиндров, затем в головки цилиндров и собирается в водосборных трубопроводах.
В водяные рубашки головок цилиндров жидкость подается по направляющим каналам, в первую очередь к наиболее нагретым поверхностям — выпускным патрубкам и стаканам форсунок.
Из водосборных трубопроводов нагретая жидкость подается через термостаты в радиатор, где отдает тепло потоку воздуха, создаваемому вентилятором, после чего снова идет к водяному насосу.
Когда температура охлаждающей жидкости понижается, термостаты автоматически направляют весь ее поток непосредственно к водяному насосу, минуя радиатор. Таким образом, посредством термостатов обеспечивается оптимальный тепловой режим работы двигателя.
Водяной насос ЯМЗ-236 центробежного типа, установлен в передней части двигателя и приводится во вращение клиновым ремнем от шкива, установленного на переднем конце коленчатого вала.
В чугунном корпусе вращается крыльчатка, напрессованная на валик. Валик насоса установлен на двух шарикоподшипниках с односторонним уплотнением. Полость подшипников при сборке насоса заполняется смазкой Литол-24 на весь срок службы насоса без дополнительной смазки.
Уплотнение полости насоса осуществляется по торцовым поверхностям. Для контроля за герметичностью торцового уплотнения в корпусе насоса имеется дренажное отверстие.
Устанавливаемые на двигатели водяные насосы имеют между собой значительные конструктивные отличия и не взаимозаменяемы между собой:
— Водяной насос двигателей ЯМЗ-236Н,Б (рис. 21) имеет маркировку на корпусе 236-1307010-А3.
— Водяной насос двигателей ЯМЗ-236НЕ,НЕ2,БЕ,БЕ2 имеет маркировку на корпусе 236-1307010-Б1.

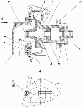
Рис.21. Водяной насос двигателя ЯМЗ-236
1 – корпус; 2 – ниппель; 3 – валик; 4 – шарикоподшипники; 5 –стопорное кольцо; 6 – втулка; 7 – шкив; 8,10 – гайки; 9 – замковая шайба; 11 – регулировочная прокладка; 12 – шпилька; 13 – водосбрасыватель; 14 – втулка корпуса; 15 – стопорное кольцо; 16 – упорное кольцо; 17 – уплотнительное кольцо; 18 – гайка крепления крыльчатки; 19 – манжета сальника; 20 – пружина; 21 – крыльчатка; 22 – крышка корпуса.
Обслуживание системы охлаждения двигателей ЯМЗ-236
От исправной работы системы охлаждения в значительной степени зависят экономичность надежность, срок службы и другие показатели двигателя.
Для обеспечения нормальной работы двигателя выполнять следующие требования:
Заполнять систему охлаждения двигателя ЯМЗ-236 рекомендованными специальными низкозамерзающими жидкостями или в исключительных случаях на непродолжительное время чистой мягкой водой.
Заливать охлаждающую жидкость через воронку с сеткой, пользуясь чистой посудой.
Следить за температурой охлаждающей жидкости, поддерживая ее в пределах 75 – 90ºС.
Во избежание появления деформаций головок и рубашки блока цилиндров охлаждающую жидкость в систему охлаждения прогретого двигателя доливать постепенно и обязательно во время его работы.
Если система охлаждения заполнена водой, то регулярно промывать систему охлаждения чистой водой с помощью специального промывочного пистолета, а при отсутствии его – сильной струей чистой воды, желательно пульсирующей. Систематически удалять накипь из системы охлаждения.
При применении в качестве охлаждающей жидкости тосола необходимо периодически следить за его цветом. Если Тосол приобретает красно-бурую окраску, то это свидетельствует о его агрессивности по отношению к конструктивным материалам деталей двигателя.
В этом случае тосол необходимо заменить, промыв перед этим систему охлаждения.
Следить за исправностью торцового уплотнения крыльчатки водяного насоса, имея в виду, что охлаждающая жидкость, просачивающаяся в подшипники водяного насоса, выводит их из строя.
О неисправности торцового уплотнения свидетельствует течь воды из дренажного отверстия на корпусе водяного насоса, закупоривать которое нельзя. Насос с неисправным уплотнением подлежит ремонту.
В случае нарушения температурного режима проверить исправность термостатов и их прокладок.
Температура начала открытия основного клапана термостата должна быть 80±2ºС (указана на корпусе термостата). Клапан должен открываться полностью, перемещаясь не менее на 8 мм от его седла. Неисправный термостат заменить новым.
Водяной насос двигателей ЯМЗ-236

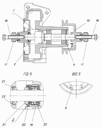
Рис.22. Водяная помпа двигателя ЯМЗ-236
1–корпус; 2–крыльчатка; 3–торцовое уплотнение; 4–втулка; 5– вал; 6–водосбрасыватель; 7–заглушка; 8–подводящий патрубок; 9–стопорное кольцо; 10–шкив; 11, 12–уплотнительные кольца; 13–подшипники; 14, 15–гайки крепления и пружинные шайбы.
Разборка водяного насоса (помпы) ЯМЗ-236
Ослабив крепление натяжного устройства ремня привода водяного насоса снять ремень со шкива водяного насоса.
Слить с двигателя и радиатора охлаждающую жидкость.
Снять подводящий патрубок с водяного насоса.
Отвернув крепление, снять с двигателя водяной насос, аккуратно не повредив прокладку.
Отвернуть гайки 14 (рис. 22) патрубка 8.
Слегка постукивая в выступающие части патрубка 8 в направлении стрелок Б, извлечь указанный патрубок из корпуса 1 насоса.
Зафиксировать крыльчатку 2 (или шкив 10) от вращения с валом 5.
Вывернуть заглушку 7 из резьбового отверстия крыльчатки 2.
Завернуть в резьбовое отверстие (М22х1,5) крыльчатки 2 гайку 17 съемника и, вворачивая болт 18, спрессовать крыльчатку 2 с вала 5.
Отогнуть «усы» Д корпуса 19 торцового уплотнения и извлечь манжету 22 с пружиной и каркасами в сборе.
Используя съемник, спрессовать шкив 10.
Извлечь из канавки корпуса 1 насоса стопорное кольцо 9.
Выпрессовать из корпуса 1 вал 5 с водосбрасывателем 6 и подшипниками 13.
Если латунный корпус 23 торцового уплотнения не имеет повреждений, его из корпуса 1 можно не извлекать и на этом разборку насоса можно считать законченной.
Сборка помпы ЯМЗ-236
Промыть все детали водяного насоса и просушить сжатым воздухом.
Напрессовать на вал 5 (рис.22) подшипники 13 и водосбрасыватель 6.
При этом необходимо:
− предварительно смазать вал 5 дизельным маслом;
− устанавливать подшипники 13 так, чтобы уплотнительные шайбы стояли с внешней стороны;
− усилие напрессовки прилагать к внутреннему кольцу подшипника.

Рис.23. Разборка водяного насоса ЯМЗ-236
2–крыльчатка; 9–стопорное кольцо; 10–шкив; 17–гайка съемника; 18–болт съемника; 19–корпус торцового уплотнения; 20–манжета втулки; 21–втулка уплотнения; 22–манжета с пружиной в сборе.
Заполнить всю полость между подшипниками смазкой Литол-24 (60…70 г).
Запрессовать вал в сборе с подшипниками и водосбрасывателем в корпус 1 до упора.
При этом необходимо:
− предварительно смазать расточку корпуса 1 под подшипники чистым моторным маслом;
− усилие запрессовки прилагать к наружному кольцу подшипника.
Установить в канавку корпуса водяного насоса двигателя ЯМЗ-236 стопорное пружинное кольцо 9. Напрессовать на вал 5 шкив 10 до упора.
При этом необходимо:
− предварительно смазать вал чистым моторным маслом;
− обеспечить неподвижный упор противоположного конца вала.
Установить в латунный корпус 19 (рис. 23) детали торцового уплотнения помпы;
− резиновую манжету 22 в сборе с пружиной и каркасами пружины;
− армированную манжету 20 и уплотнительную втулку 21. Установить в крыльчатку 2 резиновую манжету 23 и уплотнительную втулку 21.
При этом необходимо:
− предварительно одеть манжету 23 на уплотнительную втулку 21;
− нанести тонкий слой смазки в расточку крыльчатки 2 и на наружную поверхность резиновой манжеты 23;
− взять двумя руками манжету в сборе со втулкой и, прилагая усилие к торцу уплотнительной втулки, вставить эти детали в расточку крыльчатки до упора, не допуская перекосов.
Напрессовать крыльчатку насоса двигателя ЯМЗ-236 в сборе с манжетой и уплотнительной втулкой на вал 5 (рис.22).
При этом необходимо:
− предварительно смазать вал 5 чистым моторным маслом;
− обеспечить неподвижный упор противоположного конца вала;
− установить крыльчатку на валу в размер 10-0,15 мм (рис.22) между торцом вала и торцом ступицы крыльчатки. Для этого необходимо при запрессовке установить на торец вала диск диаметром не более 13 мм и высотой 10-0,15 мм.
Зафиксировать крыльчатку 2 (или шкив 10) от вращения. Завернуть в резьбовое отверстие крыльчатки 2 заглушку 7 до упора;
Установить в корпус 1 втулку 4 и резиновое кольцо 12.
Установить в канавку патрубка 3 резиновое кольцо 11, не допуская его перекручивания.
Запрессовать патрубок 3 в расточку корпуса 1 до упора.
При этом необходимо:
− предварительно смазать расточку в корпусе 1 и кольцо 11 тонким слоем смазки Литол;
− шпильки на корпусе 1 должны свободно войти в крепежные отверстия патрубка 8.
Закрепить патрубок 3 гайками 14 с пружинными шайбами 15.
Проверить качество сборки вращая вал 5 за шкив 10. Вращение вала должно быть свободным, без заеданий.
