Система питания двигателя ЯМЗ-236 и ее компоненты
Топливоподающая аппаратура системы питания дизеля ЯМЗ-236 — разделенного типа.
Топливная система состоит из топливного насоса высокого давления со всережимным регулятором частоты вращения и встроенным корректором для корректирования подачи топлива, топливоподкачивающим насосом, муфтой опережения впрыска или без нее, форсунок, фильтров грубой и тонкой очистки топлива, топливопроводов низкого и высокого давления.

Рис.31. Схема системы питания дизеля ЯМЗ-236
А–всасывающая магистраль; В–низкое давление; С–высокое давление; D–слив излишков топлива в бак; 1–фильтр грубой очистки топлива; 2– топливный насос высокого давления; 3– фильтр тонкой очистки топлива; 4–форсунка; 5–распылитель форсунки; 6–топливоподкачивающий насос; 7– топливный бак
Из бака через фильтр грубой очистки топливо засасывается топливоподкачивающим насосом и подается в фильтр тонкой очистки и далее к топливному насосу высокого давления.
Топливный насос в соответствии с порядком работы цилиндров подает топливо по топливопроводам высокого давления к форсункам, которые распыливают его в цилиндрах двигателя.
Через перепускной клапан в топливном насосе и жиклер в фильтре тонкой очистки излишки топлива, а вместе с ними и попавший в систему воздух отводятся по топливопроводу в топливный бак. Просочившееся в полость пружины форсунки топливо отводится по сливному трубопроводу в бак.
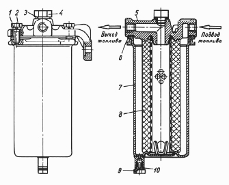
Фильтр грубой очистки топлива дизеля ЯМЗ-236
Фильтр грубой очистки топлива ЯМЗ-236 (рис. 32) состоит из крышки 5, колпака 7 и фильтрующего элемента 8. Колпак и крышка соединяются четырьмя болтами 2. Уплотнение между ними обеспечивается резиновой прокладкой 6. На колпаке имеется сливная пробка 9 с прокладкой 10.
Фильтрующим элементом является ворсистый хлопковый шнур, навитый на сетчатый каркас. Фильтрующий элемент плотно зажимается по торцам между крышкой и дном колпака. Отверстие в крышке, закрытое пробкой 4 с прокладкой 3, служит для заполнения фильтра топливом.

Рис.32. Фильтр грубой очистки топлива дизеля ЯМЗ-236
1–пружинная шайба; 2–болт; 3–прокладка пробки; 4–пробка; 5–крышка; 6–прокладка колпака; 7–колпак; 8–фильтрующий элемент; 9–сливная пробка; 10–прокладка сливной пробки
Замена элемента фильтра грубой очистки топлива дизеля ЯМЗ-236
Слить отстой из фильтра. Отвернуть четыре болта 1 (рис. 33) крепления колпака 8 фильтра к крышке 5, снять колпак фильтра и удалить старый фильтрующий элемент 7.
Тщательно промыть внутренние поверхности колпака чистым бензином или дизельным топливом.
Поставить новый элемент 7 и прокладку 6 в канавку крышки, установить колпак, и, убедившись в правильном (без смещения) положении прокладки, тщательно затянуть болты 1 креплении колпака к крышке.
При затрудненном доступе к фильтру для исключения случаев смещения прокладки допускается перед установкой прокладку со стороны крышки смазать в нескольких точках консистентной смазкой.
Отвернуть пробку 3, залить в фильтр чистое топливо и тщательно завернуть пробку.
Пустить двигатель и убедиться в герметичности фильтра. Подтянув болты, устранить подсос воздуха.

Рис.33. Фильтр грубой очистки топлива
1–болт крепления; 2–шайба; 3–пробка; 4–прокладка пробки; 5–крышка; 6–прокладка; 7–фильтрующий элемент; 8–колпак; 9-сливная пробка
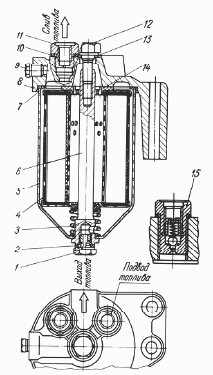
Фильтр тонкой очистки топлива дизеля ЯМЗ-236
Фильтр тонкой очистки топлива (рис. 34) состоит из колпака 5 с приваренным к нему стержнем 6, крышки 8 и фильтрующего элемента 4.
Снизу в стержень ввернута сливная пробка 1 с прокладкой 2. Уплотнение между колпаком и крышкой обеспечивается паронитовой прокладкой 7. Колпак с крышкой соединен болтом 12, под головку которого поставлена уплотнительная шайба 13.
Сменный фильтрующий элемент пружиной 3 прижимается к крышке. С торцовых поверхностей фильтрующий элемент уплотнен прокладками.

Рис.34. Фильтр тонкой очистки топлива двигателя ЯМЗ-236
1-сливная пробка; 2-прокладка сливной пробки; 3-пружина; 4-фильтрующий элемент; 5-колпак; 6-стержень; 7-прокладка колпака; 8-крышка; 9-пробка; 10-прокладка жиклера; 11,15-клапан-жиклер; 12-болт; 13-прокладка; 14-прокладка фильтрующего элемента.
В крышку ввернут жиклер 12, который уплотняется прокладкой 10. Через жиклер сливается часть топлива вместе с воздухом, попавшим в систему низкого давления.
На двигателях, оборудованных электрофакельным устройством, вместо жиклера в фильтр установлен клапан-жиклер 15.
При малом давлении в системе, что может наблюдаться при пуске, двигателя, слива топлива не происходит, и питание ЭФУ топливом улучшается.
Замена элемента фильтра тонкой очистки топлива ЯМЗ-236
Слить отстой из фильтра.
Вывернуть болт 5 (рис. 35) крепления колпака.
Снять колпак 10 и удалить старый фильтрующий элемент 8.
Промыть бензином или чистым дизельным топливом внутренние поверхности колпака.
Поставить в колпак 10 пружину 9, фильтрующий элемент 8 (меньшим отверстием вниз), на верхний фланец элемента установить резиновую прокладку.

Рис.35. Фильтр тонкой очистки топлива
1 – прокладка; 2 – крышка; 3 – прокладка жиклера; 4 – жиклер; 5 – болт; 6 – шайба болта крепления; 7 – прокладка колпака; 8 – фильтрующий элемент; 9 – пружина, 10 – колпак; 11 – прокладка сливной пробки; 12 – сливная пробка; 13 – пробка
Поставить шайбу 6 болта крепления и прокладку 7 колпака, установить колпак с элементом на, место и тщательно затянуть болт 5.
Для слива отстоя из топливных фильтров грубой и тонкой очистки отвернуть на 3-4 оборота сливные пробки и слить по 0,1 л топлива в подставленную посуду.
После слива отстоя пробки завернуть и пустить двигатель на 3-4 минуты для удаления воздушных пробок. Сливать отстой особенно важно в зимнее время для удаления конденсирующей воды.
Топливопроводы двигателя двигателя ЯМЗ-236
Для подвода топлива к насосу и форсункам, а также для отвода его излишков на двигателе ЯМЗ-236 имеется система топливопроводов низкого и высокого давления.
Топливопроводы низкого давления присоединяются пустотелыми болтами или накидными гайками через наконечники, закрепленные на концах топливопроводов. Контактные поверхности уплотняются медными шайбами толщиной 1,5 мм.
Топливопроводы высокого давления имеют одинаковую длину для всех цилиндров двигателя. Концы топливопроводов высажены в форме конуса и прижаты накидными гайками к штуцерам топливного насоса высокого давления и форсунок. Во избежание поломок топливопроводов от вибрации они должны быть закреплены при помощи специальных скоб.
Порядок работы секций для разных моделей ТНВД различный, поэтому различны схемы соединения топливопроводами высокого давления секций ТНВД и форсунок цилиндров двигателя.
Система смазки дизеля ЯМЗ-236
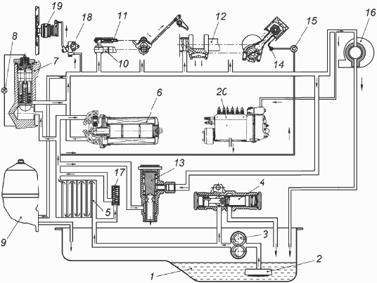
Система смазки двигателя ЯМЗ-236 – смешанная, с «мокрым» картером (рис.36).
Масляный насос (рис. 37) через всасывающую трубу с заборником засасывает масло из картера и подает его в систему через, последовательно включенный жидкостно-масляный теплообменник (при наличии).

Рис.36. Схема системы смазки двигателя ЯМЗ-236 с односекционным масляным насосом и жидкостно-масляным теплообменником
1–масляный картер; 2–маслозаборник; 3–масляный насос; 4–редукционный клапан; 5–жидкостно-масляный теплообменник; 6–фильтр очистки масла; 7–перепускной клапан; 8–сигнальная лампа фильтра; 9–фильтр центробежной очистки масла; 10–распределительный вал; 11–ось толкателей; 12– коленчатый вал; 13–дифференциальный клапан; 14–форсунка охлаждения поршней; 15- дроссель; 16–турбокомпрессор; 17–перепускной клапан теплообменника; 18–включатель привода вентилятора; 19–привод вентилятора; 20–ТНВД
В корпусе теплообменника (пластинчатого) установлен перепускной клапан. Если разность давлений до и после теплообменника достигает 274±40 Кпа (2,8±0,40 кгс/см2), клапан открывается и часть масла подается непосредственно в масляную магистраль.
Далее через трубку и каналы в блоке часть масла через втулку (дроссель с калиброванным отверстием) поступает к форсункам охлаждения поршней и затем сливается в картер.
На двигатели ЯМЗ-236Н,Б вместо дросселя установлен клапан прекращающий подачу масла к форсункам при давлении масла в системе смазки ниже 300…350 кПа (3,0…3,5 кгс/см2).
Другая часть поступает в масляный фильтр (рис. 38). В корпусе фильтра установлен перепускной клапан.
Когда разность давлений до и после фильтра достигает 200…250 кПа (2,0…2,5 кгс/см2), клапан открывается и часть неочищенного масла подается непосредственно в масляную магистраль. К моменту начала открытия перепускного клапана произойдет замыкание подвижного и неподвижного контактов сигнализатора.
В этот момент в кабине водителя загорается сигнальная лампочка, соединенная с клеммой сигнализатора. Такое повышение давления может произойти тогда, когда засорен элемент фильтра или масло имеет большую вязкость (например, при пуске двигателя в холодное время года).

Рис.37. Масляный насос двигателя ЯМЗ-236
1–промежуточная шестерня; 2–ось промежуточной шестерни; 3–вал-шестерня ведущая; 4–крышка корпуса; 5–вал-шестерня ведомая; 6–корпус; 7– шестерня привода; 8–шпонка; 9–фланец упорный; 10–штуцер (присутствует только на двигателях без водомасляного теплообменника); 11– редукционный клапан
Фильтрующий элемент масляного фильтра ЯМЗ-236 изготавливается либо из нетканого материала, натянутого на металлический каркас, либо из специальной фильтровальной бумаги.
Из фильтра масло поступает в центральный масляный канал, а оттуда через систему каналов в блоке–к подшипникам коленчатого и распределительного валов.
От подшипников коленчатого вала через масляные каналы в коленчатом валу и шатунах масло подается к подшипникам верхних головок шатунов.
От распределительного вала дизеля масло пульсирующим потоком направляется в ось толкателей, а оттуда по каналам толкателей, полостям штанг и коромысел поступает ко всем трущимся парам привода клапанов, а по наружной трубе — к подшипникам турбокомпрессора, регулятора частоты вращения и топливного насоса высокого давления.

Рис.38. Масляный фильтр двигателя ЯМЗ-236
1–корпус фильтра; 2–прокладка колпака; 3–замковая крышка; 4–колпак фильтра; 5–фильтрующий элемент; 6–головка колпака; 7–прокладка фильтрующего элемента; 8– плунжер клапана; 9–пружина клапана; 10–пружина сигнализатора; 11–подвижный контакт сигнализатора; 12–неподвижный контакт; 13–клемма
Под давлением смазывается также подшипник промежуточной шестерни привода масляного насоса. Шестерни привода агрегатов, кулачки распределительного вала, подшипники качения, гильзы цилиндров смазываются разбрызгиванием.
В корпусе насоса установлен редукционный клапан, перепускающий масло обратно в картер при давлении на выходе из насоса свыше: 700…800 (7,0…8,0 кгс/см );
Для стабилизации давления в систему смазки двигателя ЯМЗ-236 включен дифференциальный клапан, отрегулированный на начало открытия: 520…560 кПа (5,2…5,6 кгс/см).
Фильтр центробежной очистки масла (рис. 39) включен параллельно после фильтра очистки масла и пропускает до 10% масла, проходящего через систему смазки. Очищенное масло сливается в картер. Дополнительная центробежная очистка масла производится и в полостях шатунных шеек коленчатого вала.

Рис.39. Фильтр центробежной очистки масла ЯМЗ-236
1–колпак фильтра; 2, 7–шайбы; 3–колпачковая гайка; 4–гайка крепления ротора; 5–упорная шайба; 6–гайка ротора; 8, 14–втулки ротора; 9–колпак ротора; 10–ротор; 11–отражатель; 12–уплотнительное кольцо; 13–прокладка колпака; 15–ось ротора; 16–корпус фильтра; 17–сопло ротора; А–из системы под давлением; Б–слив масла в картер
Радиаторная секция двухсекционного масляного насоса подает масло к установленному на машине воздушно-масляному теплообменнику (ВМТ). Охлажденное в теплообменнике масло сливается в картер.
Предохранительный клапан радиаторной секции открывается при давлении на выходе из насоса свыше 100…130 кПа (1,0…1,3 кгс/см2).
На двигателях с ВМТ может быть применен односекционный масляный насос с разделением потока масла на ВМТ через дроссель с предохранительным клапаном 100…130 кПа (1,0…1,3 кгс/см2). Контроль давления масла осуществляется в центральном масляном канале.
