- Устройство помпы
- Разновидности
- Какие насосы подходят для разных МТЗ: соответствие двигателям и каталожные номера
- Функции водяного насоса
- Устройство
- Дизельный двигатель МТЗ 80
- Характеристики двигателя
- Разборка и ремонт водяного насоса трактора МТЗ
- Основные неисправности устройства
- Как переделать печь
- Неполадки и неисправности в системе
- Плохое натяжение или обрыв ремня привода помпы и вентилятора
- Очистка радиатора
- Неполное открытие клапана термостата
- Выход из строя насоса
- Промывка системы охлаждения
- Нарушения целостности системы
- Водяной насос МТЗ 80 и 82
- Отличие водяной помпы МТЗ 80/82 старого и нового образца
- Водяной насос и компрессор МТЗ-80
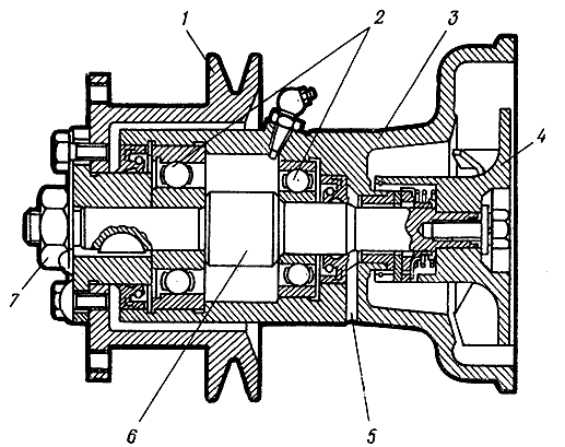
Устройство помпы
Узел собран в отлитом чугунном корпусе, состоящем из двух отделений: водяной части в виде улитки, где установлена крыльчатка насоса; масляной — с двумя опорными подшипниками вала. Улитка фрезерованной соединительной поверхностью крепится через прокладку к блоку тремя болтами, объединяя рабочую нагнетательную полость помпы с продольной магистралью водяной рубашки блока цилиндров.
Крыльчатка посажена на выточки вала и зафиксирована торцевым болтом через шайбу и уплотнительное резиновое кольцо. Водяная полость улитки с крыльчаткой отделена от масляной полости узла перегородкой и уплотнением, герметичность которого обеспечивается текстолитовой шайбой, прилегающей к тщательно притёртому торцу упорной втулки запрессованной в корпус, а также поджатой пружиной резиновой манжеты, заключенной в обойму.
Созданное вращением крыльчатки разрежение всасывает охлаждающую жидкость из патрубка, идущего от нижней банки радиатора. Захватываемая лопастями жидкость из приёмной камеры улитки с ускорением поступает в блок, принимая тепло от цилиндров.
Вал помпы вращается на двух шарикоподшипниках установленных в масляном отсеке корпуса, изолированном с внешних сторон сальниками. Осевое перемещение наружного подшипника и вала ограничивает стопорное кольцо, установленное в выточке корпуса. Смазка подшипников осуществляется через маслёнку в верхней части корпуса. На переднюю часть вала через шпонку установлена фланцевая ступица, к которой присоединён приводной шкив и вентилятор. Дренажное отверстие снизу корпуса, отводит наружу просочившуюся жидкость через уплотнитель крыльчатки. Появление течи через отверстие является сигналом о нарушении уплотнения.
Версии узла производства Минского Тракторного Завода, начиная с 1987 года выпуска, отличаются от выше описанной конструкции: диаметром вала; усиленными опорами вращения на подшипниках с закрытыми сепараторами без уплотнительных сальников; водяная полость изолируется фибровым сальником в металлическом корпусе.
Оригинальные узлы производства МТЗ подтверждены гарантийным талоном и паспортом, заверенным мокрыми печатями. Также на рынке запасных частей к МТЗ представлен ряд версий узла различных производителей. Отличительной особенностью таких насосов есть необслуживаемая конструкция, где крыльчатка выполнена из текстолита или полимера и соединена с валом горячей посадкой без фиксирующего болта.
Разновидности
Производители оснащают автомобили разными типами регуляторов температуры.
Это обусловлено мощностью двигателя, величиной внутреннего давления охлаждающей системы, объемом жидкости. К основным типам относятся:
- Простой одноклапанный вариант. Является самым распространенным. Один клапан регулирует температуру антифриза до полного прогрева силового агрегата, в последствии открывая полную циркуляцию внутри системы.

- Двухступенчатый. По принципу работы схож с одноклапанным термостатом. Отличие только в том, что клапан состоит из 2 тарелок: маленькой и большой. Регулировка температуры происходит по мере открытия тарелки малого диаметра. После достижения определенного градуса открывается тарелка большого диаметра. Такие термостаты часто устанавливаются на автомобили с высоким давлением внутри системы охлаждения.
- Двухклапанный. Термоэлементы этого типа ставились на советские автомобили. Принцип их работы основан на работе главного и перепускного клапана, установленных на одном штоке. По мере нагрева происходит открытие маленького клапана. При этом большой клапан остается закрытым. После полного нагрева антифриза, перепускной клапан закрывался, открывая главный и полную циркуляцию внутри системы.
- Электронный. Новый, современный тип терморегуляторов. Система с клапаном внутри осталась прежней, к ней добавился нагревательный элемент и регулировка за счет бортового компьютера.

Конструкция терморегулятора не менялась много лет, доказывая свою работоспособность для охлаждения двигателей любой мощности.
Какие насосы подходят для разных МТЗ: соответствие двигателям и каталожные номера
Рассмотрим, какие водяные помпы устанавливаются на различные тракторы МТЗ в зависимости от модели и года выпуска.
| Каталожный номер водяного насоса (артикул) | Подходит для двигателей | Модель трактора |
| 1307010 | Д-240, Д-245 | МТЗ-80 |
| 1307010-А1 | Д-240, Д-242, Д-243, Д-244, Д-245 | МТЗ-82.1, МТЗ-821, МТЗ-80, МТЗ-90, МТЗ-92, МТЗ-510, МТЗ-512, МТЗ-520, МТЗ-522, МТЗ-952 |
| 1307121 | Д-260 | МТЗ-1221 |
| 1307012-А1 | Д-240 | МТЗ-82.1, МТЗ-800, МТЗ-900, МТЗ-822, МТЗ-922, МТЗ-923, МТЗ-90, МТЗ-92, МТЗ-510, МТЗ-512, МТЗ-520, МТЗ-522 |
| 1307010 А1-М | Д-240, Д-241, Д-242, Д-243, Д-244, Д-245 | МТЗ-80, МТЗ-82, МТЗ-821, МТЗ-90, МТЗ-92, МТЗ-822, МТЗ-923, МТЗ-922 |
| 1307115/1307116 | Д-260 | МТЗ-1221 |
| 6584.447.188 | ДВС Ламборджини | МТЗ-320 |
| 3ld-1307010-Б | ДВС Ламборджини | МТЗ-320 |
| 1307010-А1-08М | Д-245 | МТЗ-80, МТЗ-82 |
Функции водяного насоса
Изучая основные особенности, которыми обладает насос водяной МТЗ 80, целесообразно более подробно рассмотреть его функциональное назначение. Данное устройство по своему принципу работы и конструкции полностью идентично аналогу, который устанавливается в тракторы МТЗ серии 100 и 102.
Он предназначен для корректной циркуляции жидкости в системе охлаждения, позволяет двигателю корректно работать даже при интенсивных нагрузках, избегая перегрева. Жидкость, движение которой обусловлено работой насоса, поступает из бака, расположенного в радиаторной части трактора и затем, пройдя через контур системы, вытесняется к емкости, расположенную сверху. За счет подобной циркуляции удается значительно снизить температурные показатели силового агрегата, что особенно важно при выполнении работ.

Водяной насос необходим для корректной работы двигателя
Устройство
Для того чтобы иметь возможность выполнить ремонт помпы МТЗ своими руками, крайне важно изучить ее техническое устройство, а также принцип действия. Основным элементом конструкции представляется прочный корпус, изготовленный из чугуна, что позволяет защитить изделие от различных повреждений.
Другими составляющими водяного насоса этой модели трактора являются:
- крыльчатка, монтируемая на валу у профилированной части с помощью крепежного элемента;
- подшипники с манжетами из резины, свободное пространство между которыми заполнено смазочным материалом;
- уплотнитель крыльчатки, который разделяет водную и масляную часть агрегата;
- упорная втулка, установленная в корпусе;
- шайбы, манжеты, пружины и прочие вспомогательные элементы.
Водяная помпа расположена у передней части цилиндров, начинает свою работу одновременно с коленвалом. Лопасти крыльчатки, приводимые в движение двигателем, осуществляют подачу воды к каналу, где давление увеличивается до нужных величин. Затем жидкость поступает непосредственно к охлаждающему контуру.
Канал, по которому осуществляется подача жидкости в систему, отличается спиралевидной формой, что позволяет создать разрежение во входной части, за счет которого вода втягивается в него.
Дизельный двигатель МТЗ 80

Силовой агрегат МТЗ-80 служит двигателем на знаменитых универсально-пропашных тракторах «Белорус». За счет высокой мощности, тяги и производительности этого двигателя трактора «Белорус» способны обрабатывать длительное время земельные участки большой площадью.
Характеристики двигателя
Силовым агрегатом является 4-х тактный двигатель с четырьмя цилиндрами, марки Д-240 и Д-243. В качестве топлива двигатель использует дизельное топливо. Устанавливаемые двигателя относятся к семейству 4Ч11/12,5. Производство моторов для «Белоруса» осуществлялось на Минском моторном заводе.

Рабочая поверхность двигателя составляла 4,75 литра. Силовой агрегата выдавал 82 единицы мощности при 2200 оборотах/минуту. Мотор весил 430 кг. На рассматриваемых двигателях устанавливалась полу разделённая камера сгорания, которая была выполнена в поршне. Запуск двигателя осуществлялся двумя способами.
- За счет электростартера (для двигателей версии Д-240/243).
- За счет карбюраторного двигателя, мощность которого составляла 10 л.с. Двигателем ПД-10 были снабжены версии силовых агрегатов 240-243 Л. Работа как пускового, так и основного двигателей контролировалась из кабины тракториста. Благодаря специальной блокировке, двигатель невозможно запустить на скорости.
Разборка и ремонт водяного насоса трактора МТЗ
По каким признакам можно сделать вывод, что возникли проблемы с водяным насосом? Во-первых, появилась течь воды из дренажного отверстия. Во-вторых, слышится нехарактерный шум и стуки при работе водяного насоса.
Еще одной поломкой водяного насоса является образование значительного зазора в подшипнике или разрушение подшипника. Это может быть причиной повреждения сердцевины радиатора крыльчаткой вентилятора.
Громкие стуки и гул являются признаками предельного износа, либо вообще разрушения подшипников насоса. Возможно так же разбалансировка посадочного места валика под приводной шкив.
Протечка охлаждающей жидкости из дренажного отверстия, либо пятна масла на шкиве привода дают понять, что произошло разрушение уплотнений валика насоса. Производитель для повышения надежности и долговечности с февраля 1987 г на двигатели Д-240, устанавливал водяные насосы с уплотнением типа «ВАЗ» и усиленным подшипниковым узлом.).

Рис. 2.1.98. Водяной насос трактора МТЗ в сборе:
1 — шкив; 2 — подшипники; 3 — корпус; 4 — крыльчатка; 5 — дренажное отверстие; 6 — валик; 7 — гайка
Для устранения появившихся неисправностей, водяной насос снимают и разбирают для замены выработавших свой ресурс деталей.
При увеличении осевого перемещения валика в подшипниках свыше 0,6 мм валик нужно заменить в сборе с подшипниками. В сборе меняется еще в случае ослабления внутренних колец подшипников на валике.
Подшипники подлежат замене в случае увеличения радиального зазора в них более 0,1 мм.

Рис. 2.1.100. Схема расположения деталей водяного насоса трактора МТЗ:
1 — шкив; 2 — подшипники; 3 — крыльчатка; 4 — корпус; 5 — патрубок; 6 — валик насоса; 7 — ремень привода водяного насоса; 8 — стопорная пластина; 9 — гайка; 10 — вентилятор
Уплотняющую шайбу торцового уплотнения можно эксплуатировать даже а том случае, если на ней присутствуют небольшие кольцевые риски и следы износа. Но их глубина не должна превышать 0,5 мм. А вообще толщина шайбы не должна быть меньше 2,5 мм. Манжета должна быть цельной, сквозные прорывы недопустимы.
Если вы вдруг обнаружили трещину на корпусе водяного насоса, то его следует заменить. Далее диагностируют посадочные поверхности корпуса под подшипники валика.
Номинальные и допустимые размеры водяного насоса двигателя Д-240, мм
| Расстояние от торца опорной втулки до плоскости разъема: | |
| номинальное | 47,0—47,3 |
| допустимое | 48,5 |
| Допустимый диаметр отверстий корпуса под подшипники: | |
| 305 | 62,07 |
| 304 | 52,06 |
Если в процессе осмотра вы обнаружили на торцовой части опорной втулки корпуса насоса следы стачивания (как правило кольцевые канавки) глубиной значительно больше 0,5 мм, втулку в этом случае выпрессовывают и сменяют на новую.
Собирая насос, резиновые манжеты ставят таким образом, чтобы отвороты с пружинами «смотрели» в сторону подшипников. Гайка ступицы в этом случае затянута моментом 16—19 Н·м. После компоновки всех деталей насоса, валик вращается от усилия руки без торможения крыльчатки. Концы кромок лопастей вентилятора располагаются в одной плоскости.
Основные неисправности устройства
Основными признаками того, что агрегат вышел из строя являются следующие:
- Дизель долго нагревается до оптимальной температуры, а его перегрев происходит очень быстро;
- Показатели температуры силовой установки в процессе движения падают, а при остановке поднимаются;
- Нижний патрубок при прогреве двигателя остаётся тёплым на протяжении нескольких минут;
- Двигатель очень горячий, а нижний патрубок стабильно холодный, даже при прогретом дизеле.
Как переделать печь
Переделка печки заключается в повышении герметичности корпуса, поскольку часть потока воздуха идет мимо теплообменника. Новый кожух изготавливается из тонкого металлического листа. Предусматриваются патрубки подачи теплого воздуха к ногам тракториста и на ветровое стекло. Входное отверстие закрывают щитком с прорезями. Это позволяет снизить количество затягиваемой в кабину пыли. Торцевые кромки радиатора закрывают слоем изоляционного материала, тем самым сокращая тепловые потери. Стыки деталей корпуса проваривают, что снижает ремонтопригодность узла.
Штатный кран в процессе эксплуатации теряет герметичность — трактористы вынуждены работать на машине летом с включенным теплообменником печки. Новый вентиль позволяет устранить неисправность, но после нескольких циклов использования течь появляется опять. Модернизация заключается в установке дополнительного крана шарового типа, который позволяет регулировать интенсивность потока жидкости через теплообменник.
Неполадки и неисправности в системе
Признаком неисправности системы является перегрев двигателя. Первой причиной может быть снижение уровня охлаждающей жидкости в результате течи соединительных резиновых патрубков. После обнаружения причины течи её устраняют затяжкой уплотнительных хомутов или заменой патрубков при их порывах.
Внимание! Для проверки уровня жидкости крышку радиатора открывают осторожно, так как кипяток может выплеснуться из горловины и нанести ожоги. Перед открытием двигателю дают немного остыть, затем, став с наветренной стороны в защитных рукавицах, открывают крышку.
Плохое натяжение или обрыв ремня привода помпы и вентилятора
Причиной перегрева дизеля может быть недостаточная производительность водяного насоса и вентилятора в результате проскальзывания ременной передачи привода. Устраняют буксование регулировкой натяжки ремня. При монтаже или натяжении ремня вентилятора в МТЗ-80(82) степень натяжки изменяется смещением положения генератора, так как шкив узла одновременно выполняет функцию натяжного устройства всего привода. Для регулировки отпускается гайка крепления генератора и смещением его корпуса изменяют степень натяжения. После установки нужного натяжения положение фиксируется затяжкой крепления генератора.
Прогиб ремня на участке «от шкива генератора до шкива коленчатого вала» не должен превышать 10-15 мм при нажатии пальцем руки с усилием 30 – 50 Н. Натяжение проверяют через каждые 60 часов работы. Чрезмерное натяжение приводит к повышенному износу подшипников и ремня привода. Плохое натяжение приводит к перегреву двигателя и износу ремня в результате проскальзывания.
Очистка радиатора
Загрязнение радиатора снаружи ухудшает теплоотдачу узла. Очищение от запыления и извлечение попавших в сетку радиатора и щели между трубками узла пожнивных остатков осуществляют струёй сжатого воздуха. Также нужно не допускать попадание на рабочую поверхность узла масла и топлива, так как масляный налёт будет провоцировать налипание пыли, снижая его теплоотдачу.
Неполное открытие клапана термостата
Отказ работы термостата приводит к работе системы по малому циклу «нагрева». Убедится в отказе работы клапана термостата можно, проверкой температуры патрубков и нижней ёмкости радиатора. Если двигатель нагрет и продолжает набирать температуру на холостых оборотах, при этом нижняя ёмкость радиатора не нагревается и патрубки холодные, значит, клапан не срабатывает и не пропускает жидкость по большому циклу. В этом случае клапан термостата демонтируют и заменяют.
Выход из строя насоса
Скрежет и писк при вращении помпы, а также появление течи и люфтов на оси вращения указывает на выход из строя узла. Причиной поломки водяного насоса, может быть, износ подшипников оси и выход из строя уплотнителей узла. Причинами быстрого износа могут быть чрезмерная натяжка приводного ремня, увеличивающая усилие на подшипники или несвоевременная смазка. Смазку помпы осуществляют через тавотницу при каждом ТО 1 и ТО 2. Замену вышедших из строя уплотнений и подшипников устраняют, осуществляя демонтаж узла с полной разборкой.
Промывка системы охлаждения
Эффективность работы системы снижается в результате образования на стенках водяной рубашки двигателя теплоизолирующей накипи. Так, при наросте отложений в 1 мм — увеличивается расход топлива на 8%, а при дополнительном нарастании повышается температура деталей цилиндропоршневой группы. Накипь уменьшает проходимость каналов водяной рубашки, нарушая циркуляцию. Периодически через 1000 моточасов работы или при сезонном обслуживании осуществляют профилактическую промывку системы. На первом этапе — промывают водой, удаляя осадок и ржавчину. На втором — заливают раствор, в состав которого входят каустическая или стиральная сода 750 грамм, 250 грамм керосина на 10 литров воды. С раствором в системе работают 7-8 часов, после реагент заменяют водой и работают 5 минут, после производят слив. В заключение осуществляют 2-3 промывки рубашки водой.
Нарушения целостности системы
Самой серьёзной поломкой в системе может быть разгерметизация в результате появления трещин в водяной рубашке или металоазбестовой прокладке между блоком двигателя и ГБЦ . В результате нарушения жидкость может попадать в один из цилиндров о чём будет свидетельствовать паровой белый выхлоп отработанных газов. Также жидкость может попадать в систему смазки и стекать в поддон двигателя. При нарушении прокладки ГБЦ в результате прорыва отработанных газов в систему охлаждения возникает избыточное давление и поднятие температурного режима. Во всех описанных случаях рекомендуется заглушить двигатель до обнаружения и устранения неполадки, так как работа на перегретом двигателе приводит к износу прогоранию или заклиниванию с разрушением блока и деталей цилиндропоршневой группы.
Водяной насос МТЗ 80 и 82
На тракторы МТЗ 80 и 82 устанавливаются водяные насосы, подходящие под двигатель Д-240 и Д-243. Дизельная установка оснащается центробежным насосом, который встроен в рубашку охлаждения мотора.

На схеме водяной помпы МТЗ 80 и 82 числами отмечены следующие детали:
| 1 – вентилятор; 2 – ступица; 3 – шпонка; 4 – вал; 5 – шкив водяного насоса МТЗ-80; 6 – упорное кольцо; 7 – масленка; 8 – прижимная пружина; | 9 – крыльчатка водяной помпы; 10 – манжета; 11 – обойма; 12 – уплотнительное кольцо; 13 – сальник; 14 – корпус; 15 – ремень вентилятора; 16 – сальник. |

Водяная помпа МТЗ 80 и 82 расположена в передней части силовой установки. Насос приводится в действие через клиновидный ремень от коленчатого вала дизеля. На шкив коленчатого вала, помимо помпы, смонтирован вентилятор. Он прогоняет воздух через охлаждающий теплообменник радиатора. При номинальных оборотах двигателя 2200 об/мин водяной насос вместе с вентилятором развивают частоту вращения в 2600 об/мин.
Устройство водяного насоса МТЗ 80 и 82 следующее. Помпа собрана в литом чугунном корпусе, который состоит из двух отсеков. В первом – водяном − расположена улитка и крыльчатка насоса. Во втором – масляный отсек с двумя опорными подшипниками вала.

Улитка подсоединяется к блоку тремя болтами. Чтобы жидкости не просачивались сквозь соединения, используется прокладка (торцевое уплотнение). Уплотнение состоит из:
- текстолитовой шайбы;
- резиновой манжеты;
- поджимной пружины.
Чтобы резиновая манжета плотнее прилегала к валику, на нее надеты обоймы.
Крыльчатка водяного насоса МТЗ ставится на валик при помощи торцевого болта. От проворачивания ее удерживает лыска. Валик и крыльчатка вращаются на 2 шариковых подшипниках. Чтобы снизить трение, подшипниковый узел в корпусе между подшипниками заполняется масляной смазкой, например, ЛИТОЛ-24.
Крыльчатка находится в профилированной полости корпуса водяного насоса. Когда она вращается, на входе в эту полость создается область разряжения, которое в свою очередь передается в приемную камеру. Приемная камера через патрубок водяного насоса МТЗ 80 или 82 соединяется с нижним бачком радиатора.
За счет созданного разряжения вода поступает на лопатки крыльчатки водяного насоса МТЗ. Далее под давлением жидкость выталкивается в спиральный канал – улитку. Чтобы сделать водяной насос МТЗ более компактным, улитка «оборачивает» крыльчатку. После прохождения спиральной улитки вода нагнетается в продольный канал системы охлаждения блока цилиндров двигателя.
Отличие водяной помпы МТЗ 80/82 старого и нового образца
Устройство водяной помпы МТЗ 80 и 82 старого и нового образца (с 1987 года) различается. Поэтому при ремонте или выборе ремкомплекта водяного насоса необходимо обязательно обращать внимание на версию трактора. Водяной насос МТЗ нового образца имеет ряд существенных отличий от предыдущих модификаций Белорусов, и детали не являются взаимозаменяемыми.

Ремкомплект водяной помпы Д-240 старого образца
Ремонт водяного насоса МТЗ 80 старого образца требуется достаточно редко, поскольку это надежный узел с деталями, отличающимися высокой ремонтопригодностью. К недостаткам водяной помпы МТЗ 80 и 82 старого образца можно отнести то, что деталей в узле много. Это повышает вероятность того, что какой-то из компонентов выйдет из строя.
Ремкомплект водяного насоса МТЗ 80 старого образца подходит только для тракторов с двигателем Д-240. На более современные модели тракторов с двигателями Д-240, Д-242 и Д-243 устанавливаются водяные насосы МТЗ 80 или 82 нового образца.

Ремкомплект водяного насоса Д-240 нового образца
При необходимости можно шкив нового образца поставить на водяную помпу старого образца. Для этого ступица нового образца выкручивается из шкива – вместо нее нужно установить ступицу старого образца.
Водяная помпа МТЗ 82 нового образца устанавливается на Белорусы после 1987 года выпуска. Главные отличия водяного насоса нового образца следующие:
- используется электрический температурный датчик (на тракторах старого образца он механический);
- другой диаметр вала;
- устанавливаются усиленные опоры вращения;
- водяная полость изолируется графитовым сальником в стальном корпусе (на насосах старого образца используется фибра).

Ремкомплект водяного насоса для Д-240 нового образца с фибровым уплотнителем

Чугунная крыльчатка старого образца
Крыльчатка водяного насоса МТЗ старого образца производится из чугуна. После ее замены или повторной установки обязательно выполняется балансировка. Крыльчатка водяного насоса МТЗ 80 и 82 нового образца производится из пластмассы. Она имеет стальную втулку для напрессовки на вал. Уплотняется вал посредством трения стальной шайбы о графитное уплотняющее кольцо сальника. Шайба скольжения уплотняется изготовленной из резины манжетой, которую прижимает крыльчатка.

Пластиковая крыльчатка нового образца
Водяной насос и компрессор МТЗ-80
Ремонт водяного насоса Д-240 трактора МТЗ-80 Течь воды из дренажного отверстия, повышенный шум и стуки при работе водяного насоса (помпы) указывают на неисправность водяного насоса системы охлаждения дизеля (рис. 2.1.98).

Рис. 2.1.98. Водяная помпа МТЗ-80 в сборе 1 — шкив; 2 — подшипники; 3 — корпус; 4 — крыльчатка; 5 — дренажное отверстие; 6 — валик; 7 — гайка Появление значительного зазора в подшипнике или разрушение подшипника могут привести к повреждению сердцевины радиатора крыльчаткой вентилятора. Повышенный шум и стуки указывают на предельный износ или разрушение подшипников насоса, ослабление посадочного места валика под приводной шкив. Течь охлаждающей жидкости из дренажного отверстия или следы масла на шкиве привода свидетельствуют о разрушении уплотнений валика насоса (С целью повышения надежности и долговечности, на дизели Д-240, начиная с февраля 1987 г., устанавливаются водяные насосы с уплотнением и усиленным подшипниковым узлом). При появлении неисправностей снимают водяную помпу с дизеля Д-240 (рис. 2.1.99) и разбирают для замены изношенных деталей (рис. 2.1.100—2.1.105). Если осевое перемещение валика в подшипниках превышает 0,6 мм или наблюдается ослабление внутренних колец подшипников на валике, то валик заменяют в сборе с подшипниками. При радиальном зазоре в подшипниках, превышающем 0,1 мм, подшипники заменяют (рис. 2.1.106).

Рис. 2.1.100. Взаимное расположение деталей водяного насоса МТЗ-80 1 — шкив; 2 — подшипники; 3 — крыльчатка; 4 — корпус; 5 — патрубок; 6 — валик насоса; 7 — ремень привода водяного насоса; 8 — стопорная пластина; 9 — гайка; 10 — вентилятор Рис. 2.1.99. Снятие водяного насоса Д-240 трактора МТЗ-80 1 — шкив; 2 — водяной насос; 3 — патрубок Рис. 2.1.101. Отворачивание гайки крепления шкива 1 — гайка; 2 — шкив; 3 — стопорная пластина (с февраля 1987 г. стопорная пластина не ставится)

Рис. 2.1.102. Опрессовка шкива 1 — шкив; 2 — двухлапчатый съемник Рис. 2.1.103. Снятие стопорного кольца подшипникаРис. 2.1.104. Отворачивание болта крепления крыльчатки 1 — корпус водяного насоса; 2 — крыльчатка; 3 — болт Рис. 2.1.105. Выпрессовка валика водяной помпы 1— корпус водяного насоса; 2 — выколотка; 3 — крыльчатка Рис. 2.1.106. Спрессовка подшипника с валика водяного насоса 1 — подшипник; 2 — валик водяного насоса; 3 — шток пресса На уплотняющей шайбе торцового уплотнения допускаются кольцевые риски и следы износа глубиной не более 0,5 мм. Толщина шайбы должна быть не менее 2,5 мм. Манжета не должна иметь сквозных прорывов. При наличии трещин корпус водяного насоса Д-240 выбраковывают. Если трещины отсутствуют, измеряют посадочные поверхности корпуса под подшипники валика и результаты сравнивают с допустимыми значениями. Номинальные и допустимые размеры водяной помпы МТЗ-80, мм Расстояние от торца опорной втулки до плоскости разъема: — номинальное — 47,0—47,3 — допустимое — 48,5 Допустимый диаметр отверстий корпуса под подшипники: 305 — 62,07 304 — 52,06 Если на торцовой поверхности опорной втулки корпуса насоса имеются следы износа (кольцевые канавки) глубиной более 0,5 мм, то втулку выпрессовывают и заменяют новой. При оборке насоса резиновые манжеты устанавливают так, чтобы отвороты с пружинами были обращены в сторону шарикоподшипников. Гайка ступицы должна быть затянута моментом 16—19 Нм.
После сборки насоса валик должен вращаться от усилия руки без заеданий крыльчатки. Концы кромок лопастей вентилятора должны находиться в одной плоскости. Ремонт компрессора трактора МТЗ-80 Отсутствие давления воздуха в пневмосистеме трактора МТЗ-80 указывает на нарушение герметичности клапанов компрессора, проскальзывание приводных ремней на шкиве. Если увеличением натяжения ремней не удается достичь нормального давления в пневмосистеме, а утечки воздуха не обнаружены, компрессор снимают с дизеля, разбирают и проверяют техническое состояние его деталей. При снятии компрессора отсоединяют всасывающий, нагнетательный и масляный трубопроводы (рис.2.1.80), отворачивают три гайки и болт крепления (рис. 2.1.81). Для проверки технического состояния клапанов компрессора отворачивают штуцер и пробку, вынимают корпус и извлекают пружину клапана. Рис. 2.1.80. Отсоединение трубопроводов 1 — нагнетательный трубопровод; 2 — всасывающий трубопровод Рис. 2.1.81. Отсоединение компрессора от дизеля Д-240 1 — компрессор; 2 — дизель; 3 — гайка Изношенные или поврежденные клапаны заменяют. Клапаны с двусторонней шлифованной поверхностью можно перевернуть. Новые клапаны притирают, притертые поверхности тщательно промывают в керосине или дизельном топливе. При необходимости меняют и пружины клапанов. Пониженное давление может вызываться износом деталей цилиндропоршневой группы компрессора (рис. 2.1.84). Признаком износа является повышенное содержание масла в конденсате вследствие износа поршневых колец и уплотнений коленчатого вала. Появление стуков в зоне движения поршня свидетельствует о его износе, а в зоне коленчатого вала — об износе биметаллических вкладышей шатунного подшипника или износе игольчатого подшипника шейки коленчатого вала.

Рис. 2.1.84. Компрессор МТЗ-80 а — общий вид; б — взаимное расположение деталей; 1 — картер; 2, 4 — прокладки; 3 — цилиндр; 5 — головка цилиндра; 6 — седло клапана; 7 — пружина клапана; 8 — корпус клапана; 9 — пробка; 10 —крышка; 11 — маслопровод; 12 — ось; 13 — втулка; 14 — шестерня; 15 — коленчатый вал; 16 — вкладыш шатуна; 17 — крышка шатуна; 18 — подшипник; 19 — шатун; 20 — втулка; 21 — палец; 22 — поршень; 23 — маслосъемные кольца; 24 — компрессионные кольца; 25 — специальный болт Для устранения указанных неисправностей разбирают компрессор (рис. 2.1.85—2.1.88) и подвергают детали экспертизе с целью определения технического состояния. Рис. 2.1.85. Снятие цилиндра 1 — цилиндр; 2 — гайка Рис. 2.1.86. Снятие поршневого кольца 1 — поршневое кольцо; 2 — поршень Индикаторным нутромером можно замерить внутренний диаметр цилиндра (72,00— 72,03 мм), а микрометром — наружный диаметр юбки поршня (71,86—71,89 мм). Размеры даны для компрессора А-29.01.000. Зазор в замке кольца, установленного в цилиндр, должен быть не более 1,2 мм; торцовый зазор между поршневым кольцом и канавкой поршня — не более 0,4 мм.
Если наблюдается значительная амплитуда качания верхней головки шатуна в плоскости, параллельной оси коленчатого вала, заменяют шатунный подшипник. Операции замены шатунного подшипника с неразъемной нижней головкой шатуна показаны на рис. 2.1.89—2.1.95. В случае замены деталей механизма привода снимают рычаг и выпрессовывают ось привода (рис. 2.1.96, 2.1.97). При сборке устанавливают цилиндр на корпус картера и затягивают головку динамометрическим ключом в два приема моментом 12—17 Hм.

Рис. 2.1.94. Снятие шатуна 1 — шатун; 2 — коленчатый вал

Рис. 2.1.95. Снятие игольчатого подшипника с коленчатого вала 1 — игольчатый подшипник; 2 — коленчатый вал

Рис. 2.1.97. Выпрессовка оси привода 1 — фиксатор; 2 — ось привода
- https://yamobur-spec.ru/selhoztehnika/kak-razobrat-pompu-mtz-82.html
- https://transotdel.ru/selskoe-hozyajstvo/termostat-d-240.html
- https://vsemtz.ru/remont-i-obsluzhivanie/vodyanoj-nasos-mtz-podbor-pompy-dlya-mtz-80-82-1221-i-dr-kak-snyat-razobrat-i-sobrat-poshagovyj-remont
- https://evakuatorinfo.ru/kak-snyat-krylchatku-s-vala-pompy-mtz/
- https://SpecTorg.su/na-pole/pompa-mtz-80-ustrojstvo.html



