- Устройство ТНВД для МТЗ — 80, 82
- Замена масляного насоса: можно ли поставить другую модель
- Система смазки двигателя Д 240 — центрифуга, масляный насос и обслуживание
- » Двигатель Д-240 » Система смазки двигателя Д 240 — центрифуга, масляный насос и обслуживание
- Сфера применения устройств
- Насос масляный МТЗ: характеристики, устройство, схемы, сколько зубов на шестерне привода
- Принцип работы УТН — 5
- ТНВД трактора МТЗ: Устройство, регулировка, советы
- Общее устройство дизеля Д-243 трактора МТЗ-82
- Главные механизмы дизеля
- СИСТЕМА СМАЗКИ ДВИГАТЕЛЯ Д-240
- Составные элементы дизельного мотора
- Цилиндровый блок
- Головка дизельного механизма
- Проверка (регулировка) топливного насоса
- Теоретические рекомендации
- Смена масла
- Надежность, проблемы и ремонт ММЗ Д-243
- Модификации Д-243 и их отличия
- Устройство масляного насоса на МТЗ для двигателей Д-240, 243, 245 и модификаций: схема, характеристики
- Масляный насос для Д-240
- Схема масляного насоса МТЗ-80/82
- Масляный насос для Д-245
- Масляный насос Д-260 и модификаций
Устройство ТНВД для МТЗ — 80, 82
УТН — 5, как называется топливный насос для белорусской марки тракторов, изготавливается из прочного сплава алюминия и выпускается в двух возможных вариантах установки — левом и правом, в зависимости от конструктивных особенностей крепления фланца. По всему корпусу он разделён на две полостные части специальной перегородкой, где в нижней полости находится вал с приводом насоса, а в верхней отдельные секции этого насоса.
Полное детальное устройство топливного насоса высокого давления двигателя Д-240 вы можете прочитать далее

Топливный насос с регулятором:
1 — нажимной штуцер; 2 — зажимы; 3 — пружина; 4 — нагнетательный клапан; 5 — седло клапана; 6 — прокладка; 7 — втулка плунжера; 8 — плунжер; 9 — пробка; 10 — зубчатый венец; 11 — поворотная втулка; 12 — крышка регулятора; 13 — тяга рейки; 14 — рычаг пружины; 15 — пружина регулятора; 16 — пружина обогатителя; 17 — основной рычаг; 18 — корпус корректора; 19 — шток корректора; 20 — винт регулировочный; 21 -промежуточный рычаг; 22 — болт номинала; 23 — болт; 24 — корпус регулятора; 25 — ось груза; 26 — пята; 27 — муфта; 28 — ось пяты; 29 — ось рычага; 30 — грузы регулятора; 31 — упорные шарикоподшипники; 32 — спускная пробка; 33 — ступица грузов; 34 — сухарь амортизатора; 35 — шайба; 36 — стакан подшипника; 37 — маслоотражатель; 38 — рычаг управления; 39 — кулачковый вал; 40 — заглушка; 41 — эксцентрик привода подкачивающего насоса; 42 — фланец для крепления подкачивающего насоса; 43 — регулировочная шайба; 44 — плита крепления; 45 — корпус насоса; 46 — маслоподводящее отверстие; 47 — гайка валика; 48 — шлицевая втулка; 49 — установочный фланец; 50 — толкатель с роликом; 51 — регулировочный болт толкателя; 52 — тарелка пружины (нижняя); 53 — пружина плунжера; 54 — тарелка пружины; 55 — зубчатая рейка; 56 — болт для спуска воздуха; 57 — канал для отвода топлива; 58 — перепускная трубка; 59 — корпус перепускного клапана; 60 — пробка; 61 — шарик-клапан; 62 — отверстие для подвода топлива; 63 — канал для подвода топлива; 64 — отсечное отверстие; 65 — впускное отверстие втулки плунжера; 66 — штифт; 67 — крышка люка; 68 — регулировочный винт; 69 — прокладка; 70 — заливная пробка; 71 — регулировочный винт; 72 — пружина корректора; 73 — стяжной винт.
Здесь же, вы можете увидеть всю топливную систему белорусского трактора целиком:

Система питания дизеля (схема):
1 — глушитель; 2 — воздухоочиститель; 3 — фильтр грубой очистки воздуха; 4 — впускной коллектор; 5 — электрофакельный подогреватель; 6 — топливный бачок электрофакельного подогревателя; 7 — дренажная трубка; 8 — трубка высокого давления; 9 — заливная горловина; 10 — топливные баки; 11 — сливной кран; 12 — трубка топлива; 13 — фильтр грубой очистки топлива; 14 — фильтр тонкой очистки топлива; 15 — трубка от фильтра тонкой очистки к топливному насосу; 16 — трубка от фильтра-отстойника к топливному насосу; 17 — регулятор топливного насоса; 18 — топливная трубка от подкачивающего насоса к фильтру тонкой очистки; 19 — подкачивающий насос; 20 — перепускная трубка; 21 — топливный насос; 22 — форсунка; 23 — выхлопной коллектор; 24 — нижний фильтрующий элемент; 25 — средний фильтрующий элемент; 26 — верхний фильтрующий элемент.
В верхней полостной точке УТН — 5 двигателей Д-240 расположены два продольных канала, образующих собой каре, один конец которого к фильтру тонкой очистки топлива, а другой, соответственно, к самой подкачке в насосе, где в штуцере вмонтирован пропускной клапан.
Замена масляного насоса: можно ли поставить другую модель
Масляный насос трактора МТЗ 80, особенно если речь идет о старых Беларусах с Д-240, может не справляться с нагрузкой, поэтому у многих трактористов возникает вопрос, возможна ли замена насоса на другую модель? Например, при установке насоса с шестернями привода с меньшим числом зубьев получился бы прирост по оборотам.
Замена масляного насоса совсем не обязательно должна выполняться на агрегат той же модели. Обычно есть смысл для Д-240 (а иногда и более поздних версий Д-241, Д-242, Д-243 и т.д.) ставить более мощный масляный насос от Д-245.

Чтобы при замене потребовались минимальные переделки, нужно менять одновременно насос и шестерню коленвала.
Все остальные габариты будут идентичными, поэтому с подсоединением маслозаборника и трубок проблем не возникнет.
Для успешной замены масляного насоса МТЗ, если вы хотите заменить его на аналогичный, нужно:
- уточнить модификацию движка и посмотреть каталожный номер;
- посмотреть, сколько зубьев на шестерне привода;
- выбрать запчасти с такими же каталожными номерами (обязательно нужно уточнить число зубов на шестерне привода, иначе детали не встанут).
Для замены маслонасоса на другую версию нужно:
- выбрать масляный насос для МТЗ с подходящими характеристиками;
- уточнить, сколько зубьев на шестерне привода;
- если число зубов совпадает с количеством зубьев на шестерне коленвала, то можно взять только насос, в противном случае для успешной замены надо заказать и шестерню вала, подходящую к нему.
Система смазки двигателя Д 240 — центрифуга, масляный насос и обслуживание
» Двигатель Д-240 » Система смазки двигателя Д 240 — центрифуга, масляный насос и обслуживание
На двигателе Д-240 реализована комбинированная система смазки. Исходя из условий работы деталей, масло поступает к трущимся поверхностям (шатунные и коренные шейки коленвала, опорные шейки распредвала, втулки шестерни топливного насоса и промежуточной шестерни) под давлением, но пульсирующим потоком (механизм клапанов) или путем разбрызгивания. В систему смазки двигателя входят: полнопоточный центробежный масляный фильтр (центрифуга), масляный насос с маслоприемником и масляный радиатор. Также к системе смазки относятся соединительная арматура, маслопроводы, предохранительные клапаны, контрольные приборы и другие. Часть компонентов дизеля (пускач, помпа, топливный насос) имеют собственную автономную схему смазки. Для смазки двигателя трактора МТЗ-82 применяется моторное масло: зимой — марки М8Г2, летом — М10Г2. Масло необходимо менять каждые 480 часов работы двигателя.
Сфера применения устройств
Мотор прост в эксплуатации, неприхотлив, не доставляет трудностей в обслуживании. За счет универсальности и преимуществ двигатели получили широкое применение. В настоящее время они устанавливаются в следующие виды машин:
Подобная модификация имеет ту же сферу применения, что прочие разновидности данного дизельного двигателя.
Насос масляный МТЗ: характеристики, устройство, схемы, сколько зубов на шестерне привода
Чтобы двигатели тракторов МТЗ не выходили из строя из-за высокого трения деталей, на Белорусах используется продуманная система смазки. Ее ключевым компонентом является масляный насос, который осуществляет принудительную подачу масла к трущимся деталям мотора. Система смазывания обеспечивает смазывание подвижных элементов коленвала, распределительного вала, шестерен топливного насоса и промежутки.
Масляный насос на тракторе МТЗ подает техническую жидкость под давлением путем промывания (клапаны) или разбрызгивания. О его характеристиках и устройстве, схеме и основных компонентах, а также о том, как проверить, снять и заменить, поговорим далее в статье.
Принцип работы УТН — 5
К корпусу топливного насоса снаружи прикреплён насос подкачки, крепёжная плита с фланцем и регулятор, а к каждому из штуцеров подключён топливопровод высокого давления, через которые к форсунке и подаётся необходимое горючее. Привод насоса осуществляется шестерёнкой коленвала, которая соединяется с промежуточной шестерёнкой и шестерёнкой самого насоса.
Если в насосе когда-либо производился ремонт, то после каждой разборки/сборки необходимо точно выверять угол соединений шестерёнок, ибо при неверном наклоне сбой в работе неизбежен. Градус угла наклона всегда должен соответствовать 22°30″ и проверяться, конечно, желательно мотористами, а не самостоятельно.
ТНВД трактора МТЗ: Устройство, регулировка, советы
![]()
Особенности устройства ТНВД МТЗ-80, 82. Детальные схемы и полезные рекомендации.
Состоящая из двух баков для топлива, двух фильтров (грубой и тонкой) очистки, топливного насоса высокого давления (ТНВД) топливная система этой марки тракторов достаточно проста и стандартна для большинства как дизельных, так и бензиновых двигателей. Рассматривая ТНВД МТЗ – 80 на схеме далее и зная подробное устройство со всеми составляющими деталями, можно практически не сомневаться в возможности самостоятельного ремонта этой техники. В топливном насосе трактора МТЗ – 80, 82 и его поздних модификациях всего более 70 деталей.
Общее устройство дизеля Д-243 трактора МТЗ-82
Дизельный двигатель (дизель) Д-243 — это основной вид ДВС, применяемого на тракторе МТЗ-82. Дизелем называется поршневой двигатель, который вырабатывает механическую энергию при сгорании топливовоздушной смеси, образующейся внутри его цилиндров.
Самовоспламенение топлива, впрыскиваемого в камеры сгорания цилиндров дизеля в мелко распыленном виде, происходит вследствие окисления и нагрева его капель при их контакте с нагревшимся в результате сжатия воздухом.
Устройство и принцип действия дизеля Д-243, его механизмов и функции систем

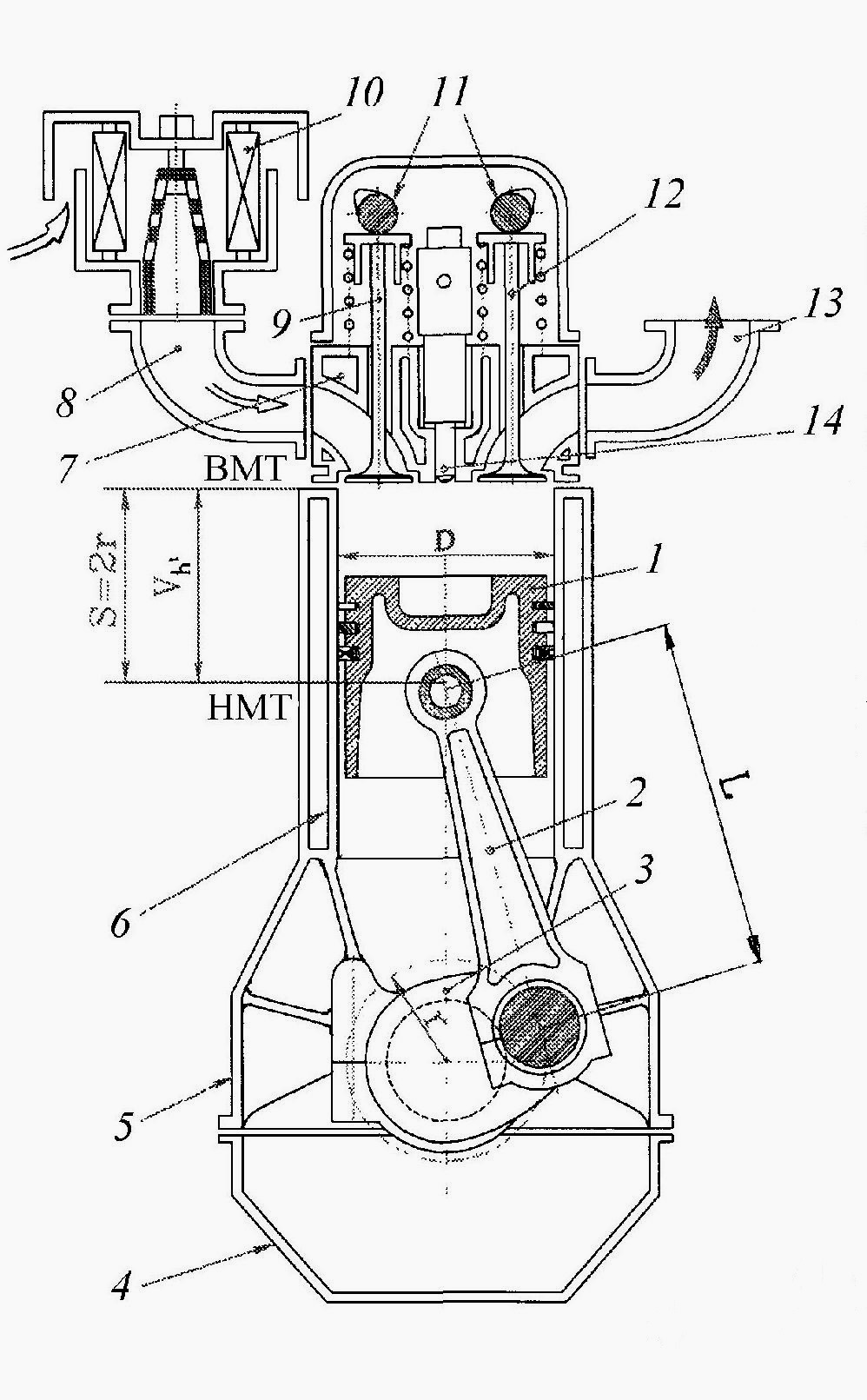
Рис.1. Принципиальная схема дизельного двигателя Д-243
Поршень 1 цилиндров (рис.1), представляющий собой перевернутый вверх дном стакан, с помощью поршневого пальца шарнирно соединен с верхней головкой шатуна 2, нижняя головка которого надета на шатунную шейку кривошипа 3.
Опорные (коренные) шейки кривошипа вращаются в подшипниках, размещенных в поперечных перегородках верхней половины картера 5 блока цилиндров МТЗ-82.
При вращении кривошипа вокруг своей продольной оси поршень совершает возвратно-поступательное движение в цилиндре 6, выполняющего для него роль направляющей поверхности. Нижней половиной картера является поддон 4, служащий резервуаром для смазочного материала (масла).
В многоцилиндровом дизеле его кривошипы объединены в единую деталь — коленчатый вал, а цилиндры — в блок цилиндров. Для повышения жесткостей блока цилиндров Д-243 и картера их обычно выполняют в виде единой литой детали — блок-картера.
Сверху блок-картер накрыт общей для всех цилиндров или индивидуальными для каждого цилиндра головками 7, в которых расположены органы газораспределения дизеля.
Детали ГРМ дизельного двигателя трактора МТЗ-82 обеспечивают впуск в цилиндр прошедшего через очиститель 10, через впускную трубу 8 и открытый впускной клапан 9 воздуха, а также выпуск из цилиндра в атмосферу продуктов сгорания топлива через открытый выпускной клапан 12 и трубу 13. Движениями клапанов управляют кулачки 11, выполненные за одно целое с распределительным валом или валами.
В головке цилиндра дизеля Д-243 через форсунку 14 производится впрыскивание мелко распыленного топлива в воздух, который заполнил камеру сгорания, расположенную в днище поршня.
Образующиеся при сгорании впрыснутого топлива газы резко повышают давление в цилиндре, вызывая опускание поршня и вращение кривошипа (коленчатого вала), которое передается трансмиссии и ходовой части трактора.
Совершаемая газами работа и, следовательно, мощность дизельного двигателя могут изменяться в зависимости от количества впрыскиваемого и сгорающего в его цилиндрах топлива.
Однако такое изменение должно быть пропорционально изменению количества находящегося в цилиндрах воздуха, иначе сгорание топлива будет неполным и в отработавших газах появятся токсичные вещества (оксид углерода, несгоревшие углеводороды и др.), а также твердые частицы — сажа.
Дизель Д-243 имеет два механизма: кривошипно-шатунный механизм и механизм газораспределения (ГРМ).
Кривошипно-шатунный механизм (КШМ) создает вращательное движение вала, от которого крутящий момент передается потребителям.
Неподвижными деталями являются КШМ МТЗ-82:
— блок-картер в сборе с крышками и вкладышами коренных подшипников коленчатого вала;
— прикрепленные к блок-картеру общая (или индивидуальные) головка цилиндров, масляный поддон, картер маховика, крышка привода механизма газораспределения.
Эти детали образуют остов (корпус) дизеля, к которому крепятся его вспомогательные агрегаты, а также кронштейны, через которые он опирается на раму трактора.
К подвижным деталям КШМ Д-243 относятся:
— поршень в сборе с компрессионными и маслосъемными кольцами, поршневым пальцем и деталями его фиксации (поршневая группа);
— шатун в сборе с втулкой-подшипником поршневого пальца, крышкой его кривошипной головки, болтами ее крепления к телу шатуна, вкладышами шатунного подшипника (шатунная группа);
— коленчатый вал в сборе с противовесами, гасителем его крутильных колебаний, маховиком, ведущими деталями привода механизма газораспределения и вспомогательных агрегатов (кривошипная группа).
Механизм газораспределения (ГРМ) дизельного двигателя МТЗ-82 обеспечивает своевременные впуск атмосферного воздуха в цилиндры дизеля и выпуск из них отработавших газов.
ГРМ Д-243 включает в себя ведомые детали его привода, распределительный вал с кулачками привода клапанов, толкатели, штанги и коромысла с их осями и стойками осей, клапаны с пружинами и деталями их фиксации.
Системы дизеля Д-243 трактора МТЗ-82 выполняют следующие основные функции:
— Система питания воздухом обеспечивает впуск в цилиндры дизеля очищенного воздуха непосредственно из атмосферы, или после сжатия его в компрессоре, или после охладителя.
Эта система включает воздухоочиститель, индикатор запыленности очищенного в нем воздуха, компрессор агрегата наддува, охладитель наддувочного воздуха, воздушные трубопроводы.
— Система питания топливом (топливная система) дизельного двигателя Д-243 обеспечивает хранение на тракторе запаса топлива, его фильтрацию, дозирование в зависимости от режима работы дизеля, впрыскивание в цилиндры по заданному закону в мелко распыленном виде и в наивыгоднейшие моменты времени.
Система включает топливный бак, фильтры грубой и тонкой очистки топлива, подкачивающий насос, насос высокого давления, регулятор частоты вращения дизеля, корректоры цикловой подачи топлива, трубопроводы высокого и низкого давления, форсунки.
— Система выпуска отработавших газов дизеля МТЗ-82 обеспечивает выпуск из цилиндров продуктов сгорания топлива либо непосредственно в атмосферу, либо через турбину агрегата наддува.
— Система охлаждения двигателя обеспечивает наивыгоднейшее тепловое состояние дизеля в зависимости от режима его работы и температуры окружающей среды путем регулируемой отдачи охлаждающему агенту части количества теплоты, выделившейся при сгорании топлива и трении подвижных деталей.
Агентами охлаждения являются специальные жидкости или атмосферный воздух. Система охлаждения трактора МТЗ-82 включает следующие компоненты: жидкостные рубашки охлаждения цилиндров и их головок, насос, вентилятор, радиатор, соединительные трубы или шланги;
— Система смазки дизеля Д-243 обеспечивает снижение потерь мощности дизеля на преодоление трения между его движущимися деталями и отвод теплоты трения путем создания между ними слоя смазочного материала.
Система включает резервуар масла (поддон), насос с маслоприемником, фильтры грубой и тонкой очистки масла, его охладитель, предохранительные и перепускные клапаны, заливную горловину, сливную пробку, измеритель уровня масла в резервуаре, трубопроводы и соединительные шланги.
— Система вентиляции картера дизельного двигателя обеспечивает поддержание в заданных пределах давления газов, прорвавшихся в картер через компрессионные поршневые кольца, путем их отсоса в находящуюся под разрежением зону впускного тракта дизеля. Эта зона находится в трубопроводе после воздухоочистителя.
Технические характеристики и параметры дизельного двигателя Д-243 трактора МТЗ-82
Тип — Четырехтактный дизель, без турбонаддува
Способ смесеобразования — Непосредственный впрыск топлива
Порядок работы цилиндров — 1 — 3 — 4 — 2
Рабочий объем цилиндров, л — 4,75
Допустимый продольный и поперечный наклон работающего дизеля, не более, град. — 20
— номинальная, кВт — 59,6
— эксплуатационная, кВт — 57,4
Допуск на номинальную и эксплуатационную мощность, кВт +3,7
Номинальная частота вращения, мин — 2200
Максимальная частота вращения холостого хода, ограничиваемая регулятором, не более, мин — 2380
Минимальная устойчивая частота вращения холостого хода, не более, мин — 600
Степень сжатия (расчетная) — 16
Направление вращения коленчатого вала дизеля — Правое (по часовой стрелке)
Максимальный крутящий момент, Нм — 298
Частота вращения при максимальном значении крутящего момента, не менее, мин — 1600
Удельный расход топлива на режиме номинальной мощности, г/кВтч — 226,0
Удельный расход топлива на режиме эксплуатационной мощности, г/кВтч — 235
Общий расход масла с учетом замены за весь гарантийный срок работы, не более, % к расходу топлива — 1,1
Давление масла в главной магистрали системы смазки дизеля при температуре 85-95°С, МПа
— при номинальной частоте вращения — 0,25 — 0,35
— при минимальной частоте вращения холостого хода, не менее — 0,08
Масса дизеля сухого с вентилятором, генератором, воздухоочистителем, без муфты сцепления, кг — 430/490
Пусковое устройство: стартер — 24.3708 / пусковой двигатель — П-10УД.
Главные механизмы дизеля
Двигатель газель бизнес (умз 4216) устройство, грм, технические характеристики
Для обеспечения нормальной работы двигателя Д-243 необходимы два элемента.
Кривошипно-шатунный механизм мотора включает в себя следующие детали:

Кривошипно-шатунный механизм Д-243
- Коленвал. Производится из стали, уплотняется манжетами с обеих сторон. На вал крепятся приводы масляного насоса, шкив генератора и другие детали.
- Поршни. Изготавливаются из алюминия. На поршнях располагаются канавки, в которые монтируются 3 компрессионных кольца и 1 маслосъемное.
- Шатуны. Стальные детали, на головке которых имеется запрессованная втулка и каналы для попадания масла в поршни.
- Коренные и шатунные подшипники. Для дизеля Д-243 подбираются вкладыши с двумя разными размерами.
- Маховик. Чугунный элемент, который закрепляется на фланце коленчатого вала.
Механизм газораспределения состоит из следующих деталей:
- Распределительный вал. Устанавливается на коленвале, имеет 3 втулки, выполняющие функции подшипников.
- Толкатели. Стальные элементы с рабочей частью, выполненной из отбеленного чугуна.
- Штанги. Взаимодействуют с толкателями. При их производстве используются стальные стержни.
- Коромысла клапанов. В механизме газораспределения дизельного мотора они раскачиваются на оси и фиксируются на цилиндрах 4 шпильками.
- Выпускные и впускные клапаны. Выполнены из жаропрочной стали, закрываются при помощи пружин.
- Уплотнительные манжеты. Предотвращают попадание масла в выхлопной коллектор и цилиндры.

Схема газораспределительного механизма двигателя Д-245
СИСТЕМА СМАЗКИ ДВИГАТЕЛЯ Д-240
На двигателе Д-240 трактора МТЗ-80, применена комбинированная одноконтурная система смазки. Насос 2 (рис. 1) засасывает масло через маслозаборник 1 и нагнетает в полнопоточную активно-реактивную (бессопловую) центрифугу 4. Дальше масло через радиатор 5 или минуя его поступает в магистраль блок-картера к коренным подшипникам коленчатого вала и подшипникам распределительного вала. От коренных подшипников по сверлениям в щеках оно подводится к шатунным. От шейки распределительного вала масло пульсирующим потоком поступает во внутреннюю полость оси коромысел, а через отверстия в ней — к втулкам коромысел. По имеющимся в коромыслах каналах масло поступает к сферическим поверхностям штанг толкателей.
Гильзы цилиндров, поршни, толкатели, кулачки распределительного вала, зубья шестерен и другие детали двигателя Д-240 трактора МТЗ-80 смазываются маслом, вытекающим из зазоров подшипников.
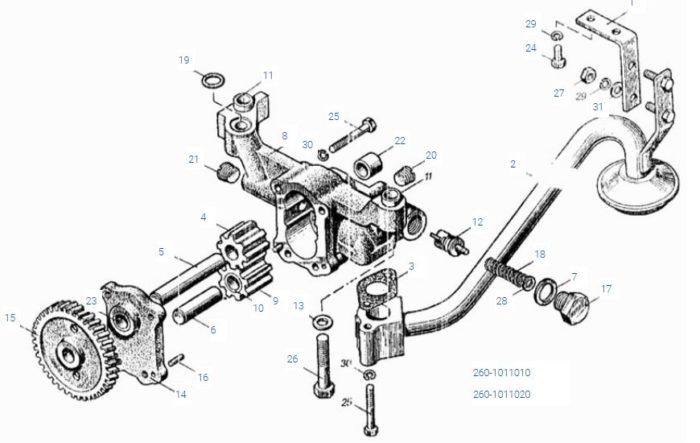
Масляный насос (рис. ниже) одноступенчатый, шестеренного типа, установлен на крышке первого коренного подшипника коленчатого вала и приводится во вращение от коленчатого вала дизеля. Основные части насоса: корпус 2, крышка 5, шестерня 6 привода и ведущая шестерня 9, укрепленные на валу , и ведомая шестерня 4, расположенная на пальце 3.

При вращении шестерен 9 и 4 в зоне всасывания создается разрежение, благодаря которому масло через маслозаборник поступает в насос. Попадая между зубьями шестерен, масло нагнетается в магистраль, а из нее подается к трущимся деталям.
Глубина расточек под шестерни в корпусе, ширина шестерен и их расположение выполняются с большой точностью. Для герметичности внутренней полости масляного насоса привалочные плоскости корпуса и крышки шлифуют. Чтобы создать соосность подшипников, крышка соединяется с корпусом при помощи двух контрольных штифтов, отверстия для которых обрабатываются совместно. Поэтому перестановка крышки с одного насоса на другой недопустима. Подача насоса 36 л/мин при частоте вращения 2320 об/мин и развиваемом насосом давлении 0,70. 0,75 МПа (7,0. 7,5 кгс/см2).

Масляный фильтр (рис. ниже) предназначен для очистки масла, циркулирующего в смазочной системе. На дизеле установлен центробежный фильтр с бессопловым гидравлическим приводом.
В корпус 79 центрифуги ввернута ось 15, на которой вращается ротор, состоящий из остова 8, внутреннего стакана 77, нижней крышки 12 и верхней крышки 13. Крышка 12 крепится на остове 8 гайкой и уплотняется резиновым кольцом 14. Шайба 2 и гайка 4, установленные на верхнем резьбовом конце оси 15, ограничивают осевое перемещение ротора. Сверху ротор закрыт колпаком 7, который закреплен гайкой 3 с шайбой 2. Внутри оси проходит маслоотводящая трубка.
От масляного насоса масло по каналу в блоке цилиндров, а затем по кольцевому каналу и отверстиям в оси ротора поступает в насадок 10, который закреплен на оси штифтом. Через щели в насадке масло подается в тангенциальном направлении, приобретает вращательное движение и через отверстия в остове ротора попадает во внутренний стакан 77. Отражательный буртик крышки ротора направляет масло вверх. Под действием центробежных сил продукты сгорания и разложения масла и износа деталей отлагаются на внутренних стенках ротора. Очищенное масло с большой скоростью через тангенциальное отверстие в верхней части выбрасывается во внутреннею проточку корпуса ротора в зоне выходных радиальных отверстий (7) оси ротора. При этом возникает реактивная сила, которая вращает ротор. Затем масло через отверстия в оси ротора и трубку (9) поступает в главную масляную магистраль.
Редукционный (нерегулируемый) клапан
17 служит для перепуска холодного масла в магистраль, минуя масляный радиатор. Усилие пружины клапана меньше сопротивления радиатора потоку холодного масла, поэтому, если оно холодное, клапан открывается, и масло поступает в магистраль.
Масляный радиатор
предназначен для охлаждения масла, температура которого может значительно увеличиваться при длительной работе дизеля с полной нагрузкой, особенно в условиях высоких температур окружающей среды. Проходя по многочисленным трубкам радиатора, масло охлаждается встречным потоком воздуха на 10-15°С и поступает в дизель.

Комплектующие детали и компоненты масляного радиатора двигателя Д-240/243 трактора МТЗ-80
- 0 — 70-1405100 Маслопровод в сборе
- 1 — 70-1405089 Штуцер
- 2 — А40/50-4616339 Шайба
- 3 — 70-1405120 Маслопровод
- 4 — ХС-21-П29 Хомутик
- 5 — 70-1405013 Шланг
- 6 — 70-3407146 Планка
- 7 — 70-3506027 Втулка
- 8 — 70-3407144 Планка
- 9 — Болт М8-6gх35.88.35.019 ГОСТ 7796-70
- 10 — Шайба 8Н ГОСТ 6402-70
- 11 — 70-1405109 Маслопровод
- 12 — Болт М8-6gх45.88.35.019 ГОСТ 7796-70
- 13 — Шайба 8 ГОСТ 11371-78
- 14 — Гайка М8.6Н.019 ГОСТ 5915-70
- 15 — 70-1405117 Маслопровод
- 16 — 70-1405011 Трубка
- 17 — 70-1405112 Хомутик
- 18 — 70-1405230 Фильтр
- 19 — 70У-1405010 Радиатор
- 20 — 70-1405110 Маслопровод
- 21 — 40-4607038-А Шайба
- 22 — 40-4607032 Болт
- 23 — 70-1405120 Маслопровод
Составные элементы дизельного мотора
Конструкция Д-243 обладает традиционным оснащением. Основа представлена блоком цилиндров, изготовленных из чугуна. Из этого же материала производится головка блока и элементы системы газораспределения.
Цилиндровый блок

Конструкция двигателя Д-243
Представляет собой основу конструкции устройства. Производится из чугуна и имеет 4 отверстия для фиксации цилиндров. Установка производится при помощи гильз, которые закрепляются в верхнем посадочном поясе. Нижняя часть элементов монтируется специальными резиновыми кольцами. Между блоком цилиндров и гильзой остается свободное пространство, в котором перемещается охлаждающая жидкость.
В блоке есть каналы для подачи смазки к подшипникам. С внешней стороны устройства имеются плоскости, предназначенные для фиксации различных приспособлений: водяной помпы, фильтров и прочих.
Головка дизельного механизма
Является цельным элементом дизельного двигателя Д-243, отливается из чугуна. Деталь обеспечивает полноценное функционирование топливной и газораспределительной системы. В головке имеются каналы, обеспечивающие приток свежего воздуха и удаление отработанных газов. Перекрываются отверстия специальными клапанами.
В верхней части располагаются коромысла, колпак, закрывающий клапаны, и всасывающий коллектор. Рядом с ТНВД находятся форсунки. С противоположной стороны – выхлопной коллектор.
Проверка (регулировка) топливного насоса

Прежде, чем осуществить проверку, необходимо убедиться в плотности запирающего конуса клапана нагнетания и в достаточном давлении насосной секции, находящейся в верхней полости.
Вращая коленчатый вал, нужно сдвигать регулятор до тех пор, пока стрелка на манометре не остановится на цифре 15 МПа. Двигатель после этого останавливают и отключают подачу горючего регуляторным рычагом. При падении давления на манометре менее, чем за 10 секунд, клапан соответствует исправности и дальнейшему использованию.
Чтобы отрегулировать точный угол начала поступления горючего вам потребуется вкручивать/выкручивать специальный регулировочный болт. При откручивании болта угол будет увеличиваться, а при обратном вкручивании, соответственно, уменьшаться. Обратите внимание, что один виток (оборот) вкручивания/раскручивания регулирует скорость оборотов двигателя приблизительно на 30-50 оборотов. При раскрутке болта производительность и пропускная способность насоса пропорционально уменьшается, а при закрутке, наоборот, увеличивается.
Теоретические рекомендации
Вы можете логически вычислить, что при увеличении подачи горючего в мотор увеличивается и его крутящий момент, который, естественно, повышает номинальную мощность двигателя Д-240. К тому же, до пределов своих возможностей повышается и скоростной режим работы.
Замена масла в насосе УТН — 5 необходима только после разборки и ремонта, а в повседневной эксплуатации трактора не нужна. Заливка дизельного масла должна производиться через картер ТНВД в объёме 150-200 мл.
Смена масла
Замена масла и масляного фильтра проводится достаточно характерно для всех моделей силовых агрегатов ММЗ с маркировкой Д. Сам процесс особо не отличается от других дизельных моторов. Рассмотрим, основные аспекты проведения ТО.
- Откручиваем сливную пробку на поддоне картера. Не стоит забывать устанавливать тару, куда будет сливать жидкость.
- После того, как масло сбежало, необходимо закрутить сливную пробку.
- Меняем тонкий и грубый фильтр очистки масла.
- Заливаем новую смазочную жидкость двигателя.
- После прогрева, необходимо проверить уровень смазки в движке. При необходимости залить недостающее количество.

Головка блока цилиндров Д243
Надежность, проблемы и ремонт ММЗ Д-243
Производство дизеля Д243 на заводе в Минске было начато в 1974 году, и это был рядный 4-х цилиндровый мотор. Здесь применен чугунный блок цилиндров с мокрыми гильзами из чугуна, внутри этого блока стоит стальной коленвал с ходом поршня 125 мм, с коренными шейками 75.25 мм и с шатунными шейками 68.25 мм. Шатуны стальные длинной 230 мм, поршни алюминиевые диаметром 110 мм с поршневыми пальцами диаметром 38 мм. Это обеспечивает рабочий объем 4.75 литра.Давление масла на ММЗ Д-243 должно находиться в диапазоне 2.5-3.5 кгс/см2.
Сверху блока установлена чугунная головка с 2-мя клапанами на цилиндр. Диаметр впускных клапанов 48 мм, а выпускных 42 мм, толщина ножки — 11 мм. Это нижневальный мотор, соответственно, распредвал находится в блоке и приводит клапана в движение через толкатели, штанги и коромысла. Каждые 500 часов работы нужно проверять и регулировать клапаны. Зазоры клапанов следующие: впуск и выпуск — 0.25 мм. Порядок регулировки клапанов совпадает с порядком работы — 1-3-4-2.
Для этих моторов идет топливный насос 4УТНИ. На основе 243-го был создан известнейший турбодизель Д-245.
Модификации Д-243 и их отличия
1. Д-243 — обычная версия мощностью 81 л.с. 2. Д-243Л — такой же Д-243, но с другим выпускным коллектором. 3. Д-243.1 — мотор мощностью 83 л.с. 3. Д-243.2 — версия для шахтных автомобилей мощностью 60 л.с.
Устройство масляного насоса на МТЗ для двигателей Д-240, 243, 245 и модификаций: схема, характеристики

Поскольку масляный насос на МТЗ используется для смазки мотора, подбирать его необходимо по характеристикам и геометрии двигателя. На Белорусы устанавливаются движки Д-240 и Д-245, а также их всевозможные модификации. Поэтому в характеристиках всегда должно быть обозначено, для какой версии двигателя он предназначен.
Масляный насос для Д-240

Он шестеренчатого типа, т.е. НШ, одноступенчатый. Агрегат приводится во вращение от коленвала, он устанавливается на крышке первого коренного подшипника.
Насос двигателя НШ состоит из:
- корпуса;
- крышки;
- ведущей и приводной шестерен;
- вала;
- пальца;
- ведомой шестерни.
Устройство масляного насоса МТЗ 82 следующее. При вращении шестеренок в зоне всасывания создается пониженное давление. За счет разряжения в этой области моторное масло втягивается в маслозаборник. Внутри оно попадает на зубцы шестерен и таким образом перемещается к трубопроводу. По трубкам жидкость подается к трущимся элементам движка.
Шестерни выточены с высокой точностью, как и корпус. Идеальная геометрия обеспечивает равномерный поток технической жидкости. Точность размеров и подгонки деталей настолько важна, что не допускается даже переставлять крышки с двух масляных насосов МТЗ одной модели.

Характеристики масляного насоса Д-240 (Д-242, Д-243) следующие:
- пропускная способность 36 л/мин при 2320 об;
- рабочее давление 0,70-0,75 МПа (7-7,5 кгс/см2).
Схема масляного насоса МТЗ-80/82
Устройство масляного насоса МТЗ для двигателя Д-240 и его различных модификаций изображено на следующей схеме.

| 1. маслозаборник; | 6. шестерня привода; |
| 2. корпус; | 7. штифт; |
| 3. палец ведомой шестерни; | 8. вал; |
| 4. ведомая шестерня; | 9. ведущая шестерня; |
| 5. крышка; | 10. патрубок |
Масляный насос для Д-245
На тракторы МТЗ-100, 102 устанавливается масляный насос для Д-245. Это так же агрегат НШ, т.е. шестеренного типа. Во вращение он приводится коленвалом и монтируется на крышке 1-го коренного подшипника.

| 1. маслозаборник; | 6. шестерня привода; |
| 2. корпус; | 7. штифт; |
| 3. палец ведомой шестерни; | 8. вал; |
| 4. ведомая шестерня; | 9. ведущая шестерня; |
| 5. крышка; | 10. патрубок |
Шестерня привода масляного насоса МТЗ находится на валу (8). Штифт (7) фиксирует ее и не дает смещаться, оставляя возможность только вращаться в одной плоскости. Также на валу стоит ведущая шестерня, а ведомая находится с ней в зацеплении.
Масло в насос Д-245 поступает из картера через маслозаборник. Там жидкость проходит через фильтр, посредством которого удаляются механические включения и загрязнения. Смазка поступает в пространство между зубьями шестеренок маслонасоса. При их вращении жидкость вытесняется далее в магистраль, а затем – подается к трущимся деталям мотора.
Масляный насос Д-260 и модификаций

Насос масляный для ММЗ Д-260 шестеренного типа, односекционный. Во вращение он приводится от коленвала двигателя, как и в предыдущих случаях. В целом устройство помпы МТЗ 1221, 1523 аналогично рассмотренным выше моделям, различаются только характеристики и габариты.
Насос масляный МТЗ 1221 имеет перепускной клапан. Его рабочие характеристики: 0,7-0,75 МПа.
Если на входе давление увеличивается и становится больше рабочего, техжидкость напрямую подается в полость всасывания. Диапазон давления выставляется на стенде, для регулировки используются соответствующие шайбы.

Масляный насос двигателя МТЗ 1221, 1523 для Д-260 всасывает жидкость через маслоприемник из картера. Далее часть масла проходит через полнопоточный фильтр – и затем впрыскивается к элементам мотора, а другая часть пропускается через центробежный фильтр и после очистки снова поступает в картер.
Если трактор запускается на холодную, фильтр не пропускает вязкое масло. В этом случае срабатывает перепускной клапан: он открывается, и техжидкость напрямую подается в маслопровод. В норме перепускной клапан срабатывает, когда показатели превышают 0,13-0,17 МПа. Отрегулировать его нельзя.
Для поддержания рабочего давления в магистрали на уровне 0,28-0,45 МПа в маслонасосе МТЗ 1221/1523 устанавливается предохранительный клапан. Он срабатывает при превышении рабочего давления в маслопроводе: излишки сливаются напрямую в картер.
Менять моторное масло для двигателей Д-260 рекомендуется каждые 250 моточасов.
- https://mtz-80.ru/dvigatel/toplivniy-nasos-mtz-80-2019
- https://remnabor.net/shema-sistemy-smazki-dvigatelya-d-243
- https://school21nv.ru/shema-smazki-toplivnogo-nasosa-mtz-80/
- https://SpecTorg.su/na-pole/maslyanyj-nasos-dvigatelya-d-240.html
- https://pricepy-spb.ru/remont-i-tehservis/d-243-tehnicheskie-harakteristiki.html
- https://DamskyKlub.ru/avto-2/toplivnyj-nasos-d-243.html




