- Устройство и принцип работы блокировки МТЗ
- МТЗ-50
- МТЗ-80
- МТЗ-82
- Муфта блокирования
- Датчик автоматической блокировки
- Блокировка дифференциала МТЗ 80 и 82 механизм
- Управление
- Реализация переделки
- Переделка блокировочного вала, размеры детали
- Изготовление скользящей муфты
- Механизм включения
- Блокировка дифференциала заднего моста МТЗ-82.1
- Как переделать блокировку дифференциала МТЗ на механическую
- Самодельная блокировка МТЗ
- Варианты приводов блокировки
- Полезные советы
- Передний ведущий мост трактора МТЗ 82 схема
- Конструкция переднего ведущего моста МТЗ 82
- Редуктор переднего моста МТЗ-82
- Основные поломки и ремонт
- Почему не работает блокировка
- Управление
- Привод блокировки дифференциала трактора МТЗ
- Основные неисправности системы автоматической блокировки дифференциала (АБД)
- Блокирующее устройство запуска дизеля
- Как включить блокировку на МТЗ
- Механическая блокировка на МТЗ 80 своими руками
Устройство и принцип работы блокировки МТЗ
На минских тракторах встречается 2 привода блокировки:
- механическая;
- гидравлическая.
Механический блокиратор состоит из пары кулачковых муфт, которые расположены на внутренних концах валов привода бортовых передач. Концы валов имеют шлицевую нарезку, которая обеспечивает подвижность элементов блокировки. Первая муфта установлена жестко и зафиксирована от осевых люфтов винтом. Вторая муфта имеет возможность перемещения по шлицам.
Для движения используется регулируемая тяга, которая соединена с отдельной педалью, установленной в кабине оператора. Нажатие на педаль вызывает перемещение муфты. После того как кулачки подвижной муфты войдут в зацепление с кулачками неподвижного узла, произойдет соединение валов бортовых передач. Для отключения блокировки требуется отпустить педаль.

При использовании гидравлического привода на левом валу конечной передачи в трансмиссии установлена муфта фрикционного типа. Управление ведется при помощи распределительного крана. Диски муфты соединены со шлицами вала бортовой передачи и пазами на корпусе муфты. Корпусная деталь муфты жестко соединена со специальным блокирующим валом, который пропущен через отверстие в ведущей шестерне привода бортовой передачи. Другая сторона муфты соединена шлицами с крестовиной дифференциала.
Жидкость подается на раздаточный узел датчика включения блокировки через клапан сливной магистрали гидроусилителя рулевого управления. Клапан настроен на поддержание постоянного давления 0,8 МПа. Раздаточный узел представляет собой кран с ручным управлением и двумя положениями — «включено» и «выключено». В рабочих положениях рукоятка управления фиксируется стопором (шариком с пружиной).

При открытии крана жидкость подается в полость, имеющуюся внутри фрикционной муфты. Давление жидкости на диски муфты соединяет в единую цепь ведущую шестерню (соединенную шлицами с валом левой полуоси), вал блокиратора и крестовину дифференциала. Полученная цепь представляет собой единую ось, поскольку сателлиты дифференциала не имеют возможности вращения относительно шестерен привода полуосей.
Отклонение направляющих колес трактора от прямолинейного движения на 8° (на некоторых машинах на 13°) и более перемещает золотниковый клапан, расположенный в датчике включения. При открытии клапана жидкость в полости муфты получает сообщение с расходным бачком гидроусилителя. Давление снижается, и крестовина дифференциала начинает вращаться. При положении крана в позиции «выключено» полость муфты постоянно соединена с расходным бачком усилителя рулевого механизма. Дифференциал в этом случае заблокироваться не может.
С 2004 года тракторы МТЗ-80 стали оснащаться насосом-дозатором вместо гидроусилителя руля. В системе применяется общий масляный бак для гидросистемы задней навески и привода управления поворотом колес. Принцип переключения режимов блокировки не изменился, но в схеме применяется измененный датчик.
МТЗ-50
Работа блокиратора дифференциала ведущего моста на тракторах модели МТЗ-50 основана на механическом принципе. Управление осуществляется педалью, расположенной рядом с выключателем массы.
МТЗ-80
На тракторах применяется гидравлическая схема блокировки. С валов в коробке передач убрали шлицы для установки муфт механического привода. Управление датчиком может вестись тросом или педалью.

Тросовый привод оснащается рукояткой и обеспечивает 3 режима работы:
- Система отключена. Рукоятка находится в крайнем переднем положении и удерживается фиксатором.
- Автоматический режим работы при повороте колес на угол 8°. Рукоятка фиксируется в промежуточном положении.
- Принудительное включение, независимо от угла поворота передних колес. Режим включается вытягиванием рукоятки до упора и удерживанием ее в этом положении. При отпускании рукоятки система автоматически отключится.
Управление педалью обеспечивает 3 режима. Принудительное включение осуществляется нажатием на педаль до упора и удержанием. После снятия ноги с педали происходит отключение блокировки.
МТЗ-82
Трактор МТЗ-82 представляет собой вариант машины модели 80 с приводом на все колеса. Передний мост оснащается дифференциалом самоблокирующегося типа. Включение происходит в автоматическом режиме при появлении пробуксовки любого из колес.
Схема блокиратора заднего моста и способы управления не отличаются от узлов, применяемых на МТЗ-80.
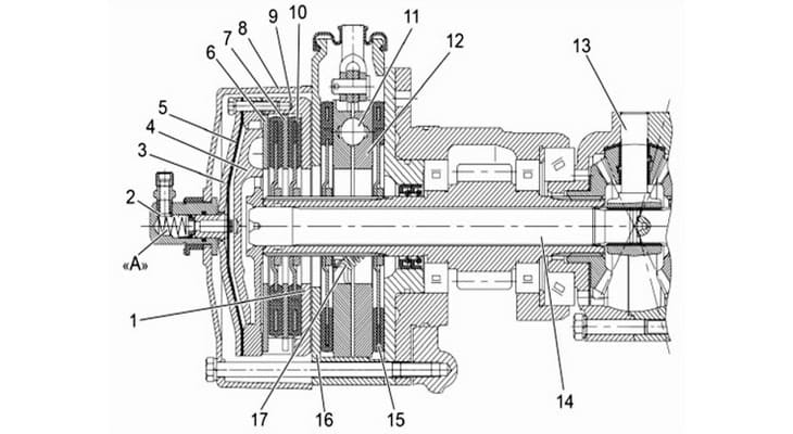
Муфта блокирования
Муфта блокирования находится с левой стороны тормозной системы трактора. Основной функцией этого устройства является блокировка механического дифференциала. На рисунке представлена схема муфты.

1 — корпус муфты; 2 — штуцер для нагнетания; 3 — диафрагма муфты; 4 — малый отжимной диск; 5 — закрепительная деталь; 6 — отжимной диск на пружине; 7 — металлический диск уплотнителя; 8 — защитная крышка; 9 — ведомый диск №1; 10 — ведомый диск №2; 14 — вал для осуществления блокировки.
Включение муфты 821 осуществляется путем подачи масла под давлением на участок между ее корпусом и блокирующей диафрагмой. Этот процесс начинается с точки включения ГОРУ.
Датчик автоматической блокировки
Датчик автоматической блокировки встраивается во внутренний корпус ГУРа и соединяется с механической и гидравлической его частями. На рисунке показан датчик блокировки.

Управление датчиком осуществляется с помощью специальной рукояти, которая связана с основным механизмом специальным тросом с пружиной для возврата в исходное положение.
Датчик имеет 3 вида положения:
- выключено;
- автоматическая блокировка;
- принудительная блокировка.
Блокировка дифференциала МТЗ 80 и 82 механизм
Самоблокирующийся дифференциал на Ниву прокачиваем проходимость Звучит банально, но трактор МТЗ-80 и МТЗ-82 имеют рулевое управление, а мост сзади — дифференциал. Он позволяет колёсам крутиться с разной скоростью на поворотах. А его блокировка не даёт колёсам буксовать на бездорожье. Эти два устройства работают в связке.
Управление
Усилие тракториста передаётся с руля к дозирующему насосу рулевого управления. Колонка руля имеет трубу, сваренную с вилкой. Она скреплена с кронштейном шарниром винтиками. Сам руль стоит на шлицах пустотелого вала. В пустоте — винт, соединённый с маховиком.
Схема механизма предусматривает две положения для настройки руля. Имеется регулирование положения руля в осевом направлении и регулирование угла наклона горизонтально в четырёх возможных позициях. Перемещаться вдоль оси валу не позволяют гаечки. Их затяжка должна быть такой, чтобы вал не имел люфта, но вращение было бы свободным.
В устройство колонки руля ещё входят вспомогательный вал, гаечки и крепёж, винтик маховичка, штифт, пружинка, фиксатор с тягой, втулки, кардан с шарниром и амортизатор.
Реализация переделки
Для перехода на механическое включение демонтируется датчик автоблокировки с корпуса ГУРа , посадочное место глушится. Демонтируется муфта блокировки и осуществляется переоборудование блокирующего вала.
Переделка блокировочного вала, размеры детали
Изготовление детали можно осуществить двумя способами:
- использовать штатный вал блокировки
- применить при наличии в запасе вала ручного тормоза, устанавливаемого с другой стороны моста в правую ведущую полуось

Размеры переделанного блокировочного вала
Использование правого вала тормозов имеет преимущество в плане менее трудоёмкого процесса переделки, где нужно срезать одну шлицевую часть на детали и проточить её под нужный диаметр (33 мм под установку уплотнительных колец) на токарном станке для свободной установки вовнутрь полуоси с левой стороны. На валу нужно оставить крайнюю шлицевую часть, которая абсолютно идентична по размеру со шлицевым концом полуоси правой стороны.

правый вал тормозов МТЗ 80
Для использования штатного блокирующего вала нужно обрезать диск с наружного конца детали и наварить шлицевую часть, соответствующую шлицам вала полуоси. В качестве шлицов можно использовать обрезанную шлицевую часть детали блока шестерён силовой передачи для привода насоса гидросистемы и ВОМ в промежутке , входящую в зацепление со шлицами ступицы корзины сцепления . А также любую соответствующую шлицевую часть из состава первичного и дополнительного валов КПП .
Торцевую часть блокирующего вала можно оборудовать местом установки внутренней обоймы подшипника, который наружной обоймой будет установлен в крышку устройства. Подшипниковая опора наружного конца вала исключит осевое и поперечное биение вращающейся детали и обеспечит комфортное включение муфты при соединении обеих валов.
Изготовление скользящей муфты
Для изготовления соединительного скользящего блока удобно использовать блок-шестерню 1,2 и задних передач, посажёной на шлицы дополнительного вала КПП или блок 3,6,9 передач штатно расположенный на первичном валу коробки.

Шестерня первой и задней передач КПП МТЗ 80
шестерня 3,6,9 передач КПП МТЗ 80
Внутренние шлицы данных деталей соответствуют шлицевым частям обеих валов, участвующих механическом в блокировании. Переделка заключается в срезе наружных зубьев шестерён и выравнивании наружной цилиндрической поверхности. Торцевые части муфты оборудуют буртами для упора вилки переключения с помощью проточки, либо приваривают шайбы с наружным диаметром больше наружного диаметра детали.

Самодельный вал механической блокировки с шлицевой муфтой
Механизм включения
Включение реализуют с помощью вилки, передвигающей блок, шарнирно связанной с рычагом, выведенным кабину. Рабочий ход муфты, при включении, должен обеспечивать равномерное перекрытие шлицевых частей обеих валов. Желательно, чтобы амплитуда движения вилки была организована с небольшим свободным ходом, предотвращающим постоянное трение детали о бурты вращающегося блока муфты. Положение рычага управления должно фиксироваться для предотвращения самопроизвольного или частичного включения.
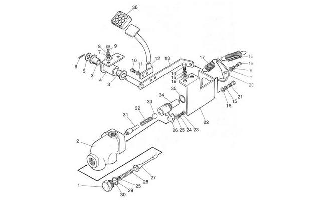
Блокировка дифференциала заднего моста МТЗ-82.1
Управление блокировкой дифференциала заднего моста Беларус МТЗ-82.1, 80.1, 82.2 состоит из крана блокировки, педали, установленной на полу кабины, маслопроводов и гидроарматуры.
Управление блокировкой дифференциала осуществляется из кабины педалью, которая через рычаги воздействует на кран блокировки, расположенный под полом кабины.
Кран блокировки дифференциала встроен в сливную гидролинию ГОРУ и управляет потоком масла, подводимого к муфте блокировки.
Педаль управления блокировкой дифференциала заднего моста Беларус МТЗ-82-1, 80-1 имеет два положения:
— «Блокировка выключена» – крайнее верхнее положение педали (педаль не нажата);
— «Блокировка включена принудительно» – при нажатии на педаль до упора и удержании ее в этом положении. Используется для кратковременного блокирования задних колес при преодолении дорожных препятствий на полевых и транспортных работах и при выполнении различных работ со значительным относительным буксованием задних колес. Положение нефиксированное — при отпускании педали она возвращается в исходное положение «Блокировка выключена».
В выключенном положении (педаль не нажата) масло из насоса-дозатора рулевого управления свободно проходит через кран блокировки и сливается в маслобак.
При нажатии на педаль рычаги поворачивают золотник крана блокировки, который направляет поток масла под давлением от 0,9 до 1,3 МПа в муфту блокировки и дифференциал блокируется.
При отпускании педали возвратная пружина поднимает педаль, золотник поворачивается в исходное положение, масло из муфты блокировки через кран блокировки сливается в масляный бак гидросистемы и муфта разблокируется.
Тросовое управление блокировкой дифференциала заднего моста
Система блокировки дифференциала состоит из муфты блокировки, датчика блокировки, редукционного клапана, маслопроводов и дистанционного управления блокировкой из кабины.
Управление блокировкой дифференциала осуществляется из кабины рукояткой, которая тросом соединена с краном датчика блокировки, расположенного в корпусе ГУР.
Рукоятка блокировки дифференциала заднего моста Беларус МТЗ-82.1, 80.1 имеет три положения:
— «Блокировка дифференциала выключена» – крайнее переднее положение по ходу трактора (риска крана совпадает с риской «ВЫКЛ» на крышке датчика);
— «Блокировка дифференциала автоматическая» – рукоятка находится в среднем положении и зафиксирована поворотом ее на 90° по часовой стрелке (риска крана совпадает с риской «ВКЛ» на крышке датчика). Масло под давлением от 0,8 до 1,2 МПа, поддерживаемым редукционным клапаном, направляется в диафрагменную полость А муфты блокировки и дифференциал блокируется. При повороте направляющих колес трактора на угол более 13° от прямолинейного движения рейка перемещается так, что золотник 4 выходит из паза рейки, полость А муфты блокировки сообщается со сливом и дифференциал разблокируется. Автоматическое блокирование дифференциала используйте при выполнении всех видов полевых работ, а также при выполнении транспортных работ на грунтовых дорогах в условиях недостаточного сцепления ведущих колес с поверхностью дороги. При выполнении транспортных работ на дорогах с твердым покрытием в условиях хорошего сцепления автоматическую блокировку дифференциала выключайте для исключения повышенного износа шин;
Как переделать блокировку дифференциала МТЗ на механическую
Для того, чтобы правильно переделать блокировку для работы на механическом основании на МТЗ80, необходимо убрать датчик. который закреплен на ГУРе. При это следует заглушить для начала посадочное место. Далее осуществляется снятие блокировочной муфты с трактора. Осуществляется переделка вала блокировки. Ее можно сделать своими руками.
Как изготовить деталь для переделки:
- можно использовать стандартный вал блокировки;
- можно применить вал для регулировки ручника с правой стороны.
Вал для регулировки ручника с правый страны является более простым в переделке. Здесь необходимо срезать только одну сторону шлицевой части на детали. Далее необходимо сделать ее зачетку строго в нужном диаметре, обычно он составляет 33 мм. Обычно заточку принято осуществлять на токарном оборудовании. На валу можно не затачивать одну из крайних частей.
Если применять стандартный вал блокировки, то следует осуществить обрезку наружной части диска. На нее следует наварить соответствующую шлицевую деталь.
Самодельная блокировка МТЗ
Ряд владельцев оснащает трактора МТЗ самодельными механическими блокирующими устройствами.
Изготовление и сборка механики узла состоит из нескольких этапов:
- Проточить поверхность вала конечной передачи.
- Выточить втулку в форме катушки для ниток со шлицами внутри. Втулка должна свободно ходить по шлицам вала.
- Разместить на крышке бортовой передачи основание для рычага для управления втулкой. Внутри крышки расположена вилка, которая контактирует с внутренними торцевыми поверхностями втулки. На вилке установлено 2 подшипника, которые непосредственно перемещают втулку.
- Вывести рукоятку управления в кабину и оснастить ее фиксаторами положения. При перемещении рукоятки происходит смещение втулки и включение муфты блокировки. Блокировка включается по желанию оператора и не зависит от угла поворота передних колес.
Варианты приводов блокировки
На сельхозтехнике минского производства чаще всего встречаются два вида систем:
- механические;
- гидравлические.
Система механического типа конструктивно состоит из двух муфт, которые расположены на концах валов привода бортовой передачи. Шлицевая нарезка позволяет блокировочным элементам свободно двигаться. Одна из муфт имеет жёсткое крепление к осевому люфту. Вторая же свободно перемещается вдоль шлица. Движение обеспечивается благодаря регулируемой тяге. Наличие педали в кабине оператора позволяет свободно выключать и включать систему без остановки машины.

Особенность гидравлического механизма заключается в установке фрикционной муфты на валу конечной передачи с левой стороны. Регулировка системы осуществляется с помощью распределительного клапана. Муфтовые диски прочно прикреплены на шлицах валов в пазах корпуса. Блокировка включается за счёт подачи гидравлической жидкости к раздаточному узлу. Он, в свою очередь, выполнен в виде ручного крана, имеющего всего два положения.
Включение блокировки происходит так:
- открывается кран;
- во внутреннюю полость муфты подаётся специальная жидкость;
- под воздействием давления ведущая шестерня, вал и дифференциал соединяются в одну цепь.
При выключении блокировки поступление гидравлической жидкости прекращается, крестовина дифференциала снова начинает вращаться.
В зависимости от модели трактора, системы могут различаться:
- МТЗ-50. Для таких машин характерны механические системы блокираторов. Оператор управляет ею с помощью педали, расположенной в кабине.
- МТЗ-80. Такие модели оснащаются гидравлической схемой. Управление осуществляется с помощью педали или специального троса.
- МТЗ-82. Полноприводные машины оснащаются автоматическим дифференциалом. Он включается при пробуксовке покрышек на дороге. При установке гидравлической схемы не обойтись без запчастей на передний мост МТЗ-82.
На некоторых тракторах последних моделей система может идти в заводской комплектации.
Полезные советы
Система гидравлической блокировки используется при полевых работах и движении по заснеженным дорогам. Рекомендуется применение блокиратора при вспашке почвы на склонах, поскольку система обеспечивает сохранение прямолинейной траектории движения.
При движении по дорогам с твердым покрытием блокирование дифференциала вызывает повышенный износ покрышек, поэтому устройство следует отключать.
Использование заблокированного дифференциала на скользкой дороге допускается на скорости не более 10 км/ч (из-за опасности заносов машины).
Передний ведущий мост трактора МТЗ 82 схема

1 — механизм регулировки колеи; 2 — крышка моста; 3 — корпус манжеты; 4, 20 и 21 — регулировочные прокладки; 5, 23 и 25- подшипники; 6 и 28 — гайки; 7 — ведомая шестерня; 8 — ведущий диск; 9 -нажимная чашка; 10 и 11 — корпуса дифференциала; 12 — ведомый диск; 13 — сапун; 14 — корпус моста; 15 — полуосевая шестерня; 16 — заглушка полуосевой шестерни; 17 — болт дифференциала; 18 — ось сателлитов; 19 — сателлит; 22 — стакан ведущей шестерни; 24 — ведущая шестерня; 26 — регулировочные шайбы; 27 — соединительный фланец; 29 — клин; 30 — брус полурамы; 31 — втулка бруса; 32 — стопорная планка; 33 — ось качания.
Конструкция переднего ведущего моста МТЗ 82
Конструкция переднего ведущего моста МТЗ 82 точно такая же, как и не ведущего, портального типа (балка разместилась выше оси колес). Это разрешает высокий (650 мм) агротехнический просвет, который неотъемлемый помощник для междурядной обработки высокостебельных пропашных культур.
Главная передача переднего моста трактора МТЗ 82 представлена парочкой конических шестерен. Для того чтобы повысить плавность зацепления и бесшумности передачи, конические шестерни изготовлены со спиральными зубьями.
Дифференциал обеспечивает разную частоту вращения ведущих колес при повороте трактора, а также при движении по разным неровностям.
Так же при облегчении поворота, дифференциал может ухудшить тяговые способности трактора. Для того, что избежать такой проблемы на тракторах такого типа применяют автоматически действующий механизм.
Редуктор переднего моста МТЗ-82
Колесный редуктор передних мостов МТЗ-82, предназначен не обязательно для увеличения крутящего момента, передаваемого соответсвенно от главной передачи к главным колесам, но и для того,чтобы выполнить поворот этих колес.

Сам редуктор, состоит из двух пар верхней и нижней конических шестерен.
При таком мосте на тракторе полностью сохраняются все параметры его универсальности –пределы регулировки колеи, места навески агрегатируемых машин радиусы поворота, агротехнический просвет.
Передний ведущий мост устанавливается в проем переднего бруса полурамы на то же место, где монтируется передний не ведущий мост. Корпус переднего моста соединен с брусом шарнирно двумя полыми осями, что позволяет переднему мосту качаться относительно полурамы в поперечной плоскости.
Основные поломки и ремонт
Главные неисправности:
- Заклинивание золотникового клапана блокировки. Для ремонта требуется снятие датчика подключения и промывка его в дизельном топливе. При повторяющихся проблемах производится замена датчика.
- Падение давления в магистралях привода блокировки. Причиной может быть деформация пружины клапана или его заедание. Клапан имеет разборную конструкцию и может быть отрегулирован на стенде. Второй причиной является течь жидкости через внутренние трещины или поврежденные прокладки в датчике подключения. Датчик подлежит замене.
- Проскальзывание муфты наблюдается при износе накладок или их замасливании. Требуется разборка узла и осмотр дисков. Замасленные узлы промываются обезжиривающим составом, изношенные — подлежат замене. При обнаружении следов масла требуется ликвидировать щели, через которые подтекает рабочая жидкость.
- Неполное включение муфты механического привода. Требуется отрегулировать длину тяги и убрать люфты в соединениях. Возможно попадание посторонних предметов под педаль привода, их необходимо удалить.

При проведении регулярных технических осмотров приводы блокировки работают надежно, не доставляя проблем владельцу трактора МТЗ.
Почему не работает блокировка
Блокировка может не работать по целому ряду причин.
Износ муфтовой диафрагмы. Для того, чтобы исправить эту поломку, необходимо разобрать устройство и заменить износившуюся деталь на новую. Неисправность привода управления может быть связана с обрывом троса или стачиванием дисков. В этом случае необходимо провести диагностику оборудования и заменить все нерабочие детали.
Заедание датчика ГУР. Необходимо отрегулировать крепления всех деталей устройства.
Кроме того, отрицательное воздействие на работу блокировки может оказывать неисправность в работе усилителя руля и гидросистемы.
Управление
Усилие тракториста передаётся с руля к дозирующему насосу рулевого управления. Колонка руля имеет трубу, сваренную с вилкой. Она скреплена с кронштейном шарниром винтиками. Сам руль стоит на шлицах пустотелого вала. В пустоте — винт, соединённый с маховиком.
Схема механизма предусматривает две положения для настройки руля. Имеется регулирование положения руля в осевом направлении и регулирование угла наклона горизонтально в четырёх возможных позициях. Перемещаться вдоль оси валу не позволяют гаечки. Их затяжка должна быть такой, чтобы вал не имел люфта, но вращение было бы свободным.
В устройство колонки руля ещё входят вспомогательный вал, гаечки и крепёж, винтик маховичка, штифт, пружинка, фиксатор с тягой, втулки, кардан с шарниром и амортизатор.
Привод блокировки дифференциала трактора МТЗ
Привод блокировки дифференциала управляется гидравликой. Он принадлежит системе рулевого управления и имеет узлы:
Разделитель. Стоит сверху кронштейна ниже приборного щита. Управляется рукоятью в салоне. Блокирующий клапан. Находится в крышке выполняющего устройства гидроуправления руля. ГПМ — гидравлическая поджимная муфта. Она блокирует дифференциал. Разделитель блокировки соединён с помощью трубок с нагнетающей трассой помпы. (Помпа рулевого гидроуправления). А ещё с бачком тракторной гидросистемы и поджимной муфтой, блокирующей дифференциал. Корпус разделителя снабжён золотничком. Его прижимает пружинка к рычажку. К корпусу крепится крышка с размещённым редукторным клапаном. Пружинка поджимает шарик — такой вид имеет предохраняющий клапан.

Рычажный торец имеет фиксирующие выступы. Удержание может быть в среднем или в другом повёрнутом расположении. Редукторный клапан контролирует давление в системе до 0,985 ± 0,188 мегапаскалей. При расположении рукояти посередине правления и взаимосвязанного с ней рычажка золотничок старается занять расположение, при котором полость не соединяется с канальцами редукторного клапана, а сообщается с общим сливным каналом. Описанное местоположение рукояти правления соответствует расположению включённой блокировки.
Если переместить рукоять управления назад, рычажок попадёт в положение, которое фиксирует шарик золотничка. В этот момент он находится напротив самого крайнего месторасположения рычажка. При этом золотничок переместится на пару миллиметров выше. При этом полость совмещена проводящими канальцами с редукторным клапаном и каналом блокировочного клапана. Она уже не имеет связи с каналом слива. Это расположение рукояти соответствует расположению «Автоблокировка дифференциала».
В этом месторасположении дифференциал становится заблокированным, или наоборот. Всё зависит от геометрии разворота передних колёс. Это происходит под действием блокирующего клапана, размещённого в крышке рулевого правления. Когда поворачивает сошка на 11 градусов от обычного месторасположения, клапан остаётся вверху. Канал, ведущий от разделителя, не соединён с каналом слива.
Поджимная муфта блокировки оказывается под масляным давлением. Смазка поступает из редукторного клапана, после чего дифференциал блокируется. Если сошка поворачивает больше, чем 10 градусов от местоположения посредине, скользящий клапан по поверхности штока уходит вниз. При этом происходит соединение каналов с полостью механизма поворота. А она является сливной и соединена с ёмкостью гидросистемы.
В этом случае давление в пространстве муфты уменьшается до 0,048 МПа. Масло подаётся от редукторного клапана через отверстие радиусом 0,5 мм. Если поставить рукоять управления вперёд (по оси трактора), золотник переместится вниз от положения посредине. Произойдёт связь полости с питающими канальцами от редукторного клапана. Одновременно произойдёт разъединение этой полости от магистрали слива и канала блокировочного клапана.
Это расположение рукояти подходит позиции «Блокировка с принуждением». В этот момент дифференциал задних колёс становится заблокированным вне зависимости от положения рулевой сошки. Данное положение рукояти не закрепляется, после отпускания рукоять приходит при помощи пружины в среднее расположение. Это расположение соответствует позиции «Дифференциальная блокировка отключена».
Основные неисправности системы автоматической блокировки дифференциала (АБД)
Основными неисправностями, при которых не работает автоматическая блокировка дифференциала, являются:
- Заедание золотника 3 датчика угла поворота направляющих колес. Необходимо снять датчик и промыть в чистом дизельном топливе или заменить датчик.
- Низкое давление рабочей жидкости в трубопроводе к муфте блокировки. Оно может быть вызвано нарушением регулировки редукционного клапана, повышенными утечками рабочей жидкости в датчике. В первом случае необходимо отрегулировать редукционный клапан и обчеканить гнездо клапана, а во втором случае — заменить датчик.
- Неудовлетворительная работа фрикционной муфты блокировки дифференциала. Муфта работает плохо по двум причинам: замаслены диски муфты или изношены фрикционные накладки дисков муфты. В первом случае необходимо устранить подтекание рабочей жидкости и промыть диски муфты в бензине, а во втором случае — заменить фрикционные накладки новыми.
С целью сохранения ходовых качеств трактора, при возникновении разности тягово-сцепных условий на задних колёсах трактора, при передачи дифференциалом крутящего момента на одну из сторон ходовой части, в случае попадания колеса в яму, при преодолении подъёмов или в движении по поверхности с высокой влажностью почвы для уравнивания передачи вращения на ведущие задние колёса — машина оснащена системой блокирования дифференциала. Включённое устройство останавливает дифференцированный принцип передачи вращения на колёса от моста. Ведущие валы конечных передач получают абсолютно одинаковое вращение и с заблокированным дифференциалом работают как одна жёсткая ось.
Блокирующее устройство запуска дизеля
Для исключения возможности запуска дизеля при включенной передаче на тракторе устанавливается специальное блокирующее устройство.
При включении передачи рычаг КПП поворачивает валик через рамку, в результате чего:на тракторах МТЗ-80 и МТЗ-82 (с электростартерным запуском, шарик выключателя через толкатель размыкает контакты и тем самым разрывает электроцепь между промежуточным реле 7 (РС502) и тяговым реле стартера, что исключает запуск;
на тракторах МТЗ-80Л и МТЗ-82Л (с пусковым двигателем) шарик выключателя выходит из лунки и через толкатель замыкает контакты включателя, в результате чего первичная обмотка трансформатора магнето соединяется с «массой» трактора, что препятствует образованию искры между электродами свечи и исключает запуск пускового двигателя.
Чтобы запустить дизель, установите рычаг КПП в среднее или крайнее правое нейтральное положение, так как в левом положении рычаг может легко перемещаться в положение включения I и II ступеней редуктора.
Как включить блокировку на МТЗ
В большинстве случаев блокировку на МТЗ можно включить только вручную. Стоит иметь ввиду, что при включенном блокировки высока возможность заноса трактора. Поэтому включать блокировку можно только при скорости меньше 10 километров в час.
Необходимо закрепить две муфты, одна из которых будет находиться в статичном положении, а вторая в динамичном и закреплена на шлицы. направление этой муфты определяет тяга, регулировка которой осуществляется с помощью педали, которая расположена в кабине. Когда происходит нажатие на педаль, динамичная муфта смещается и соединяется со статичной муфтой. Таким образом мосты валов объединяются. Если отпустить педаль, то блокировка отключится. Колонка находится в постоянном движении с помощью тросиков.
Механическая блокировка на МТЗ 80 своими руками
Дифференциал – важная деталь трансмиссии, обеспечивающая передачу крутящего момента ведущим колесам при движении прямо. Заблокированный дифференциал увеличивает проходимость трактора и снижает пробуксовку колес. Это особенно важно при движении по пашне или заснеженным дорогам. Блокировка МТЗ 80 включается вручную. При этом повышается опасность заноса, поэтому устройство используется только на скорости меньше 10 км/ч. Кроме того, не стоит включать его при движении по дорогам с твердым (асфальтовым или бетонным) покрытием, так как это приводит к повышенному износу покрышек.
- https://DelaJakcent.ru/v-pole/mehanicheskaya-blokirovka-mtz-80.html
- https://liergroup.ru/kran-blokirovki-mtz-82/
- https://vseomtz.ru/ustroystvo-i-obslujevanie/kak-peredelat-blokirovku-mtz-80-na-mekhanicheskuyu
- https://PrideSaratov.ru/selhoztehnika/mehanicheskaya-blokirovka-mtz-80.html
- https://tractoramtz.ru/strojtehnika/blokirovka-mtz-80-kak-peredelat-na-mehanicheskuyu.html



