- Особенности устройства переднего моста
- Передний мост, его назначение
- Вом мтз-82 и мтз-80: ремонт и схема.
- Передний и задний мосты: выполнение ремонта
- Описание основных рекомендаций
- Поломки и особенности ремонта
- Цапфа МТЗ-80 правая (усилен.) БЗТДиА 80-3001085-01
- Подробное описание действий по ремонту
- Обслуживание моста и регулировка ступиц
- Ходовая часть МТЗ-80, 82
- Важные преимущества
- Технические особенности
- Ремонт переднего моста МТЗ 80, его устройство и схема
- Передний мост: советы по техническому обслуживанию
- Расположение цапфы МТЗ
- Ремонт цапфы МТЗ 80
- Поворотная цапфа, балка качения трактора МТЗ 80-82
- Самое сложное при разборке передней балки, это выпрессовка оси качения. В обязательном порядке надо использовать специальный сьёмник.
- Ремонт цапфы МТЗ 80
- Цапфа мтз 80 нового образца
- Двигатель
- Устройство и детализация переднего моста
- Балка моста
- Поворотные цапфы
- Ступицы
Особенности устройства переднего моста
Передний мост имеет схему, включающую следующие элементы:
- Редуктор колёсного типа.
- Передний дифференциал, относящийся к редуктору.
- Передача.
Снабжение сельхозтехники передними мостами позволяет получить дорожные просветы с достаточной шириной. В зависимости от требований, водитель легко изменит величину колеи. Водитель может использовать технику в качестве помощника на участках с любыми особенностями. Конструкция легко обходит грядки разных размеров.

Трактор МТЗ 80
Уход, периодическое обслуживание для передних мостов обязательны. Если не делать профилактического ремонта, игнорировать замену деталей, потерявших рабочий ресурс – придётся потом проводить капитальный ремонт, а это связано с дополнительными затратами. При этом стандартные операции по обслуживанию тракторист может выполнять самостоятельно. Цена передней балки МТЗ 80 остаётся стандартной.
Передний мост, его назначение
Все модификации данной техники снабжаются передним мостом примерно одинаковой конструкции. Главная функция в том, чтобы колёса впереди принимали крутящий момент. Движение начинается с двигателя. Передача усилия осуществляется с использованием карданного вала, а потом уже переходит на колёса. После этого детали работают синхронно, продолжается движение вперёд у самой техники.
Сопряжение между ПВМ и опорного бруса у полурамы способствует сохранению подвижности. Это разновидность «жёстких» схем крепления. Роль специальных фиксаторов играют выступы, которыми снабжаются крышка с корпусом. Благодаря этому мост никогда не приобретёт сильную амплитуду, из-за которой начнётся раскачивание. При конструировании деталей внутри машины дифференциал убирается, как и центральная передача. Тогда устройство передней балки МТЗ 80 сохраняет простоту и надёжность.
У устройства дифференциала также имеются две основные части, которые сами по себе включают следующие компоненты:
- Пара чаш.
- Блоки с фрикционными дисками.
- Оси.
- Шестерёнки с попарным разделением.
- 4 сателлита.
Несколько шестерёнок с конической формой соединяются вместе – так и получается центральная передача. Она создана, чтобы крутящий момент был более активным. Что способствует получению машиной мощности, необходимую для работы. Благодаря этому трактор способен двигаться, таскать на себе необходимый запас мощности.
Редукторы у колёс с передними мостами тоже соединяются. Процесс предполагает использование телескопических соединений, специальных рукавов. Редуктор начинает смещаться при включении моста впереди. Угол разворота у машины расширяется благодаря наличию у каждого редуктора шестерёнок с формой конусов. Что даёт возможность справляться даже с работой высокой сложности. Дорожный просвет увеличивается, радиус разворота, наоборот, принимает минимальное значение.

Передний мост МТЗ 80
Вом мтз-82 и мтз-80: ремонт и схема.
Кроме того, трактор очень часто не заводился с пускача с первого раза в зимний период. Вращающий момент направляется непосредственно на раздатку с помощью ведущего вала. Во-первых, стоит обратить внимание на незнакомые стуки и шумы.
Когда такой регулировки недостаточно, ослабляют болт 10 крепления кронштейна и поворачивают кронштейн в сторону пружины по часовой стрелке. Регулировка и уход за карданным приводом Период, предшествующий ремонту карданного привода тракторов моделей МТЗ и МТЗ, можно значительно продлить при условии правильного ухода как за устройством в целом, так и за промежуточной опорой карданного вала, в частности.
При разборке сцепления одновременно с устранением выявленной неисправности проводят техническую экспертизу деталей с целью замены их новыми или отремонтированными. Далее крутящий момент заставляет перемещаться ведущую шестерню, являющуюся частью главной передачи переднего моста. В обязательном порядке следует контролировать состояние подшипников крестовин 7 на наличие бокового люфта.
С целью ее повышения, особенно в прошлом веке, механизаторы применяли следующее изменения:. Снятие муфты сцепления МТЗ, МТЗ для ремонта 1 — муфта сцепления; 2 — технологический болт; 3 — болт крепления опорного диска Допустимые значения контролируемых параметров сцепления МТЗ, МТЗ, мм Толщина ведомого диска — 8,0 Коробление ведомого диска — 0,6 Толщина нажимного диска — 21,0 Толщина шлицев вала — 3,5 Высота кулачка отжимного рычага — 10,9 После замены фрикционных накладок утопание головок заклепок должно быть не менее 2,0 мм. В модели предусмотрен полурамный остов с подрессоренной спереди подвеской — на витых пружинах. Он распределяет вращающий момент по нескольким осям. После регулировки вилку закрепляют контргайкой. Первичный вал привода ВОМ. Часть 3. Сборка.
Передний и задний мосты: выполнение ремонта
Даже самая надёжная техника не защищена полностью от неисправностей. Главная причина – несвоевременное техническое обслуживание. Кроме того, проблемы возникают в связи с потерей значительной части смазки.
Описание основных рекомендаций
Манжета у главной шестерёнки должна быть заменена, если на конце карданного вала или корпусе центральной передаче появляются следы смазочного материала. Для этого демонтируется фланец у карданного вала. Предполагается необходимость полностью убрать гайки. На следующем этапе избавляются от любых крепежей с болтами. Внимание уделяется каждой детали, располагающейся на блоке подшипников у центральной передачи. Центральная шестерёнка также требует демонтажа. Когда все действия выполнены, производится замена самой манжеты.
Появление остатков масла говорит о том, что ремонта требует и ось передняя, на которой крепятся колёса.
При разборе данной части рекомендуется опираться на определённую схему:
- Демонтаж колеса и редуктора. Последний организует конечную передачу.
- Откручиваются все болты, способствующие удержанию радиального подшипника.
- Шестерня убирается.
Мост сзади у техники выполняет функцию полурамы дополнительно. При обслуживании подобных конструкций часто возникают проблемы, заставляющие проводить серьёзный ремонт переднего моста.
Порядок действий описывается следующим образом:
- Снимается кабина вместе с другими составляющими сельскохозяйственной техники, из-за которых доступ к детали ограничивается.
- Разделение друг с другом заднего моста и полурамы впереди. На задней оси находятся колёса, которые необходимо демонтировать полностью.
- Разбор заднего моста, в полном объёме. На следующем этапе выполняются все необходимые работы.
Собирается трактор в обратном порядке. Стартовая прокатка оборудования позволяет понять, были ли исправлены все неполадки.
Поломки и особенности ремонта
Особенно повышенную нагрузку на передок испытывают трактора с передним фронтальным погрузочным оборудованием и интенсивность износа деталей в таком рабочем режиме значительно выше. Исправное состояние переднего моста МТЗ 80 характеризуется ровным ходом управляемых колёс без виляния, без подклинивания при поворотах.
Основными неполадками узла являются:
- Износ шарнирного сочленения балки с остовом
- Выработка отверстий для фиксации положения выдвижных кулаков
- Износ втулок и выход из строя упорного подшипника цапфы
- Поломка амортизирующей пружины
- Увеличенный осевой зазор или поломка подшипников ступиц
Цапфа МТЗ-80 правая (усилен.) БЗТДиА 80-3001085-01
Трактор Беларус МТЗ 80 с колёсной формулой 4Х2 не имеет привода переднего моста, получая вращение через трансмиссию только на задние колёса. Эта особенность является единственным конструктивным отличием от МТЗ 82. Передний мост трактора выполняет функцию опорной балки передней полурамы трактора с размещёнными рулевыми тягами и управляемыми колёсами. Несмотря на сниженные ходовые качества по сравнению с полноприводной версией преимуществом трактора является простое обслуживание и ремонт передней ходовой части, а также более низкая его стоимость при сохранении всех функциональных качеств универсально-пропашного трактора.
Подробное описание действий по ремонту
Внутри единого корпуса находятся дифференциал вместе с центральной передачей. Потому их и надо рассматривать в совокупности. Технический осмотр предполагает внимательное изучение следующих сведений:
- Уровень масла.
- Текущее состояние полуоси.
- Зазоры между осями.
Данный этап предполагает дополнительную регулировку для крепежа конструкции. Пришедшие в негодность части снимаются, заменяются новыми.
На уровень масла стоит проверить и колёсные редукторы. Эти детали постоянно трутся друг о друга и о то, что находится рядом. Быстрый износ появляется, если используется небольшое количество смазки. Если деталь ломается, то ремонт не помогает, требуется только полноценная замена. Не стоит применять передний мост ГАЗ 66 на МТЗ 80, велика вероятность несовместимости.

Схема переднего моста
Функционирование редукторов при любых обстоятельствах связано с наличием серьёзных нагрузок. Регулировки не требуют только шестерёнки, имеющие форму конуса. Это действие выполняется только при необходимости заменить все детали, провести капитальный ремонт.
Шестерня изнашивается, потому что принимает нагрузку от основных частей. Зубцы элемента из-за этого изнашиваются спустя некоторое время. Что способствует увеличению расстояния между составными элементами. Если наличие подобного состояния долго не берётся в расчёт, то вероятность поломки всего трактора увеличивается. Затяжка соединительной гайки помогает отрегулировать конструкцию.
Достаточно закрепить гайку, чтобы провести ремонт таких деталей, как конические шестерёнки, подшипники. Во время затягивания важно правильно установить подшипники на место. После чего осуществляется постепенное поворачивание, пока позиция детали не будет устраивать полностью. Далее происходит закрепление крепежа в окончательном положении, когда основные работы заканчиваются.
Предполагается использование керна. Цена переднего моста МТЗ 80 остаётся одинаковой вне зависимости от условий.
Многие мастера выбирают для установки двигатели от других тракторов. Это позволяет найти доступную альтернативу для замены. Вариант вполне допустим, если есть полная уверенность в совместимости. Если нет – рекомендуется отдавать предпочтение родным конструкциям. Тогда ремонт передней балки не доставит хлопот.
Обслуживание моста и регулировка ступиц
В мероприятия по уходу входит: смазка втулок и опорных подшипников поворотных валов цапф через 240 часов работы, подшипников вращения ступиц через 960 часов.
Регламентную регулировку подшипников ступиц осуществляют через каждые 960 часов работы. При обнаружении увеличения осевого зазора в процессе эксплуатации для сохранения подшипников следует провести немедленную регулировку.
Регулировка зазора подшипников ступиц
Настройку делают в следующем порядке:
- На поддомкраченном колесе снимают защитный колпак ступицы.
- Расшплинтовывают и отпускают затяжную гайку на 1/8 оборота.
- Вращением проверяют — насколько свободно крутится колесо.
- В случае тугого вращения нужно провести ревизию ступицы и устранить поломку подшипников или заедания сальника.
- На исправной ступице стяжную гайку затягивают до положения, когда колесо при толчке рукой практически не проворачивается.
- Осуществляя подтяжку подшипников, колесо периодически проворачивают для того, чтобы ролики в обоймах заняли своё положение без перекосов.
- Затянутую гайку отпускают до ближайшей прорези под шплинт и проверяют вращение колеса от руки. Если колесо вращается туго – отпускают гайку до следующей прорези.
- Определив положение гайки, при котором колесо вращается свободно — от руки, устанавливают фиксирующий шплинт.
- В заключение устанавливают защитный колпак ступицы, предварительно набив его смазкой.
Ходовая часть МТЗ-80, 82
Трактор Беларус МТЗ 80 с колёсной формулой 4Х2 не имеет привода переднего моста, получая вращение через трансмиссию только на задние колёса. Эта особенность является единственным конструктивным отличием от МТЗ 82. Передний мост трактора выполняет функцию опорной балки передней полурамы трактора с размещёнными рулевыми тягами и управляемыми колёсами. Несмотря на сниженные ходовые качества по сравнению с полноприводной версией преимуществом трактора является простое обслуживание и ремонт передней ходовой части, а также более низкая его стоимость при сохранении всех функциональных качеств универсально-пропашного трактора.
Важные преимущества
Полуоси колесных редукторов имеют кожухи, телескопическим способом соединенные с рукавами переднего моста. Во время движения машины они вместе с колесами движутся относительно этих рукавов, когда трактор меняет колею. Углы поворота колес МТЗ-82 не ограничиваются шарнирами угловых скоростей, ведь их заменяют шестерни колесных редукторов (конические). Подобное устройство моста позволяет полностью сохранить на тракторе характеристики базовой универсальной модели, а именно:
- радиусы поворота;
- агротехнический просвет и т.д.
Технические особенности

Передний ведущий мост соединяется с брусом полурамы, что позволяет ему качаться в поперечной плоскости. Качение ограничивается упором специальных выступов, имеющихся на крышке и корпусе моста.
Крышка и корпус, к слову, соединены болтами. Внутри конструкции находится дифференциал и главная передача. Передача предназначается для усиления крутящего момента и состоит из пары шестерен конической формы. Что касается дифференциала, то он состоит из 2-х корпусов, в которых находятся 2 полуосевые шестеренки, 2 оси, 4 сателлита, пакеты фрикционных дисков и 2 нажимные чашки.
Ремонт переднего моста МТЗ 80, его устройство и схема
Передний мост у трактора МТЗ-80 предполагает наличие ведущего редуктора. Дополнительно ставятся металлические мосты, прокладки. Специалисты считают, что модели хватает устойчивости при любых условиях. Но надо рассмотреть подробнее особенности ремонта, чтобы в дальнейшем возникало как можно меньше вопросов.
Передний мост: советы по техническому обслуживанию
Плановый бортовой технический осмотр – обязательная процедура для техники и её составляющих. Иначе на стабильную работу можно не надеяться.
Сама процедура состоит из нескольких этапов:
- Отслеживание количества масла внутри мотора.
- Периодическая смена жидкости.
- Затягивание креплений.
- Исправление недостатков мелкого масштаба.
Современные осмотры избавляют от необходимости проведения серьёзного капитального осмотра. Рассмотрим подробнее основные детали, которые требуют больше всего внимания. Ось качания иногда тоже предполагает корректировку конструкции.
Расположение цапфы МТЗ
Деталь установлена на ступице, закреплена шайбой.
Если рассматривать расположение цапфы МТЗ 80 в отношении переднего моста, увидим наличие следующих элементов:
- Ось качания МТЗ;
- Затем следует передняя ось;
- Кронштейн МТЗ;
- Шаровой палец и наконечник;
- Труба МТЗ;
- Рычаг МТЗ поворотный;
- Втулки МТЗ;
- Поворотная цапфа МТЗ 80;
- Несколько пружин;
- Фиксатор.
Цапфа передняя МТЗ 80 чаще всего поставляются с разными фланцами. Детали могут быть прямоугольной формы.
Обычно именно к фланцам прикрепляются суппорты МТЗ. Таким образом, они защищают тормозную систему от возникновения небольших повреждений.
В некоторых случаях владельцы тракторов вставляют четыре втулки (с завода идут только три).
Материал детали – металл, чугун.
Цапфа трактора (как левая, так и правая) снабжена цилиндрическими шейками большого размера. В них монтируют подшипники ступицы канонической формы.
Обратите внимание, что на меньшие шейки необходимо подшипники роликового типа.
Свободное вращение колеса трактора обеспечивается перемещением ступицы МТЗ.
Ремонт цапфы МТЗ 80
Со временем на некоторых механизмах возникает люфт. Убрать его с цапфы передней МТЗ 80 нужно следующим образом:
При поврежденных втулках вы будите периодически замечать небольшие стуки в поворотных кулаках или же мотание трактора.
Если запчасть изношена, лучше всего купить новую деталь. В крайнем случае, некоторые мастера рекомендуют наварить место износа, а затем тщательно его расточить.
Не забывайте, что ремонт цапфы МТЗ опасен. Если вы неправильно наварите, деталь ходовой трактора может лопнуть. Поломка случиться и при недостаточной наварке. Поэтому будьте внимательны.
Лучше всего не рисковать и купить новую деталь, тем более цена цапфы МТЗ 80 не столь высока.
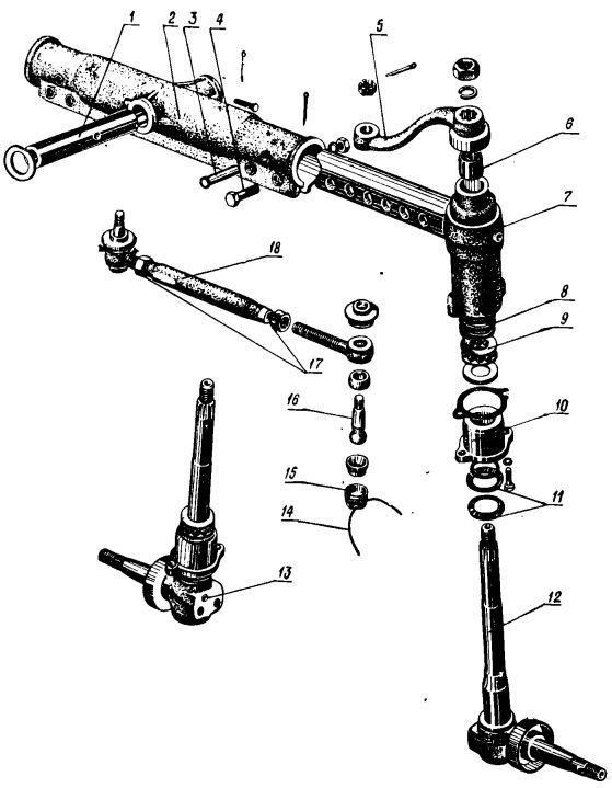
Передняя ось трактора МТЗ-80.
Передняя ось трактора МТЗ-80 представляет собой качающуюся трубчатую балку телескопического типа, соединенную с передним брусом полурамы при помощи оси качания.
С каждого конца в трубу вставлен выдвижной кулак, состоящий из кронштейна и выдвижной трубы. Последняя может крепиться в трубе передней оси в шести положениях с интервалами 50 мм, что позволяет менять колею направляющих колес от 1200 до 1800 мм. В кронштейнах кулаков на двух втулках установлены поворотные цапфы. Нагрузка на колеса от веса трактора воспринимается упорными подшипниками через амортизирующие пружины, обеспечивающие подрессоривание остова трактора.
На верхних концах поворотных цапф закреплены поворотные рычаги, связанные с сошкой рулевого механизма при помощи рулевых тяг, образующих разрезную рулевую трапецию. Тяги регулируются по длине и соединяются с поворотными рычагами и сошкой шарнирно.

Ремонт передней оси трактора МТЗ-80, 82
Со временем в момент эксплуатации трактора МТЗ-80, 82, требуется провести демонтаж и ремонт передней оси. По определенным характерным звукам иногда можно понять, какие поломки возникли и какие комплектующие нуждаются в замене.
К примеру, если возник зазор в шаровом шарнире рулевой тяги, стук колес при движении, то это говорит о износе рабочих поверхностей шарнира.
Резкие удары и толчки, возникающие при движении по неровностям, передающиеся на полураму, свидетельствуют о поломках и потерях упругости пружин навески.
В таком случае, чтобы заменить пружины, переднюю ось устанавливают на подставку, спрессовывают поворотный рычаг, вынимают цапфу, а болты креплений нижней втулки поворотной цапфы отворачивают.
Скрипы, биение колеса показывают на износ или разрушение подшипников ступицы, на ослабление затяжки гайки конических подшипников. Если при внешнем осмотре не удается понять причину возникших трудностей, то следует измерить осевой зазор в подшипниках ступицы.

1- ось качания; 2- передняя ось; 3- кронштейн; 4- наконеччник в сборе с шаровым пальцем; 5- труба; 6- поворотный рычаг; 7- втулка; 8- цапфа; 9- пружина; 10 – фиксатор.
В процессе осмотра ступицы перемещают обоймы подшипников в осевом направлении и пытаются провернуть их в посадочных местах. При обнаружении сколов или поломок, в случае осевого перемещения или проворачивания обойм в посадочных местах подшипники заменяют. Взаимное расположение деталей передней оси и направляющего колеса.
Стуки в поворотных кулаках, «рыскание» трактора при езде по прямой указывают на износ втулок цапфы. Втулки цапфы заменяют при износе внутренней поверхности до размера более 50,5 мм (нижняя) и 38,6 мм (верхняя).
Если трактор «уводит» в сторону при движении по ровной дороге или наблюдается повышенный износ шин передних колес, проверяют и регулируют сходимость передних колес. Для этого поворачивают руль до отказа в какую-либо сторону, а затем в противоположную сторону также до отказа, считая количество оборотов рулевого колеса. Далее возвращают руль в среднее положение, повернув его на половину ранее отсчитанных оборотов. Устанавливают линейку КИ – 650 сзади колеса наконечниками в покрышку рядом с ободом на уровне оси, стрелку линейки ставят на деление шкалы «0». Вращая оба колеса при поддомкраченной передней оси, переводят линейку в переднее положение также на уровне оси. Считывают (показания линейки по шкале. Если результат выходит за пределы 6—12 мм, сходимость регулируют увеличением или уменьшением длины поперечных тяг.
При трещинах корпуса передней оси или предельном износе оси качания переднюю ось снимают в сборе и заменяют новой (рис. 2.4.15, 2.4.16). Для снятия и установки оси качания и ее втулок используют специальные съемники и приспособления. Ось качания заменяют при посадочном размере менее 49,9 мм.
При величине осевого зазора более 0,5 мм его следует отрегулировать. Для этого нужно расшплинтовать корончатую гайку, затянуть ее до отказа и отвернуть на одну грань (20—30°). После данных действий колесо должно проворачиваться свободно без заеданий от усилия руки. Если колесо заедает или вращается неравномерно, то ступицу нужно разобрать и провести осмотр.
При регулировке зазора в подшипниках может быть выявлено, что ослабла затяжка корончатой гайки; в таком случае проверяют состояние конических подшипников. Отворачивают гайку, снимают шайбу и специальным съемником спрессовывают ступицу.
Поворотная цапфа, балка качения трактора МТЗ 80-82
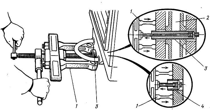
Самое сложное при разборке передней балки, это выпрессовка оси качения. В обязательном порядке надо использовать специальный сьёмник.

рис.- 3Выпрессовка оси качания и ее втулки: 1 — съемник; 2 — передняя ось; 3 — ось качания: 4 — втулка оси качания
Ремонт цапфы МТЗ 80
Со временем на некоторых механизмах возникает люфт. Убрать его с цапфы передней МТЗ 80 нужно следующим образом:
- Поменять все втулки (скорее всего, детали износились);
При поврежденных втулках вы будите периодически замечать небольшие стуки в поворотных кулаках или же мотание трактора.
- Посмотрите на состояние цапфы трактора.
Если запчасть изношена, лучше всего купить новую деталь. В крайнем случае, некоторые мастера рекомендуют наварить место износа, а затем тщательно его расточить.
Не забывайте, что ремонт цапфы МТЗ опасен. Если вы неправильно наварите, деталь ходовой трактора может лопнуть. Поломка случиться и при недостаточной наварке. Поэтому будьте внимательны.
Лучше всего не рисковать и купить новую деталь, тем более цена цапфы МТЗ 80 не столь высока.
Цапфа мтз 80 нового образца
Надежная и прочная цапфа МТЗ имеет несложное устройство, на котором поэтапно вращается переднее колесо автотехники.
Как правило, поворотные цапфы трактора монтируются с обоих сторон на переднюю ось.
Поэтому в ассортименте нашего магазина вы сможете найти левую цапфу МТЗ 80 и правую.
По устройству запчасти не отличаются друг от друга.
Однако различие имеется в способах монтажа на правые и левые места по шлицевой части вала трактора.
Двигатель
На 80-ю модель тракторов Минского завода ставится четырехцилиндровый четырехтактный дизельный силовой агрегат мощностью 80 л.с. Это Д-240 с электростартером или Д-240Л с пусковым двигателем. Конструктивным решением для двигателя трактора МТЗ 80 считается применение в его устройстве рабочей камеры нераздельного типа с сохранением двойного впрыска топлива. Это позволяет использовать максимально ресурс мотора и добиться высоких динамических показателей агрегата.
Рабочая камера сделана в форме шара, что улучшает смесеобразование и создает внутри вихревые потоки с использованием выделяемого тепла. Чтобы избежать температурных деформаций, корпус двигателя делают из чугуна.

В целом силовые установки Д-240 и Д-240Л состоят из:
- кривошипно-шатунного механизма;
- газораспределительного механизма;
- системы смазки;
- системы охлаждения;
- комплекса питания;
- системы пуска.
Кривошипно-шатунный механизм выполняет функцию преобразования прямолинейного возвратно-поступательного движения поршня во вращательное движение коленчатого вала. Газораспределительный механизм обеспечивает впуск воздуха в цилиндр и отведение отработавших газов. Система смазки подает смазку к деталям с целью уменьшения силы трения и снижения тепла, что защищает механизм от перегрева. Также для нормального теплового режима необходима система охлаждения. Для своевременной подачи топлива в цилиндры используется комплекс питания. Система пуска, сходя из ее названия, служит для непосредственного запуска двигателя.
Устройство и детализация переднего моста
Мост представляет собой литую балку с телескопическими выдвижными трубами, изменением вылета которых устанавливают нужную ширину колеи. Наружные края труб оборудованы кронштейнами-кулаками, в которые вставлены поворотные цапфы со ступицами колёс.
Балка моста
Литой трубчатый брус моста установлен между проушинами кронштейна полурамы и соединён шарнирно осью. Для предотвращения проворачивания и осевого перемещения сочленение фиксируется пальцем.
Такая конструкция соединения позволяет реагировать качением на поперечные неровности дороги относительно оси движения в пределах 10˚. В выдвижных трубах просверлены по шесть отверстий, с шагом 50 мм, для изменения ширины хода колёс. Фиксация вылета осуществляется парой стяжных болтов с каждой стороны балки при совпадении отверстий в деталях.
Поворотные цапфы
Узел представляет собой вал, вставленный на нижнюю и верхнюю втулки в корпусе кронштейна выдвижного кулака. Втулки плотно запрессованы в корпус, дополнительно нижняя втулка фиксируется двумя болтами. В кронштейнах на поворотные валы одеты пружины, с помощью которых подрессоривается балка моста. Нижняя часть пружины опирается на упорный подшипник, а верхняя в кронштейн цапфы. На верхние шлицевые части поворотных валов посажены рычаги рулевой трапеции (сошки), соединение которых фиксируется гайками.
К нижним концам валов приварены полуоси, к которым крепятся ступицы управляемых колёс. Между корпусом поворотных цапф и полуосями, в некоторых комплектациях трактора, установлены тарельчатые пружины смягчающие резкие ударные нагрузки. Смазка осуществляется солидолом через маслёнки, ввёрнутые в вертикальные цилиндрические корпуса.
В поздних версиях трактора МТ3 80 в конструкцию цапфы не входит амортизирующая пружина. Практики в обсуждениях по этой теме расходятся во мнениях эффекта такого конструктивного упрощения. Одни считают, что передняя подвеска в таком варианте очень жёсткая и быстрее разбивается верхняя пластиковая втулка. Другие утверждают, что ресурс такой цапфы выше ввиду меньшего попадания вовнутрь корпуса абразивной пыли.
Ступицы
Корпус ступицы выполнен в виде чугунной отливки с двумя расточками для посадки подшипников и фланцем, по окружности которого запрессованы болты для крепления колеса. Вращение осуществляется на двух подшипниках. Регулировка осевого зазора производится затяжкой гайки на резьбовом конце полуоси. Шайба между подшипником и гайкой препятствует ослаблению гайки и проворачиванию подшипника. Снаружи ступица закрыта защитным колпаком, с внутренней стороны в расточке установлен самоподжимной сальник. Дополнительно, для защиты от попадания абразивных загрязнений, на внутренней стороне полуоси приварен защитный козырёк с небольшим зазором к ступице.
- https://TraktoraMira.ru/remont-i-obsluzhivanie/remont-perednego-mosta-mtz-80-ego-ustrojstvo-i-shema.html
- https://gto-avto.ru/ts-i-remont/perednij-most-mtz-80-ustrojstvo.html
- https://NomadCar.ru/selhozmashiny/ustrojstvo-capfy-mtz-80.html
- https://foton-comtrans.ru/dlya-remonta/peredok-mtz-80.html
- https://servicetrucks.ru/dlya-selhozrabot/remont-perednego-mosta-mtz-80.html
- https://remnabor.net/tsapfa-mtz-80-starogo-obraztsa-shema
- https://leaderkhv.ru/specztehnika/perednij-most-mtz-80-ustrojstvo-i-shema
- https://dostavka99.ru/specnaznacheniya/remont-capfy-mtz-80.html
- https://SeaDiesel.ru/selhozavto/remont-perednego-mosta-mtz-80.html
- https://pricep34.ru/rashodniki-i-detali/perednij-most-mtz-80-ustrojstvo.html
- https://transotdel.ru/rashodniki-i-detali/perednij-most-mtz-80-ustrojstvo.html
- https://MegaTransLider.ru/detali-i-rashodniki/perednij-most-mtz-80-ustrojstvo.html
- https://promotobloki.ru/sxema-perednego-mosta-mtz-80-starogo-obrazca/



