Сцепление трактора МТЗ-82 располагается на маховике и устанавлено между двигателем и коробкой передач.
Сцепление предназначено для следующих целей:
— надежная передача крутящего момента от двигателя в трансмиссию при работе трактора;
— кратковременное отсоединение двигателя от трансмиссии при переключении передач в последней без ударных нагрузок;
— плавное соединение неподвижного входного вала трансмиссии с вращающимся коленчатым валом двигателя в начале движения трактора и плавного нагружения их без останова двигателя;
— предохранение трансмиссии и двигателя от резких нагрузок при внешних изменениях режима работы трактора;
— кратковременная остановка трактора при работающем двигателе.
Во фрикционных сцеплениях, передача крутящего момента осуществляется посредством сил трения, возникающих между ведущими и ведомыми элементами.
Основные требования, предъявляемые к сцеплению МТЗ-82 (кроме общетехнических), следующие:
— Надежность передачи крутящего момента от двигателя в трансмиссию.
— Плавность включения сцепления, которая определяется плавностью роста нажимного усилия на парах трения.
— Полнота (или чистота) выключения сцепления, которая характеризуется отсутствием поводковых моментов.
— Малая величина момента инерции ведомых частей сцепления, что необходимо для быстрого останова вала при переключении передач.
— Хороший теплоотвод от поверхностей трения, улучшающий температурный режим работы в момент его включения и буксования при разгоне.
— Хорошая уравновешенность вращающихся частей, необходимая для уменьшения динамических нагрузок в деталях сцепления при больших частотах вращения вала двигателя.
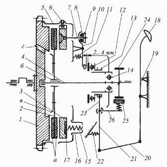
На рисунке 2 показана принципиальная схема однодискового постоянно замкнутого сцепления с остановочным тормозком.
Ведущими частями сцепления являются все детали, связанные с валом двигателя. К ним относят маховик 1 двигателя и нажимной диск 3, связанный с маховиком поводковым устройством 6 через кожух 5.
Ведомыми частями сцепления являются ведомый диск 2 в сборе с фрикционными накладками а, шлицевой ступицей 6 и маслоотражательными дисками в и ведомый вал 4.
Сцепление трактора работает следующим образом. При отсутствии усилия со стороны тракториста на педали управления 18 нажимные пружины 15, воздействуя на нажимной диск 3, прижимают ведомый диск 2 к маховику 1 двигателя.
При этом за счет сил трения между маховиком 1 и накладкой ведомого диска 2, а также нажимным диском (корзиной) 3 и другой накладкой ведомого диска сцепления МТЗ-82 крутящий момент через ведомый вал 4 передается в трансмиссию.
Передаваемый момент определяется размерами и фрикционными свойствами накладок ведомого диска 2 и усилием нажимных пружин 15.

Рис.2. Схема однодискового постоянно замкнутого сцепления МТЗ-82 с остановочным тормозком
1 — маховик с отверстием для удаления масла; 2 — ведомый диск в сборе с фрикционными накладками, шлицевой ступицей 6 и маслоотражательными дисками; 3 — нажимной диск; 4 — ведомый вал; 5 — кожух сцепления; 6 — поводковое устройство нажимного диска; 7 — отжимные болты; 8 — сферические опорные шайбы; 9 — регулировочные гайки; 10 — отжимные рычаги; 11 — оттяжные пружины рычагов; 12 — выжимной подшипник отводки; 13 — муфта отводки; 14 — задний подшипник вала; 15 — нажимные пружины; 16 — стакан крепления пружины; 17 — термоизоляционная прокладка под пружину; 18 — педаль управления сцеплением; 19 — упор положения педали; 20 — соединительная тяга; 21 — наружный рычаг привода управления; 22 -возвратная пружина привода управления; 23 — рычаг привода муфты отводки; 24 — тормозной шкив вала; 25 — тормозная колодка с пружинным приводом; 26 — рычаг привода тормозка
При включенном сцеплении между выжимным подшипником 12 отводки и отжимными рычагами 10 имеется зазор 2…4 мм.
При нажатии на педаль 18 управления сцепления усилие через соединительную тягу 20 передается на наружный рычаг 21 привода управления и далее через рычаг 23 на муфту 13 отводки, которая, перемещаясь вместе с выжимным подшипником 12 в направлении маховика 1 сначала выбирает зазор между выжимным подшипником и отжимными рычагами 10, а затем воздействует на отжимные рычаги.
Отжимные рычаги 10, поворачиваясь относительно неподвижной оси, через сферические опорные шайбы 8, регулировочные гайки 9 и отжимные болты 7 перемещают нажимной диск 3 в направлении от маховика 1, преодолевая усилие нажимных пружин 15.
При появлении зазоров между ведомым диском 2 и корзиной сцепления МТЗ-82 крутящий момент от двигателя на ведомый вал 4 не передается (сцепление выключено).
Однако по инерции ведомые части сцепления (ведомые диск 2 и вал 4) продолжают вращаться, что затрудняет процесс последующего переключения передачи в коробке передач. Для устранения этого недостатка применяют специальный остановочный тормозок.
В рассматриваемой схеме тормозок состоит из тормозного шкива 24, жестко связанного с ведомым валом 4 ФС, тормозной колодки 25 с пружинным приводом и рычага 26 привода тормозка, жестко связанного с наружным рычагом 21 привода управления.
Кинематика привода управления сцеплением выполнена так, что при нажатии на педаль 18 управления сначала выключается сцепление, а затем последовательно через рычаг 26 колодка 25 с пружинным приводом прижимается к тормозному шкиву 24.
В результате за счет сил трения между колодкой 25 и шкивом 24 вал 4 сцепление останавливается, что обеспечивает возможность безударного переключения передач в коробке передач.
При отпускании педали 18 управления сцеплением за счет усилия нажимных пружин 15 нажимной диск 3, перемещаясь в сторону маховика 1 двигателя, прижимает ведомый диск 2 к маховику, что приводит к включению сцепления.
Усилие нажимных пружин 15 передается на педаль управления 18 последовательно через нажимной диск 3, отжимные болты 7, отжимные рычаги 10 на выжимной подшипник 12 и муфту отводки 13, через рычаги 23 и 21 и соединительную тягу 20.
В начальный момент перемещения нажимного диска (корзины) сцепления МТЗ-82 в сторону маховика 1 освобождается тормозной шкив 24 за счет отвода тормозной колодки 25, а затем происходит включение.
В момент появления зазора между отжимными рычагами 10 и выжимным подшипником 12 все усилие нажимных пружин 15 направлено на сжатие ведомого диска 2 между ведущими дисками сцепления.
Дальнейшее перемещение педали 18 до упора 19 осуществляется за счет усилия возвратной
пружины 22 привода управления.

Рис.3. Сцепление МТЗ-82 с прямой установкой разрезной тарельчатой пружины
1 — разрезная тарельчатая пружина; 2 — нажимной диск; 3 — кожух; 4 — выжимной подшипник; 5 — маховик двигателя; б — тангенциальная пластина; 7 — ведомый фрикционный диск
Для фиксации отжимных рычагов 10 в одном положении при включенном сцеплении в конструкции предусмотрены оттяжные пружины 11, усилие которых направлено в сторону противоположную усилию нажимных пружин 15.
Это исключает возможность свободного болтания рычагов вокруг своей оси и обеспечивает заданный зазор между рычагами 10 и выжимным подшипником 12.
Для обеспечения необходимой кинематики работы механизма выключения сцепления (точки контакта отжимного рычага 10 с отжимным болтом 7 через шайбу 8 и регулировочную гайку 9 при повороте рычага перемещаются по радиусу) отжимные болты 7 с нажимным диском 3 и отжимной рычаг 10 с шайбой 8 контактируют по сферам.
В процессе включения и выключения сцепления его детали нагреваются. При нагреве пружин происходит релаксация материала (потеря упругих свойств), что может привести к существенному снижению момента трения и потере ее работоспособности (не сможет передавать крутящий момент двигателя в трансмиссию).
При буксовании сцепления накладки ведомого диска 2 изнашиваются. В результате корзина сцепления МТЗ-82 перемещается в сторону маховика 1, в следствие чего уменьшается зазор между отжимными рычагами 10 и выжимным подшипником 12. Пока есть зазор, все усилие нажимных пружин передается на корзину (нажимной диск).
При упоре отжимных рычагов 10 в выжимной подшипник 12 часть усилия нажимных пружин передается на подшипник, что приводит к уменьшению момента, передаваемого сцеплением и потере его работоспособности.
Поэтому в эксплуатации тракторист следит за величиной этого зазора и регулирует его при техническом обслуживании трактора.
На нажимные пружины 15 при их вращении вместе кожухом 5 сцепления действуют центробежные силы, направленные от центра вращения по радиусу.
В результате пружины прогибаются, что приводит к уменьшению создаваемого ими усилия на нажимной диск 3. Для уменьшения влияния центробежных сил на прогиб пружин их часто устанавливают в специальные стаканы 16.
